苹果多项汽车专利曝光,神奇车窗能帮助保护个人隐私
编者按:本文来自“腾讯科技”,审校:金鹿,36氪经授权发布。
据外媒报道,当地时间周二,美国专利商标局授予苹果一系列与汽车设计相关的专利。人们普遍认为,该公司正在研发代号为“泰坦计划”(Project Titan)的某种汽车产品或服务,最有可能的是苹果品牌的汽车。随着时间的推移,最新的专利为苹果提出的大量设计增添了新的创意。
保护隐私车窗
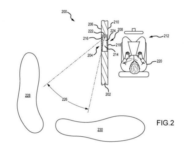
苹果获得的新专利包括“具有同步车窗的系统”,即车主如何通过控制车窗来保护隐私。
在专利中,苹果认为车窗玻璃上可以安装光调制器层,例如由带有偏振器并用液晶材料制成的光调制器层,用于可变反射率的胆甾型液晶层,以及使用聚合物分散液晶层的可调节雾化层等类似东西。无论材质如何,此举都是通过创建可控制层来调整光线通过车窗的方式。
苹果建议同时采用车内和车外光源,可以用“交流调制波形”进行调制,这样就不会影响乘客的视力。例如,车内灯可以特定的控制方式每秒多次打开和关闭,频率非常之快,以至于用户无法察觉照明状态发生了变化。

基于时间的图表显示,当光线明亮时,窗口层设置会使光线暗淡,反之亦然
虽然用户看不到这种变化,但是可以使车内灯打开和关闭与车窗光调制器层的激活和关闭相一致。就像光的状态一样,足够快地改变车窗光调制层的状态会让用户觉得它是透明的。
通过在激活或关闭车窗层的同时定时开启和关闭车灯,这可能促使光照亮车辆内部的同时,车窗上的调制器层会阻止光通过窗户扩散到外面。在另一种状态下,车窗会允许光线通过,但内部灯源会熄灭。
实际上,这意味着乘客会看到车内的灯光和被它照亮的东西,而车外的人则看不到。
苹果之前曾研究过使用光线来提供隐私保护的可能性,但那种方案是通过使用基于波段的光线,而不是快速切换使用时间。今年5月,一项专利描述了如何使用特定波段的光来照亮车内,但车窗可以选择性地阻挡特定波段内的光线,同时允许其他光线通过,从而产生类似的效果。
这项专利的发明者是马丁·梅尔彻(Martin Melcher)、詹姆斯·威尔逊(James Wilson)、克拉丽斯·马祖伊(Clarisse Mazuir)和大卫·金曼(David Kingman)。
其中,梅尔彻是苹果的高级产品设计工程师,曾在Apple Watch Series 4和Apple Watch Series 5上帮助开发ECG电极。梅尔彻名下的专利主要由基于光的应用组成,包括前述的室内照明专利、带有可加热涂层的透明窗格、带有隐形图案导电层的窗户以及光散射薄膜等。
威尔逊也是一名高级产品设计工程师,具有材料方面的专业知识。在他的职业生涯中,相关专利包括具有红外透明单向反射镜、纹理光散射薄膜、嵌入陶瓷颗粒的表面玻璃以及高亮度表面的设备。
马祖伊是苹果SPG照明和传感器技术开发的领导者。她的名字与具有纹理光散射膜的系统、可调照明系统、车辆座椅灯以及该领域的其他系统专利相关。
产品设计工程师金曼已经涉及了相当多的汽车相关专利,如可调照明系统、可伸缩保险杠以及较早的捆绑灯专利。
侧视镜
苹果的第二项专利名为“用于改善车辆侧视镜功能的系统”,其中提供了几种改进侧视镜设计的方法。主要的专利详细说明了如何最小化车辆的宽度,要么在需要时让侧视镜收回去,要么完全替换它们。
在第一种方案中,侧视镜会附在一个执行器上,这与当今某些类型的侧视镜功能类似。平时隐藏在车身中,在旅行的开始时再展开。苹果提出,与其在开始或结束时就这么做,不如让它始终保持不变,苹果建议它可以在整个过程中改变侧视镜的位置。
通过使用指向司机面部的摄像头传感器,系统可以通过查看面部特征的方向来监控司机的头部运动。如果摄像机确定司机正朝镜子的方向看,则向侧视镜发送信号,使其启动到位,并在不需要时收回。

嵌入汽车车身的侧视镜
第二种实施方式是集成侧视镜,该侧视镜安装在车体内,并且利用每侧上的光学元件来向驾驶员提供外部视图。苹果设计提供的视图将足以让司机看到附近的元素,类似于正常的外部安装侧视镜。
第三种方案是完全移除侧视镜,并用监视器取而代之。在司机习惯于寻找侧视镜的地方,连接到车辆内部的显示器将提供安装在车辆后部的摄像头提供的实时视频馈送,从而提供通常被镜子反射所覆盖的区域的视图。
系统将对图像进行处理,以创建与驾驶员期望从侧视镜中看到的图像相似的场景,而不是直接提供实时视频,因为摄像头的位置和视场都将不同。

使用显示器和摄像头的侧视镜
与传统侧视镜提供的反射图像相比,苹果设计的系统将提供更宽的视野,并帮助驾驶员看到通常被挡住的车辆后面区域。
这项专利列出的发明者包括David G Havskjold、Arthur Y.Zhang、Hyungryul Choi、Matthew E.Last和克拉丽斯·马祖伊(Clarisse Mazuir)。
作为产品设计工程师,David G Havskjold是许多专利的共同发明人,包括电子设备的覆盖玻璃布局、照明系统的隐藏信号路径、零售装置以及隐形连接器等。
Arthur Y.Zhang是苹果的显示器专家,与涉及各种屏幕的专利有关,例如存储像素亮度值的长期历史以补偿老化的影响、环境光颜色补偿以及增强现实环境中的照明等。
Hyungryul Choi是一名工程经理,在苹果公司从事显示器和光学技术工作,他的专利清单基本上在同一领域,包括可切换薄膜结构显示器、车辆平视显示器以及汽车的主动眩光抑制系统等。
Matthew E.Last曾是苹果工程经理,他参与过特别项目组,但现在受雇于Waymo。不出所料,这位经理也与许多汽车专利有关,包括汽车座椅的照明系统、有哑光红外透明层的系统、自主导航系统、安全的储藏室以及平视显示器。
苹果每周都会提交大量专利申请,但尽管申请的存在表明了公司研发工作的兴趣领域,但不能保证所描述的概念会出现在未来的产品或服务中。
相关推荐
苹果多项汽车专利曝光,神奇车窗能帮助保护个人隐私
最前线丨造车四年没有成果?苹果又有新动作:更新两项汽车设计专利
70项专利解密苹果汽车:脑洞太大,特斯拉都追不上
最前线丨苹果Apple Car多项专利曝光,不只是要做自动驾驶
苹果获得汽车侧视镜专利,智能汽车再无盲点
最前线丨Apple Car新专利曝光:车门可以检测后方来车,AR系统帮忙防晕车
最前线 | 苹果新专利曝光,或用两块屏幕实现可折叠手机
苹果造车之心不死:1年新增30项专利,各个都是黑科技
苹果新专利曝光,打算入局折叠屏市场
最前线 | 苹果环绕屏专利曝光,小米MIX α 遭遇劲敌
网址: 苹果多项汽车专利曝光,神奇车窗能帮助保护个人隐私 http://www.xishuta.cn/newsview13719.html
推荐科技快讯
- 1问界商标转让释放信号:赛力斯 95792
- 2报告:抖音海外版下载量突破1 25736
- 3人类唯一的出路:变成人工智能 25175
- 4人类唯一的出路: 变成人工智 24611
- 5移动办公如何高效?谷歌研究了 24309
- 6华为 nova14深度评测: 13155
- 7滴滴出行被投诉价格操纵,网约 11888
- 82023年起,银行存取款迎来 10774
- 9五一来了,大数据杀熟又想来, 9794
- 10手机中存在一个监听开关,你关 9519
