最前线 | 苹果新专利曝光,或用两块屏幕实现可折叠手机
苹果如果制造折叠屏手机,可能会采用完全不同的双屏方案。
据AppleInsider消息,苹果正在研究使两个或更多设备靠近时可以协同工作的技术,该技术能制造出不使用弯曲屏幕的可弯曲iPhone。当两台设备相邻放置时,图像能够在设备间跨屏延伸,扬声器也能播放音轨的不同通道,摄像头和其他传感器可能会互相配合使用,其他资源也可以共享。
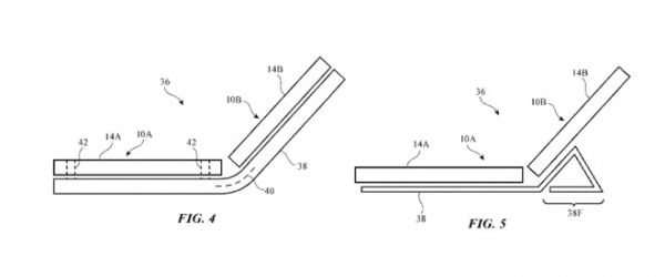
在专利文件中,一个系统可以同时使用多个电子设备。电子设备可以用传感器或其他信息来检测第一个电子设备的边缘何时与第二个电子设备的边缘相邻。为此,苹果还建议使用磁性元件,将设备以各种方式固定在一起。
“诸如蜂窝电话之类的电子设备经常被隔离使用,但这可能无法令人满意。例如,当向用户展示视频或书籍时,独立运行的设备将无法互相帮助。”在专利的描述中,两台不同类型的设备(蜂窝电话、平板电脑等)可以彼此连接,一旦拿起一台便又恢复独立工作。

苹果申请的美国专利第10585708号“具有多个电子设备的系统”,图片来自AppleInsider
在折叠手机方面,苹果于上周刚被曝光另一项专利,名为“电子设备的可折叠盖子和显示屏”(Foldable cover and display for an electronic device)。该专利中,苹果建议在同一设备内使用柔性覆盖层和柔性显示层。覆盖层在被称为“可折叠区域”的地方弯曲,可以使用玻璃、金属氧化物陶瓷或其他陶瓷材料来构建。

同时,这样的设备可能还包含一个柔性外壳,来保护屏幕和硬件,并应对手机打开和关闭的严格要求。
值得一提的是,苹果每周都会提交大量的专利申请。这些专利并不能保证一定会使用在苹果未来的产品或服务中。但折叠手机确实是苹果长期关注的领域,比如在2月曝光的美国专利第20200057525号,就描述了一种具有环绕式触摸屏的全玻璃iPhone。

相较于制造可弯曲屏幕,苹果此次申请的专利颇为有可能应用在产品中。微软去年发布的双屏手机Surface Duo就采用类似的设计:两块独立的屏幕以一根转轴连接,可以固定成不同的状态,预计在2020年圣诞节期间上市。
题图来自unsplash.com
相关推荐
最前线 | 苹果新专利曝光,或用两块屏幕实现可折叠手机
最前线 |苹果折叠屏专利曝光:或解决可折叠屏折痕问题
最前线丨消息称苹果正开发可折叠iPhone,无刘海、两块屏拼接
最前线 | 三星折叠手机新专利曝光,屏幕可折成“Z”字形
最前线 | 三星折叠手机卖了50万部后,又在开发可折叠平板电脑
最前线 | 苹果环绕屏专利曝光,小米MIX α 遭遇劲敌
最前线 | 小米折叠手机专利曝光:5个弹出式摄像头
苹果折叠手机越来越近?专利显示或解决可折叠设备折痕问题
最前线 | 华为手机专利曝光:双翻转摄像头实现“真·全面屏”
最前线 | 摩托罗拉出了款造型奇特的可折叠手机,像功能机一样竖着翻盖
网址: 最前线 | 苹果新专利曝光,或用两块屏幕实现可折叠手机 http://www.xishuta.cn/newsview18988.html
推荐科技快讯
- 1问界商标转让释放信号:赛力斯 95792
- 2报告:抖音海外版下载量突破1 25736
- 3人类唯一的出路:变成人工智能 25175
- 4人类唯一的出路: 变成人工智 24611
- 5移动办公如何高效?谷歌研究了 24309
- 6华为 nova14深度评测: 13155
- 7滴滴出行被投诉价格操纵,网约 11888
- 82023年起,银行存取款迎来 10774
- 9五一来了,大数据杀熟又想来, 9794
- 10手机中存在一个监听开关,你关 9519
