苹果折叠手机越来越近?专利显示或解决可折叠设备折痕问题
编者按:本文来自界面新闻,作者 郑超前,36氪经授权发布。

图片来源:图虫
苹果在可折叠设备的研发上有了新进展。
2月4日,据cnBeta.COM报道,苹果公司本周获得了一种“具有柔性显示器和铰链的电子设备”专利,其核心思想是允许将柔性显示屏弯曲到足以使设备对折的程度,但却不会使屏幕出现折痕。

图片来源:MacRumors
这一构想或许可以有效地解决可折叠手机折叠部分的折痕问题。
2019年4月,三星首次推出了全球首款折叠屏手机三星Galaxy Fold,但在媒体的上手评测体验中,屏幕展开后折叠处的折痕清晰可见。而在手机的说明书和包装盒上,三星也明确强调内屏中央的折痕是手机的正常特性。这个问题在华为折叠屏Mate X上也同样存在。
一直到2019年11月,摩托罗拉正式发布了Moto Razr,采用了与三星完全不同的折叠部分设计,在屏幕两侧容纳铰链以便在手机折叠时为完美的折叠曲线留出空间,解决了折叠处的折痕问题。美中不足的是,设备在展开或折叠时则会发出吱吱的声音。
而今,苹果在可折叠设备的折痕问题上再次给出了一种解决方案。
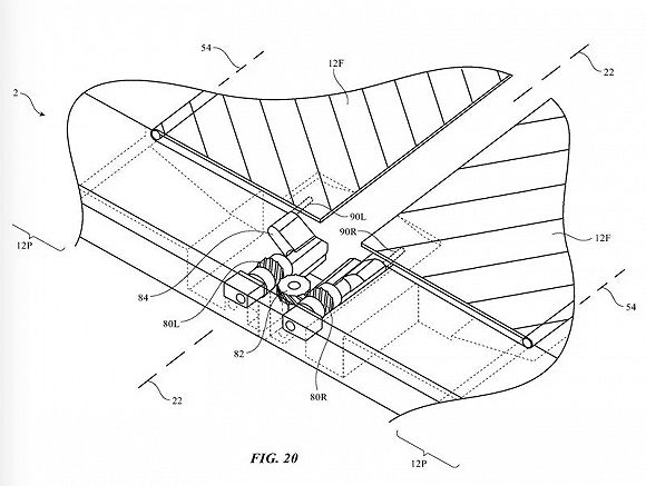
据专利文件显示,苹果设计的铰链机构可以让显示器的第一部分和第二部分充分分离。在内部,铰链可控制显示屏的移动,从而在铰链处弯曲,使用空隙部分为屏幕提供扩大弯曲所需的空间。机架和齿轮装置可用于保持外壳和显示屏与静态区域中每个折叠元件的距离,以及强制实现所需的弯曲半径。展开时,可伸缩的翻盖可以在内部延伸以支撑该位置的显示屏,因此,按一下手指不会影响屏幕的位置,也不会使屏幕疲劳,超出正常使用的范围。

图片来源:MacRumors
尽管尚未推出任何可折叠设备,但苹果公司早就开始在这个领域进行多方面的研究。据patentlyapple报道,苹果在可折叠技术专利申请历史可以追溯到 2011 年,涉及了柔性显示器、铰链、控制电路等多项内容。
在技术成熟之后,苹果或许会在可折叠设备上再次给用户们带来惊喜。而据国外媒体此前的报道,可折叠iPhone在2021年推出的可能性较大,苹果公司或将先推出一款可折叠的iPad产品。
相关推荐
苹果折叠手机越来越近?专利显示或解决可折叠设备折痕问题
最前线 |苹果折叠屏专利曝光:或解决可折叠屏折痕问题
最新专利显示苹果可折叠iPhone或iPad具有柔性外壳
苹果正在开发的“折叠屏”手机,其实是“折叠手机”?
最前线 | 苹果新专利曝光,或用两块屏幕实现可折叠手机
最前线 | 取代iPad mini?外媒称苹果将于2022年发布折叠屏iPhone
外媒称苹果正在打造折叠屏iPhone,新专利显示方案比华为三星更实用
苹果新专利曝光,打算入局折叠屏市场
可折叠屏手机,一种不被消费者需要的产品
科技神回复 | 苹果申请折叠手机专利,就跟两个手机拿胶布粘在一起
网址: 苹果折叠手机越来越近?专利显示或解决可折叠设备折痕问题 http://www.xishuta.cn/newsview17132.html
推荐科技快讯
- 1问界商标转让释放信号:赛力斯 95792
- 2报告:抖音海外版下载量突破1 25736
- 3人类唯一的出路:变成人工智能 25175
- 4人类唯一的出路: 变成人工智 24611
- 5移动办公如何高效?谷歌研究了 24309
- 6华为 nova14深度评测: 13155
- 7滴滴出行被投诉价格操纵,网约 11888
- 82023年起,银行存取款迎来 10774
- 9五一来了,大数据杀熟又想来, 9794
- 10手机中存在一个监听开关,你关 9519
