70项专利解密苹果汽车:脑洞太大,特斯拉都追不上
编者按:本文来自微信公众号“车东西”(ID:chedongxi),作者:James,36氪经授权发布。
一年一度的苹果全球开发者大会WWDC将在23日凌晨正式举办,近期无论是苹果的软件还是硬件产品,都有不少新消息爆出。
一直保持神秘的苹果“泰坦”汽车项目也是如此。
5月底,有报告说今年苹果将在汽车项目上投入190亿美元(约合1330亿元人民币)研发,要知道,全球汽车行业全年的研发经费也就800亿~1000亿美元(约合5600亿~7000亿元人民币),苹果一家公司就占了五分之一到四分之一。
此外,苹果近期又获得了几项有关自动驾驶的专利,让苹果的汽车专利不断充实。根据车东西的不完全统计,苹果从2017年至今已经获得了近70项汽车专利,而今年过半,已经至少获得了16项汽车专利。并且,无论在自动驾驶、电动汽车、车内软件、车身、安全保障方面都有涉猎,可以说涵盖了造车的方方面面。

▲今年以来苹果获得的汽车专利
那么苹果在汽车领域到底在做什么?苹果有哪些创造性的想法和设计?会对汽车行业做出怎样的改变呢?
车东西从苹果今年新获得的专利中发现,苹果所获专利中一部分是关于自动驾驶和电动汽车的,还有车门、悬架等车身结构的,数量最多的则是车内体验的专利,今年共获得了7项,占比接近一半。同时,苹果今年获得的专利中,有不少是对此前专利的更新迭代(可参考车东西此前文章《苹果造车之心不死!1年新增30项专利,各个都是黑科技》)。
这就说明,苹果一心想造一辆能够自动驾驶的电动汽车,并且拥有智能的软硬件交互体验,同时还能有很高的安全性以及舒适的驾乘感觉。从专利来看,苹果造车很有目的性,并非天马行空。
苹果年投1300亿研发汽车 拿下近70项专利
近日,研究机构摩根士丹利发布了一份投资者报告,资深分析师Katy Huberty在报告中表示,如今特斯拉和苹果两家科技界的巨头不太可能成为合作伙伴,而很可能成为竞争对手。此外,报告还预测了苹果汽车项目未来发展的路线。
Katy Huberty预测,苹果今年将在汽车项目上投入190亿美元(1330亿元人民币)的研发经费。
这里做一个比较,全球汽车行业全年的研发经费在800~1000亿美元之间(大约5600亿~7000亿元人民币),苹果今年的研发经费就相当于整个汽车行业的20%~25%。
另外,与五年前相比,苹果在汽车项目上的研发经费增加了100亿美元以上。也就是说,苹果在五年时间内在汽车项目上的投入已经翻倍。
Katy Huberty认为,苹果的汽车项目不会局限于“高级版的CarPlay”,而是面向更大的平台,这样苹果能在硬件、软件上实现更灵活的控制,并且也能为用户提供更好的服务。
此外,Katy Huberty还认为,如今的特斯拉与20年前刚发布iPod时的苹果公司非常相似,因为特斯拉在汽车领域的创新非常迅速,且这个领域需要大量的创新,这就会引起投资者的兴趣。
她在报告中预测,参照特斯拉现在创新的趋势和速度,未来几年苹果和特斯拉之间很可能形成竞争关系,而不会让两家公司成为合作伙伴。
这一报告发布之后,苹果前高管Jean-Louis Gassée在《Modaynote》发文说,虽然苹果为汽车的研发大量投资,但现实是残酷的,苹果不一定能造出汽车,他的理由主要有两点。

▲苹果前高管Jean-Louis Gassée的文章
一是苹果要造车,就得先建厂,但现在没有任何消息显示苹果有建造汽车工厂的计划。因此,造车并不是苹果短期或中期的计划,而是一项长期计划。
二是苹果造车,利润如何保证?看特斯拉的财报就能发现,虽然特斯拉在新能源车中卖的最好,但特斯拉还没有一年实现全年盈利。如今,特斯拉靠不断降低制造成本希望实现盈利,但苹果没有造车经验,又如何能降低成本呢?
苹果前高管Jean-Louis Gassée的文章可以说给苹果的汽车项目当头一闷棍。不过,虽然外界的猜测、批评不断,但从2017年以来,苹果至少已经获得70项专利,这就能表明苹果造车从来就没暂停过。

▲2019年至今苹果获得的汽车专利
今年苹果获得的汽车专利中,有不少都是之前专利的迭代,例如在CarPlay在液晶仪表中显示、如何更节省空间地开关车门、如何调节悬架提高乘坐舒适感……从专利的一次次迭代中,能看到苹果对车内体验的重视以及对未来出行方式的探索。
此外,这些专利的一次次迭代,也让这辆还未面世的苹果汽车渐渐有了雏形。随着越来越多专利细节被披露,相信苹果汽车将离我们越来越近。
自动驾驶怎么搞?传感器互通 还能自动充电
本月初,苹果获得了两项有关自动驾驶的专利。其中一个是自动驾驶传感器之间的数据共享,允许不同传感器之间在运算数据过程中互相纠错;另一项专利是车辆可以自动驾驶连接到充电接头,自动开始充电。
这两项专利是苹果为数不多的自动驾驶和充电方面的专利,也引起了许多讨论。
1、全车传感器联动 能互相检查错误
根据美国专利及商标局发布的信息,苹果公司在6月2日获得了这项专利,专利名称是“在传感器数据处理过程中共享数据”,也就是说,苹果希望在传感器采集信息之后,进行数据共享,让自动驾驶的决策过程更加精准。
在当前大多数自动驾驶车辆中,通常都带有多个传感器,例如激光雷达、毫米波雷达、超声波雷达、摄像头,以及参与车辆控制的加速度传感器,参与方向控制的角速度传感器。这些传感器拥有不同的探测本领,实时观察车辆周围和前方的路况信息。
在收集数据后,传感器产生的图像信息,深度信息都将发送到自动驾驶计算电脑进行计算,根据计算结果车辆才能做出在速度和方向的决策。
不过,图像信息是二维平面,雷达信息带有纵向深度,加速度传感器生成加速度信息,这些信息无法同时进行处理或比较。
因此,通常自动驾驶车辆的计算电脑会分别处理传感器搜集到的数据,计算输出最终结果之后,车辆才会对速度和方向进行决策。
虽然通过这种方式能控制自动驾驶车辆,但如果决策不当,很可能导致车辆驾驶策略的混乱。例如,在10年前谷歌自动驾驶公司Waymo的车辆通过路口时就出现了这样的混乱场面。

▲十年前Waymo自动驾驶车辆通过路口时决策混乱
随着自动驾驶决策的不断进步,操作混乱的场面已经基本没有了,但操作失误还是时有发生。
回到苹果的这项专利,既然每个传感器分别输出结果可能不准确,且多个数据无法在同一平台计算,那就只能在计算过程中加入纠错机制防止错误发生。
苹果工程师找到了一种方法,既然原始数据无法比较,最终输出的数据综合起来又能够控制车辆,那么在计算过程中的数据就是逐步接近最终数据的。也就是说,在计算过程中的数据放在一起就能够互相纠错。
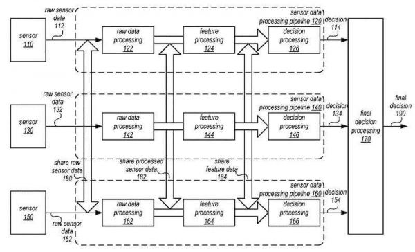
在输入数据之后,会经历三个步骤,分别是原始数据处理、特征处理和决策处理。苹果希望在这三个步骤处理前后,都加入数据共享的机制,随时对数据的准确性进行检查,这样一来,就能够在计算过程中及时发现错误。

▲专利流程图
在计算过程中,不同传感器之间有哪些数据可以共享呢?
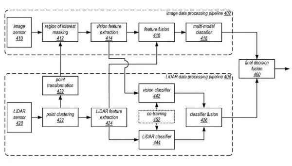
苹果在专利文件中用激光雷达和摄像头两个传感器进行举例。
例如,激光雷达的一部分投射点与摄像头的捕捉画面的关键区域(例如画面的下半部分更容易出现路况变化)之间就能建立联系。另外,摄像头的视觉特征的分类与激光雷达对物体的分类就能同时进行。激光雷达的特征识别和摄像头的特征融合,也能进行数据交换。

▲苹果举出摄像头和激光雷达数据共享机制
在最终计算结果输出之前,摄像头与激光雷达之间的数据已经“互相检查”三次,出错的可能性大幅降低。
除了这两种传感器之外,苹果还希望红外线、毫米波雷达、超声波雷达、GPS、加速度传感器和角速度传感器等多种传感器共同融合,对自动驾驶进行更精确的计算。
实际上,苹果从开始进行造车项目以来,就一直在申请自动驾驶方面的专利,包括隐藏激光雷达、识别交警手势、“置信”算法加快计算速度,甚至还能观察乘客的心理变化调整车辆的驾驶模式。
2、自动驾驶去充电再也不怕电量耗尽
今年5月,苹果获得了一项名为“具有自动对准装置的充电站”的专利。这项专利中指出,电动汽车可以自动驾驶到充电站并自动插入插头充电。
与通常的“充电枪”充电方式不同,苹果的这种充电器固定安装,车辆对准插头并对接好就能开始充电。

▲自动驾驶充电原理图
实际上,自动驾驶去充电还比较简单,但能成功对准插头还是一个非常困难的事情。因此,苹果的充电桩充电接口能够进行上下左右调节,尤其在车辆角度不正的时候能更快速地连接电源。

▲可以调节高度和角度的充电插头
在电动汽车不断普及的今天,充电、续航的问题一直没有得到妥善解决,这也是许多消费者不选择电动汽车的原因之一。如果车辆能自动驾驶去充电,电动车充电的痛点至少解决了一半。
此外,从专利图片可以看到,电动车的草图并不像家用轿车,外观上更像无人配送车或者小型巴士。这类车型如果配上自动驾驶充电的装置,对无人配送和出行行业都会有巨大的改变,至少业内员工不用再为充电发愁。
不过,苹果专利中充电的金属触点暴露在空气中,如果出现刮风下雨的天气,沾水的触点更容易发生漏电危险,不知道苹果会怎样解决这个问题。
从这两个专利中可以发现,苹果在做自动驾驶的过程中,从用户体验的角度出发,解决车辆使用中的种种痛点。结合此前隐藏激光雷达、在恶劣天气条件下的景物识别,都能反映出苹果对自动驾驶非常重视。甚至可以说,没有自动驾驶的苹果汽车就没有灵魂。
内饰怎么做?CarPlay连仪表 车窗能变色
在车内的驾驶体验上,苹果也下了大功夫。车内氛围、车内灯光,以及车内的虚拟现实、增强现实系统都在苹果的开发范围内。在苹果的设想中,未来的自动驾驶车辆将成为人们的一个移动空间,而不仅仅是一个出行工具。今年以来,苹果在车内空间的设计上也没少下功夫,液晶仪表显示CarPlay内容,车内座椅、地板信息显示,同时还能调节车窗的颜色、反射率,看起来都非常有科技感。
随着自动驾驶的不断升级,车内空间对于人们来说还将有一个质的提升。在自动驾驶愈加普及之时,车内空间是否人性化或将成为各大车企竞争的另一个核心。
1、液晶仪表将成为CarPlay第二屏
2014年苹果推出了CarPlay,驾驶员可以在车内使用手机映射的车机系统。此后,虽然CarPlay有软件上的功能更新,但只能在车机中控屏幕上显示,车辆的其他屏幕都不能显示CarPlay内容。
这就让使用CarPlay的驾驶员不得不将视线切换到车机中控屏幕才能查看和操作,让驾驶过程的危险系数增加。

▲目前CarPlay只能单屏幕显示
在今年3月苹果获得的一项专利中,苹果就尝试将CarPlay从一屏扩展到多屏,甚至在液晶仪表中也能使用CarPlay了。

▲液晶仪表也将支持显示CarPlay内容
如果在液晶仪表中显示信息,字体、画面要更大,信息要更凝练。例如,在导航过程中,液晶仪表就会显示导航的路线和方向。需要转弯时,就显示一个转弯的符号,这样更容易辨识。
实际上,这项功能非常容易实现,只是和各大液晶仪表显示厂商的协调上会比较缓慢。如果一切顺利,这项功能很可能在苹果汽车出现之前就能提前享受。
2、车窗随时随地调颜色和透明度
除了非常实用的液晶仪表显示CarPlay内容之外,苹果还获得了一个车窗的专利,车窗可以根据乘员的需求调节颜色、反射率和透明度,既可以保证车内隐私,也能调节车内氛围。
根据专利文件的描述,苹果在车窗玻璃中插入了多个隔层,这些隔层分别负责调节车窗颜色、反射率以及是否调节成雾面。

▲车窗调节可提供不同的组合
这项功能对于未来出行也算是个刚需产品。如果在车内开个工作会议,但不想让老板知道自己在哪的话,就可以把窗户全部调整成雾面。在周末野外郊游的时候,可以把车窗颜色进行调整,让车内的气氛更加活泼。
从现售的苹果产品中其实也能看到这一点,软硬件的交互、设备间的协同是苹果最重视的体验之一。既然车机屏幕能显示导航信息,为什么液晶仪表不能显示呢?既然想要保证车内隐私,车窗为什么不能改变颜色和透明度呢?这些能在车内提升体验的小细节虽然不那么引人注目,但真装装进车内,相信对驾乘体验是个不小的提升。
汽车硬件怎么改?车门向上开,悬架变智能
除了自动驾驶,苹果实际也非常注重实际的用户体验,拿现在苹果最“不值得买”的产品之一——显示器支架来说,7799的售价和高端家用显示器本体的售价相当。在2019年WWDC上发布时,轻描淡写地说了一句Pro Stand卖999美元(约合7000元人民币),还是引来全场哄笑。

▲2019年WWDC上发布的Pro Stand显示器支架
可是,当你真正体验Pro Stand之后,就会发现其他显示器支架真的非常难用。
这个显示器支架可以让你用一根手指调整重达7.5kg的显示器,这对于使用显示器的任何一个群体来说都是非常友好的。但是,即便苹果在发布会上展示了显示器支架的解剖图,大多数人还是不知道这东西好在哪。

▲2019年WWDC上展示的Pro Stand内部结构
苹果的汽车专利可能也是如此。从2019年开始,苹果先后获得了四项有关车门的专利、三项有关悬架的专利。虽然这两个部件算是汽车结构中比较成熟的部件了,但苹果似乎一点都不满足。
1、节省空间 车门选择向上开启
2019年5月和6月的两项专利中,苹果对车门的结构,开合的方式进行规定,而在去年9月的专利中,开始注重车门铰链设计。
在这份专利中,苹果似乎想要把车门的铰链做成类似MacBook笔记本电脑铰链一样顺滑。同时,苹果还为车门加入传感器,如果车外有危险情况,车门会给乘员一个力反馈,防止发生危险。
其实,这也不算什么。苹果今年5月获得的另一项车门专利,从图片上看,精细程度远超此前的专利。
在现售乘用车中,车门主要有三种开合方式。第一种是向外开门,第二种是商务车常用的滑动车门,第三种是鸥翼式车门。这三种开门方式仅有滑动车门最节省空间,苹果也希望使用这种方式。不过,苹果不想让车门向后滑,而是向上滑。

▲苹果专利中车门的结构
从专利说明中可以看出,这一车门可以让车门向车辆顶部旋转,这样一来,既不会占用车辆左右两侧的空间,也不会占用车辆上方空间。这样看来,苹果似乎想要对开关车门的方式来一个大的创新。

▲车门打开状态
可是,从图片上看还是有一个问题,车门的组件这么复杂,在车内如何保持美观呢?这可能是在制造过程中苹果不得不考虑的一件事。
2、实时识别路况调整悬架
除车门之外,悬架也是苹果一直心心念念的一个车身部件。2019年5月和7月,苹果分别获得了两项汽车悬架专利。此前,苹果希望通过调整悬架的软硬提升不同驾驶状态下乘员的乘坐舒适度,甚至还能减缓乘员晕车的状况、减少轮胎的磨损。
今年2月,苹果再次获得了一项悬架专利,名称是“主动悬架系统”,车辆在检测当前道路状况后,会主动调节悬架,让车内乘员乘坐始终保持舒适状态。

▲车辆悬架剖面图
具体来说,如果行驶在沙石等不平整的路面时,车辆的悬架就会主动调节,让车轮上下跳动中的能量尽可能让车轮吸收,而不是传导到车内,这样乘坐舒适度就会更高。
此外,苹果也在这一专利中特别说明,即便车辆使用自动驾驶系统行驶,也能根据路况调整悬架。
这里可以推导两个事实:一是苹果真的要做自动驾驶汽车,二是苹果的自动驾驶是全方位的,不仅能自己开,其他参数也能自己调整。与其他自动驾驶系统的智能化系统相比,可谓更上一层楼。
无人车如何解决安全问题?将气囊塞入安全带
除了细节方面,苹果对车内安全性能也十分重视,在今年新获得的专利中,有关驾驶、乘坐安全的共有三项。其中,有关安全气囊的专利非常引人注目。
苹果在今年5月12日获得的一项专利中,描述了车内乘员面对面乘坐时发生碰撞事故后车辆采取的措施。
在传统乘用车的座位排布中,前一排的座椅靠背往往能为后排乘客提供缓冲,在发生碰撞时能在一定程度上保证乘客安全。但苹果设计的一款车辆采用面对面的方式乘坐,如果发生碰撞或者急刹情况时,两名乘客可能撞到一起,很可能两人同时受伤。
因此,苹果希望能在两人中央弹出安全气囊,保护乘员安全。
不过,即便是安装安全气囊,也没有那么简单。如今,大多数车型都配备了方向盘的主驾驶安全气囊、中控台安全气囊,这些气囊或有方向盘,或有中控台的支撑。在发生碰撞时,安全气囊不会发生偏移失去缓冲效果。
而面对面乘坐的两名乘客之间没有任何支撑表面,即便安全气囊弹开,也可能发生偏移无法起到缓冲作用。于是,苹果在专利中提出了好几种解决方案。

▲安全带安全气囊
第一,安全带安全气囊。将安全气囊仓安装在安全带内,一旦发生危险,就可以从腰部安全带处弹开安全气囊,相当于乘客面前撑起一个大气球。

▲“变大”的安全气帘
第二,就是将安全气囊安装在车顶或者车厢侧面。这种设计相当于把现在常用的车辆安全气帘扩大,可以直接挡住乘员的上半身。
可以说,把安全气囊装进安全带还是苹果的首创,在形式上非常有创意,实际安全效果如何还是要经过严格的检测。
把安全气囊塞进安全带,苹果工程师可谓脑洞大开,不过这还不算最富有想象力的。此前,苹果工程师甚至想把触控板装进安全带,并设置几个按钮,驾驶员甚至可以在安全带上唤醒Siri、接打电话,可以说非常智能。
结语:苹果究竟想造什么车?
苹果从2014年前后开始向汽车领域进发,研发自动驾驶,并且申请汽车方面的专利。不过,苹果研发了这么多年,确实还没有多少实质性成果,不少人怀疑,苹果真的想造车吗?
从苹果汽车专利上看,苹果一直向着造车的方向前进,近70项专利基本已经画出了Apple Car的轮廓。
从苹果多年在科技界的成果来看,它肯定不甘心做CarPlay一个软件,而是要做CarPlay拓展出的硬件产品,那就是汽车。
具体来说,苹果想要造的车用电力驱动,拥有自动驾驶能力,车内有基于CarPlay的强大交互功能,说不定之后苹果还会升级成“CarOS”。面对未来出行方式的改变,苹果的汽车甚至可以将方向盘收起,允许两排乘客面对面乘坐。
说到这,似乎真的有了些未来出行的味道了。
相关推荐
70项专利解密苹果汽车:脑洞太大,特斯拉都追不上
苹果汽车iCar造车版图隐现,传统车企或将迎来“诺基亚时刻”
苹果获得汽车侧视镜专利,智能汽车再无盲点
就算砸下1300亿造车,苹果颠覆行业也有点难
最前线丨iPad变身笔记本?苹果新专利脑洞大开
硬核脑洞预测5G到底如何改变社会
最前线丨造车四年没有成果?苹果又有新动作:更新两项汽车设计专利
社交网络的脑洞:假如点赞就像开宝箱?
营销观察 | 市场有多差脑洞就有多大,宝马终于把营销做到了菜场
在数字经济发展的良田沃土上 来一场脑洞大开的未来之约
网址: 70项专利解密苹果汽车:脑洞太大,特斯拉都追不上 http://www.xishuta.cn/newsview25484.html
推荐科技快讯
- 1问界商标转让释放信号:赛力斯 95792
- 2报告:抖音海外版下载量突破1 25736
- 3人类唯一的出路:变成人工智能 25175
- 4人类唯一的出路: 变成人工智 24611
- 5移动办公如何高效?谷歌研究了 24309
- 6华为 nova14深度评测: 13155
- 7滴滴出行被投诉价格操纵,网约 11888
- 82023年起,银行存取款迎来 10774
- 9五一来了,大数据杀熟又想来, 9794
- 10手机中存在一个监听开关,你关 9519
