最前线丨苹果Apple Car多项专利曝光,不只是要做自动驾驶
尽管目前苹果还未正式承认其苹果汽车项目(Apple Car),但是外媒Appleinsider近日报道称,专利显示苹果正在进行大量的研发工作,包括用于汽车转向、通风和基于软件的自动校准传感器。
传感器是自动驾驶汽车最为核心的零部件。它们可以感知车辆周围环境,对汽车进行相关反馈,以便于汽车在驾驶过程中采取适当的行动。苹果若想要研制自动驾驶汽车,传感器是必不可少的一环。不过,使用传感器是一方面,长时间用好传感器又是一个问题。
根据苹果最新获得的名为“多传感器实时对准和校准”的一项专利称,随着使用时间的增加,车辆可能会遇到各种干扰,这些干扰可能会破坏传感器的定位,例如道路颠簸,驾驶产生的振动或驾驶时突然停车。这些因素有会可能导致传感器与初始出厂规格不一致。未对准/校准的传感器会因为错误感知了周围环境,向汽车提供了不正确的数据导致车辆自主驾驶功能遭到破坏。
这种问题的解决方案之一就是将把车辆送到维修中心重新设置传感器,但这样做既低效又不方便。因此,苹果认为可以通过“自动校准可改善传感器的功能,以更好探测周围环境”。
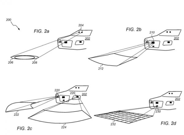
苹果的逻辑是,通过汽车上运行正常的传感器配合来找出整套设备中出现异常的传感器,并通过较准系统修复好它。

通过投影仪发现异常传感器 图片来源:Appleinsider
具体的做法很有可能是通过一个配置好的投影仪,在目标位置投射图案,并使用汽车上的校准系统根据一个或多个传感器检测到的图案相对位置来确定检测到的图案出现偏离的传感器,最后对它进行校准工作。
苹果表示,需要校准的传感器“可能包括一个或多个执行器”。汽车执行器任务是根据控制器给出的控制指令完成规定的执行动作(比如移动等)。目前,汽车执行器除了包括推进执行器、制动执行器、悬挂执行器之外也包括转向执行器。
“带有多个转向执行器的线控转向系统”同样是一项苹果新获得的转向专利,当汽车自动驾驶时就会起作用。
尽管汽车转向系统取得了一些进步,加入了转向助力。但是依旧还是通过转动方向盘带动车轮转向。而在苹果的这项有关转向执行器的专利中,汽车可能会识别出驾驶员已经转动了方向盘,然后再向执行器匹配相应的运行指令。
如果正如专利中所说的那样:“线控方向盘系统可以消除或断开方向盘与车轮之间的物理连接。”那就意味着自动驾驶车辆也可以再远程控制模式下进行操作。
除了有关校准传感器和转向执行器的专利之外,被曝光的还有一项关于车内舒适度的专利。苹果希望通过对车身整体结构的重新设计,充分利用车内空间,例如在汽车底盘的一些“凸缘部分”上扩大空间来达到更好的通风效果。
这段时间,被曝光的关于苹果有可能运用到汽车方面的专利越来越多,例如通过车门检测后方来车、增强现实(AR)增强车载系统等。这些种种迹象表明,或许苹果正在憋大招,想要通过配备了各种前沿专利科技的汽车来重新夺回或者强化在消费者心目中那个“一家富有创造力的科技公司”的印象。或许离苹果正式官宣其汽车项目的日子不远了。
相关推荐
最前线丨苹果Apple Car多项专利曝光,不只是要做自动驾驶
最前线 | 苹果环绕屏专利曝光,小米MIX α 遭遇劲敌
苹果多项汽车专利曝光,神奇车窗能帮助保护个人隐私
最前线 | 苹果新专利曝光,或用两块屏幕实现可折叠手机
最前线丨造车四年没有成果?苹果又有新动作:更新两项汽车设计专利
最前线 |苹果折叠屏专利曝光:或解决可折叠屏折痕问题
最前线丨苹果更新智能戒指专利,“Apple Ring”要来了?
最前线丨华为AR眼镜专利曝光,这是手机厂商的下一个战场
最前线丨库克重申不会获取用户数据,此前苹果出台多项保护隐私举措
最前线丨Apple Car新专利曝光:车门可以检测后方来车,AR系统帮忙防晕车
网址: 最前线丨苹果Apple Car多项专利曝光,不只是要做自动驾驶 http://www.xishuta.cn/newsview32028.html
推荐科技快讯
- 1问界商标转让释放信号:赛力斯 95792
- 2报告:抖音海外版下载量突破1 25736
- 3人类唯一的出路:变成人工智能 25175
- 4人类唯一的出路: 变成人工智 24611
- 5移动办公如何高效?谷歌研究了 24309
- 6华为 nova14深度评测: 13155
- 7滴滴出行被投诉价格操纵,网约 11888
- 82023年起,银行存取款迎来 10774
- 9五一来了,大数据杀熟又想来, 9794
- 10手机中存在一个监听开关,你关 9519
