iPhone将自带“防窥”模式?
果粉之家,专业苹果手机技术研究十年!您身边的苹果专家~
苹果公司一直致力于为用户提供更安全和更私密的产品和服务,在保护用户隐私的道路上,苹果始终都没有停下脚步...

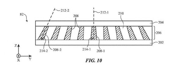
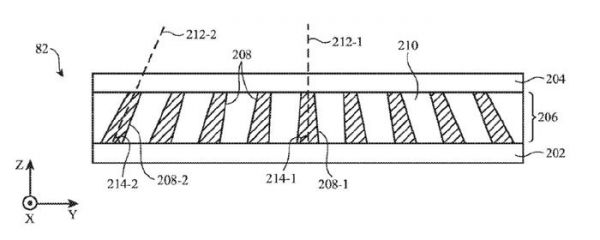
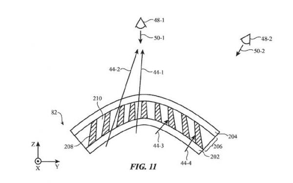
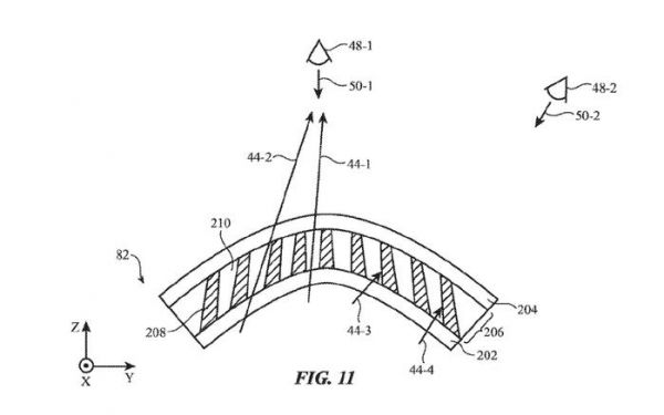
近日,苹果公司给iPhone的屏幕申请了一项名为屏幕内嵌电动滤光器的专利,这项专利能够实现防窥效果,让用户在公共场合使用手机时不用担心被他人偷看屏幕内容。
根据美国专利商标局(USPTO)近日公示的清单,苹果公司获得了一项有关iPhone的设计专利,专利名称为“具有电动滤光器的显示装置”。



这项新专利与此前报道中的苹果计划在MacBook中给屏幕加装“百叶窗”不同。它是直接在屏幕中添加偏振层,可以过滤一些颜色,确保只有在正面可以完全显示,在常规模式下可以正常显示,而在“隐私”模式下,只有正面才能看清。


当用户想要保护自己的隐私时,可以通过手机的设置或者语音命令来开启这项功能,使其变得不透明,从而让屏幕只能在正面看清,而从侧面或者其他角度看则会变得模糊或者黑暗。当用户不需要防窥功能时,可以关闭电动滤光器,使其变得透明,从而恢复屏幕的正常显示效果。
该专利还提到,电动滤光器可以根据用户的面部识别或者眼球追踪来自动调节其透光性,从而实现更智能和更便捷的防窥功能。例如,当用户将手机转向他人时,电动滤光器可以自动变得不透明,以防止他人看到屏幕内容;当用户将手机转回自己时,电动滤光器可以自动变得透明,以方便用户查看屏幕内容。

值得注意的是,这项专利并不是苹果公司首次涉足防窥技术领域。早在2016年,苹果公司就曾申请过一项名为“电子设备的隐私屏幕”的专利,该专利描述了一种利用偏振光来实现防窥效果的技术方案,该方案需要用户佩戴特殊的偏振眼镜才能看清屏幕内容,而其他人则会看到一片黑色或者白色的屏幕。
当然了,苹果目前还没有在屏幕中加入防窥的相关设置,还是非常期待iPhone屏幕能加入“防窥”设置的。毕竟目前用户只能通过贴“防窥膜”来实现物理防窥效果。

但贴过防窥膜的小伙伴应该都知道,防窥膜有一个比较大的缺点,就是会影响屏幕显示效果,远不如高清膜看的舒服。
不过嘛,生活中免不了遇到一些没有边界感的人,你在浏览东西或者聊天,他都想看上一看,这时候防窥膜就能起到很好的保护效果了~
有果粉的地方就有果粉之家,学习苹果使用技巧,了解最新苹果资讯请关注:果粉之家。
发布于:福建
相关推荐
iPhone这些系统自带App,我劝你不要卸载
黑客揭秘“iPhone为什么关机后仍可定位”,防丢这件事,苹果/三星/小米各出奇招
Tile 防丢,但防不了苹果
iPhone低电量模式真的有用吗低电量模式或对老款iPhone更有效
防蓝光浪潮里的“膜”与“镜”
这款自带App导致iPhone耗电严重?外媒:苹果承认了,建议恢复出厂设置
iPhone 12 Pro系列相机细节曝光:将有望支持新的4K慢动作模式
苹果的 AirTag 火了,一家造「防丢神器」的公司怒了
果粉请注意:可以对 iOS 自带 App 评论打分了
最前线 | iOS 14提前曝光:Apple Pay将支持支付宝,防丢器Air Tag也要来了
网址: iPhone将自带“防窥”模式? http://www.xishuta.cn/newsview99280.html
推荐科技快讯
- 1问界商标转让释放信号:赛力斯 95792
- 2报告:抖音海外版下载量突破1 25736
- 3人类唯一的出路:变成人工智能 25175
- 4人类唯一的出路: 变成人工智 24611
- 5移动办公如何高效?谷歌研究了 24309
- 6华为 nova14深度评测: 13155
- 7滴滴出行被投诉价格操纵,网约 11888
- 82023年起,银行存取款迎来 10774
- 9五一来了,大数据杀熟又想来, 9794
- 10手机中存在一个监听开关,你关 9519
