微软新专利获批:无缝跨设备操作,构建统一的生态系统
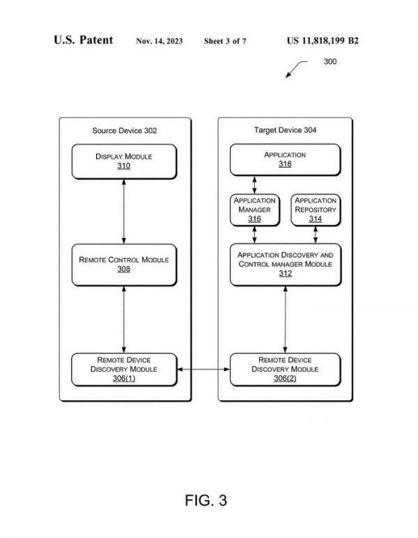
IT之家 11 月 25 日消息,根据美国商标和专利局(USPTO)近日公示的清单,微软获得了一项关于跨设备体验的技术专利,如果能商用成为现实,将帮助微软构建统一的生态系统。

在该生态系统中,无论应用程序运行在何种操作系统上,都可以跨多个设备发现和控制应用程序。



微软专利中构想的跨设备体验类似于三星的 Galaxy Connected Experience 和高通的 Snapdragon Seamless,涵盖 Windows、macOS、Linux、iOS 和安卓等平台设备,该技术有望识别和激活远程设备上的应用程序,从而在设备之间移动时实现无缝交互。
IT之家从专利中获悉,这种技术的潜力将延伸到各种微软产品中,可能超越传统的计算设备,包括可穿戴设备,汽车系统和其他智能技术。人工智能的加入可以进一步简化这种交互,实现更加个性化和情境感知的计算体验。
发布于:山东
相关推荐
高通推出 Snapdragon Seamless,打造跨系统跨设备无缝连接体验
微软新 Surface 可折叠手机专利获批
iPad要用上macOS?苹果的新专利揭开未来一角
电动汽车充电站管理软件「EV Connect」获 1200 万美元 B 轮融资,想构建开放的充电生态系统
苹果新iPhone专利获批:检测屏幕是否贴膜,动态改善显示输出
模仿苹果生态系统,谷歌2022年将致力于跨平台设备整合
苹果新 Vision Pro 液态透镜专利获批:要解决头显眼镜夹片痛点
医疗健康行业周报 | 5款“自测版”新冠抗原试剂获批;中国医药获辉瑞新冠特效药的商业运营权
微软的AI棋局
支付宝又一刷掌设备专利获授权
网址: 微软新专利获批:无缝跨设备操作,构建统一的生态系统 http://www.xishuta.cn/newsview99163.html
推荐科技快讯
- 1问界商标转让释放信号:赛力斯 95792
- 2报告:抖音海外版下载量突破1 25736
- 3人类唯一的出路:变成人工智能 25175
- 4人类唯一的出路: 变成人工智 24611
- 5移动办公如何高效?谷歌研究了 24309
- 6华为 nova14深度评测: 13155
- 7滴滴出行被投诉价格操纵,网约 11888
- 82023年起,银行存取款迎来 10774
- 9五一来了,大数据杀熟又想来, 9794
- 10手机中存在一个监听开关,你关 9519
