苹果新iPhone专利获批:检测屏幕是否贴膜,动态改善显示输出
来源: 时间:2023年09月10日 04:14
【#苹果新iPhone专利获批#:检测屏幕是否贴膜,动态改善显示输出】IT之家9月8日消息,根据美国商标和专利局(USPTO)公示的清单,苹果公司今天获得了一项技术专利,名称为《触摸输入设备的覆盖层检测》,其简单来说就是检测 iPhone 或者 iPad 是否有贴膜,然后通过动作补偿改善交互。#苹果新专利可检测屏幕是否贴膜#
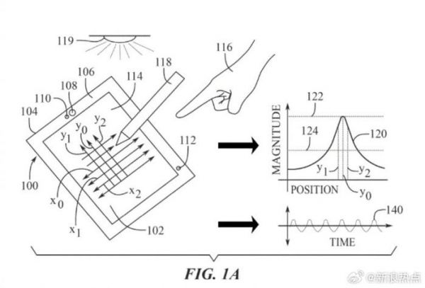
苹果在专利中完整概述了检测设备是否贴膜的方法和系统,并能够在 iPhone、iPad 等数码设备上,根据是否有贴膜进行动态调整。不少消费者出于保护等因素,会选择给 iPhone、iPad 设备贴膜,这会导致屏幕产生的图像出现细微的失真,能以微小但可感知的方式改变显示屏的光线。
苹果在专利中概述了检测屏幕是否贴膜的整套光学系统,并包含了一套处理单元、连接器、传感器在内的系统,并可以和屏幕通信,调整屏幕显示效果。


发布于:北京
相关推荐
苹果 FaceID 新专利:可存储使用者不同造型,针对近视/远视用户优化显示
七款笔记本屏幕膜对比评测,笔记本贴膜是不是坑?
三星新旗舰不再出厂贴膜,这门手艺或将成为历史
外媒称苹果正在打造折叠屏iPhone,新专利显示方案比华为三星更实用
互联网人摆摊创业,就该去做贴膜
最前线 | 苹果新专利曝光,或用两块屏幕实现可折叠手机
苹果裸眼3D专利曝光,但它可能与iPhone无关
最新专利显示苹果可折叠iPhone或iPad具有柔性外壳
最前线 | 专利显示新iPhone或将剪掉“刘海”,真正变身全面屏
苹果新专利曝光:折叠屏自动折叠
网址: 苹果新iPhone专利获批:检测屏幕是否贴膜,动态改善显示输出 http://www.xishuta.cn/newsview90093.html
推荐科技快讯
- 1问界商标转让释放信号:赛力斯 95792
- 2报告:抖音海外版下载量突破1 25736
- 3人类唯一的出路:变成人工智能 25175
- 4人类唯一的出路: 变成人工智 24611
- 5移动办公如何高效?谷歌研究了 24309
- 6华为 nova14深度评测: 13155
- 7滴滴出行被投诉价格操纵,网约 11888
- 82023年起,银行存取款迎来 10774
- 9五一来了,大数据杀熟又想来, 9794
- 10手机中存在一个监听开关,你关 9519
科技快讯热点排名
科技快讯热点
