AirPods 2 刚发布不久,AirPods 3 又双叒叕要来了?
编者按:2016年,苹果推出了第一代AirPods。时隔约三年后,苹果才发布了第二代AirPods。然而,在AirPods 2刚发布不久,就有进一步确切传闻称,苹果将在今年底之前推出第三代AirPods。这篇编译自不同出处的文章,跟大家分享了有关AirPods 3的最新传闻。同时,文章还一并回顾了之前有关AirPods 3的主要传闻时间线。

图片来源:365Tech
4月24日,据台湾媒体《电子时报》(Digitimes)透露,苹果正联手有关组装厂和供货商,计划在年底圣诞节前发布第三代AirPods。
这并不是关于第三代AirPods的第一个传闻。
今年3月,苹果发布了配有无线充电盒的第二代AirPods。而在那之前,就有传闻称,苹果将在今年春季和秋季发布不同的AirPods产品。
据《电子时报》报道,预计在2019年底推出的第三代AirPods将新增降噪功能。此外,与第二代AirPods相同的是,第三代AirPods的组装订单很有可能仍然由台湾组装厂英业达(Inventec)和大陆立讯精密(Luxshare Precision)平分。
不过,《电子时报》在有关苹果方面的传闻报道,在业界是出了名的“不可信”。
今年3月22日,其还发布报道称,苹果将在一周之内发布备受关注的无线充电座AirPower。不过,一周之后,却迎来苹果官方消息称,AirPower因无法满足其高品质要求,已经取消了其上市计划。

图片来源:Mactrast
尽管如此,也有不少其它渠道消息报道类似的传闻,称苹果今年将分两次发布不同的AirPods产品。
比如,今年2月,推特爆料达人OnLeaks发布推特称,AirPods无线充电盒很快即将推出,但是带有降噪功能的新一代AirPods和黑色无线充电盒则会在今年秋季推出。
今年3月发布的第二代AirPods除了推出无线充电盒之外,的确也新增了一些细小功能,但除此之外,并没有其它受人期待的新功能。
降噪耳机对实体产品设计和电池容量的要求极高。目前,尚不清楚苹果将如何设计带有降噪功能且体型小巧的入耳式无线蓝牙耳机。
彭博社(Bloomberg)记者Mark Gurman之前报道称,新一代AirPods的亮点将是降噪和防水功能。在他发布的推特消息中,他“推测”带有这两个新功能的新一代AirPods产品至少要推迟至2020年才能发布。
不过明显的是,Gurman的推测和其它传闻报道存在冲突。
关于第三代AirPods的期待:用户到底想要什么功能?
目前,讨论第三代AirPods的功能还为时过早,毕竟第二代AirPods才发布不久。
在今年2月发布第二代AirPods产品后,用户仍然期待并希望下一代AirPods新增的功能包括:
降噪功能
防水功能
健身追踪功能
更长通话时间
更多自定义控制

图片来源:iOS Hacker
第三代AirPods主要传闻时间线
以下,是有关苹果即将推出的下一代AirPods产品的所有传闻。
2019年4月24日:带降噪功能的第三代AirPods年底前推出
《电子时报》报道称,带有降噪功能的第三代AirPods将在今年年底圣诞节前推出。
同时,根据TF国际证券公司苹果供应链分析师郭明錤预测,苹果将于2019年底或2020年初发布两款全新AirPods产品。其中一款AirPods产品将如之前的传闻报道一样,具有全新的外形设计,而另一款AirPods产品则将与现有AirPods产品外形设计保持一致。
2019年3月20日:苹果开发新的AirPods功能,预计2020年推出
彭博社记者Mark Gurman发布推特称,第二代AirPods本应在去年上市推出。目前,苹果正进一步研发降噪和防水功能。
据Gurman称,下一代AirPods产品原计划今年年底上市,但现在他预测认为新的上市时间是2020年。
2018年12月03日:第三代AirPods采用全新外形设计
著名苹果供应链分析师郭明錤称,2020年款AirPods产品将采用全新的外形设计。
就此传闻,郭明錤并未透露具体细节信息。不过,关于第二代AirPods全新耳机芯片、无线充电盒以及蓝牙5.0功能而言,郭明錤的预测全部正确。

图片来源:agirls.aotter.net
2018年06月25日:更多证据显示AirPods新增降噪功能
据彭博社可靠消息报道,2019年推出的AirPods产品将新增降噪功能。
此外,根据巴克莱(Barclays)的一份报告,苹果新推出的AirPods产品将采用物理模拟的方式进行降噪,而不是使用电子器件主动降噪。
在彭博社的报道中,也提到了新一代AirPods产品的防水功能(只是防汗水功能)。此外,苹果还在试图研发并新增心率监测器,同时并试图扩大AirPods产品的信号接收范围。
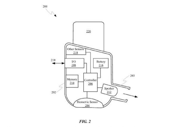
2017年07月07日:更多专利申请显示AirPods将新增健身追踪功能
根据外媒Patently Apple报道,苹果针对入耳式无线耳机AirPods又提出一项新的专利申请。根据专利文件显示,新一代AirPods产品将内置生物识别传感器。

图片来源:美国专利及商标局(USPTO)
此外,Patently Apple还发现,苹果有可能在新一代AirPods产品中新增EKG心电图传感器,阻抗心动图传感器以及更多健身追踪功能。
2017年03月20日:苹果提出带有生物识别传感器的无线耳机专利申请
苹果针对三种不同的耳机提出三份专利申请,并且在专利文件中提到了“带有生物识别传感器的无线耳机”。
根据专利申请文件,无线耳机内置的生物识别传感器可以向用户的耳屏(外耳门前面的突起部分,由软骨和皮肤构成,能遮住外耳门)发射信号,并通过光学心率传感器(PPG)观察血管容积变化规律来监测并收集用户心率数据、身体温度以及最大摄氧量(VO2)等信息。
从专利文件还可以看出,通过波束形成的麦克风阵列,还可以实现传闻的降噪功能。

图片来源:PATENTLY APPLE
此外,就降噪而言,专利申请文件还显示出了不同等级的降噪效果。也就是说,使用无线耳机过程中,可以主动地吸收外部噪音,这个功能在交通繁忙的户外骑行自行车等场景中非常实用。
参考文章:
Digitimes: AirPods 3 launching at the end of 2019 with noise cancellation features,作者Benjamin Mayo。
Apple AirPods 3: Release date, rumours, specs and price,作者Britta O'Boyle。
编译组出品。
相关推荐
AirPods 2 刚发布不久,AirPods 3 又双叒叕要来了?
最前线|支付宝集五福又双叒叕来了,这回瓜分的是5亿奖金
硅谷孵化器500 Startups路演:又双叒叕一大波项目来袭
比尔·盖茨又双叒叕推书了:五本2020年不得不看的好书
为什么特斯拉又双叒叕被做空了?
为什么我认为今年不会发布 AirPods 3
AirPods拯救苹果
知乎改版又双叒叕被骂了,这次是因为“想法”没了
又双叒叕被做空!跟谁学:做空报告中很多数据不实
AirPods大招终于来了,还能“透视”皮肤?
网址: AirPods 2 刚发布不久,AirPods 3 又双叒叕要来了? http://www.xishuta.cn/newsview3986.html
推荐科技快讯
- 1问界商标转让释放信号:赛力斯 95792
- 2报告:抖音海外版下载量突破1 25736
- 3人类唯一的出路:变成人工智能 25175
- 4人类唯一的出路: 变成人工智 24611
- 5移动办公如何高效?谷歌研究了 24309
- 6华为 nova14深度评测: 13155
- 7滴滴出行被投诉价格操纵,网约 11888
- 82023年起,银行存取款迎来 10774
- 9五一来了,大数据杀熟又想来, 9794
- 10手机中存在一个监听开关,你关 9519
