折叠iPhone要来了!苹果新专利曝光:任意表面实现触敏控制
快科技9月20日消息,美国商标和专利局(USPTO)最新公示的清单显示,苹果公司获得了一项新的专利,构想了未来iPhone的设计方案,包括固态按钮在内在所有表面实现触敏控制。

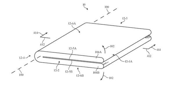
该专利名为《带有显示屏和触摸传感器结构的电子设备》,其专利的设计草图为折叠式设计。
苹果表示,从用户那里收集触摸输入并高效地向用户展示图像可能面临挑战。
例如,当用户向触摸屏显示器提供触摸输入时,用户的手可能会遮挡显示器上正在显示的图像。

为解决这一问题,苹果公司构想了在设备所有表面实现触敏控制的设计。
据悉,苹果计划在设备所有表面内置控制电路、电池及其他组件,设备表面可以包含不透明部分与透明部分,并考虑采用不透明塑料、金属、纤维复合材料以及含有纤维、陶瓷和其他不透明材料的多层结构。

值得注意的是,苹果计划通过在设备表面铺设细小的金属线(例如纳米结构)来实现任意表面的触敏控制。
苹果在专利中提供了一些例子,说明这种触控功能在实际应用中的可能用途。
例如在游戏应用及其他应用中,用户可以在设备的背面使用触摸传感器,同时在设备的正面显示屏上显示相关视觉信息,从而实现更丰富的交互体验。
发布于:北京
相关推荐
折叠iPhone要来了!苹果新专利曝光:任意表面实现触敏控制
苹果新专利曝光,打算入局折叠屏市场
iPhone 小折叠要来了,苹果秘密研发多年,可能是最薄手机
最前线 | 苹果新专利曝光,或用两块屏幕实现可折叠手机
苹果新专利曝光:折叠屏自动折叠
苹果新专利曝光:智能眼镜或使用激光测距和智能手套
iPhone 小折叠要来了!苹果秘密研发多年,可能是最薄手机
苹果这个新专利,要让折叠屏iPhone能“落地成盒”
苹果新专利曝光:将在iPhone侧面加上Touch Bar!
2020年新iPhone揭秘:大招来了
网址: 折叠iPhone要来了!苹果新专利曝光:任意表面实现触敏控制 http://www.xishuta.cn/newsview125495.html
推荐科技快讯
- 1问界商标转让释放信号:赛力斯 95792
- 2报告:抖音海外版下载量突破1 25736
- 3人类唯一的出路:变成人工智能 25175
- 4人类唯一的出路: 变成人工智 24611
- 5移动办公如何高效?谷歌研究了 24309
- 6华为 nova14深度评测: 13155
- 7滴滴出行被投诉价格操纵,网约 11888
- 82023年起,银行存取款迎来 10774
- 9五一来了,大数据杀熟又想来, 9794
- 10手机中存在一个监听开关,你关 9519
