传奇都请不动明星代言了?
你有多久没在网上见到 “渣渣辉”们身披金甲、肩扛大刀的身影了?
张家辉和古天乐们不再操着蹩脚的普通话,在朋友圈跟你回收“麻痹戒子”;防不胜防的网页弹窗上,也不再是谢霆锋、陈小春们轮番上阵,邀你今晚八点一起攻沙。
2019年时,“明星为什么会去代言传奇”还是知乎上时常出现的热门问题,而现在,你大概只能从网友们自发制作的视频合集里,感受当年那铺天盖地的阵仗。

提出这样的问题,本身也常是广告的一环
人总是在失去之后才……我想也没人真会怀念被这些广告刷屏的日子,但这还是留下个新疑问:是传奇们不再需要大牌明星了,还是终于请不动了?
一
2018年底,当成龙也身披银甲,对着镜头说出:“哇,爆率真的很高!”的时候,明星代言传奇这事算是真正走到了巅峰。
到了这一步,没人还质疑这类广告到底是不是P图,也少有人再觉得代言传奇是“恰烂钱”——毕竟“大哥都来了”。
就在同一年早些时候,张家辉参加访谈节目时还在面露苦色地谈起:“(就因为贪玩蓝月那个广告,)现在整个中国都在笑我。”
在所有代言过传奇类网游的明星中,张家辉大概是最受伤的那个。
他自述在拍摄时完全不知道广告最后会以那个样子呈现,他顶着感冒对着镜头念了几句甲方教他的“推荐语”,结果了成了他演艺生涯中传播最广的台词之一。
张家辉当年就“中止跟介个广告合作”了,但事情没有就此消停。
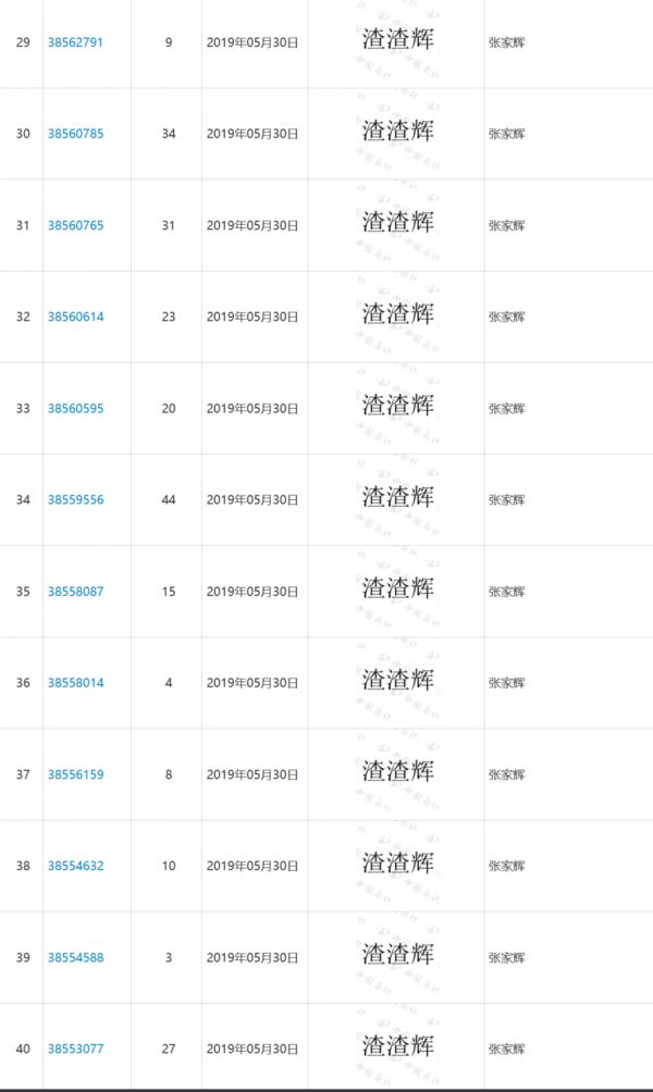
第二年,张家辉被发现跑去商标局注册了45个“渣渣辉”商标。舆论一片哗然,张家辉被质疑是“口嫌体正直”,嘴上说着厌恶这个梗,实际动起了借此牟利的小心思。

经纪人则回应称这是保护性注册,此前已有多家公司申请将“渣渣辉”注册为自家商标,其中就包括《贪玩蓝月》的运营商江西贪玩信息科技有限公司(简称“贪玩游戏”)。
最终,这些商标申请均被驳回。
同样遭过殃的还有古天乐——他或许听说过自己“绿了绿了”,但未必知道他去给《贪玩蓝月》拍广告的那一天,曾有上百万观众在B站直播间被他放了鸽子。
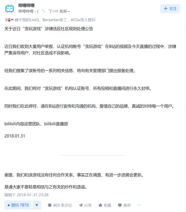
2019年1月,贪玩游戏发布公告称,代言人古天乐将在B站直播游玩《贪玩蓝月》,但一整场直播中,古天乐本人出现的时间不足半小时,和观众的唯一互动,也就是对着镜头说了句:“大架好,我系贪玩蓝月的代言人咕天乐。”
根本没什么“一起来攻沙”,大伙被骗来看了6小时的传奇广告,直播间被愤怒的弹幕淹没。
一夜间攒了7万粉的贪玩游戏官方账号,就此被B站以“严重误导用户”为由永封,后来新建的账号粉丝数再也没突破3位数。

那时候,B站还会在知乎发通告
至于古天乐本人,好在他此前热衷慈善,捐赠了不少希望小学,令大多观众们相信他会拿这代言费再去做些好事。
张家辉和古天乐的“牺牲”在很大程度上为往后的明星再代言传奇铺平了道路——观众们开始觉得这样的代言也不过是份工作,谈不上伤天害理,没必要苛责太多。回头再看之前代言传奇被王思聪在微博追着骂的林子聪,多少有些冤枉。
而当2022年《成龙劝学》成为B站热梗的时候,那些鬼畜视频的制作者,还有被逗得哈哈大笑的观众们,或许会庆幸成龙在当年接下了传奇代言,才留下这些乐子。
二
“成龙代言过的产品下场都不太好”——这当然是一种偏见,但在成龙代言过传奇之后,这条赛道上的“明星效应”确实算卷到头了。
用相关从业者的话来说:“成龙都拍过了,那除非你再能请来刘德华,否则找谁代言都区别不大了。”
这当然不是说传奇类游戏就不找代言人了。
2020年前后,你依然会刷着短视频就遇上甄子丹和冯小刚冒出来告诫你“别玩儿假传奇了”,只是这些短片的拍摄质量明显较之前上了个台阶,明星们显然也很清楚自己在给什么打广告。
2021年的时候,还是贪玩游戏,推出个新的传奇类手游《热血合击》,这次请的代言人是刘亦菲。
相比前几年总闹得一地鸡毛,此时贪玩游戏给刘亦菲拍摄的广告素材相当精致,投放时也不再整那些恶俗桥段,还在B站办了个UP主马前卒采访刘亦菲的“梦幻约见”。
事儿是办体面了,但你很容易从中察觉到请明星来代言传奇的商业性价比显著降低——让明星摆几个姿势喊两句口号就能抓人眼球的红利期过去了,这会儿得费劲去做一些包装,才可能吸引到更多的关注。
据透露,在2022年王心凌翻红的时候,圈内几乎都觉得这是近年最适合请来代言传奇类产品的明星,有着天然的流量和受众契合度,“但最后也没见哪家真去谈下来”。
如今来看,这可能算是个标志——那些给传奇做了十来年病毒式广告的人们,也拿不准请明星代言还是否值得了。
另一方面,代言传奇这件事对于明星们而言,收益也同样在降低。
早几年的时候,对于一些二三线明星,给传奇拍广告是他们少数能挣到“互联网钱”的机会,比起代言实物商品或是走穴演出,这活儿往往既轻松、钱给得也多,充满吸引力。
但随着短视频直播和带货兴起,这些明星们也离互联网更近了,有了更多赚快钱的渠道,包括这些传奇游戏本身,也只是成了他们带货的可选项之一。
看起来这最终促成了明星和传奇之间的“双向脱钩”。
直至今日,贪玩游戏仍旧是国内传奇品类的领头大哥,但在他家的官网上,不论是曾经成为现象级话题的《贪玩蓝月》,还是公司当下的主力产品《原始传奇》,都已不见真人明星代言的身影。
三
明星代言的传奇广告是少了,但这不代表传奇的广告就也少了。
根据第三方机构统计,在过去一年里,传奇类别的手游App和微信小游戏都是高居首位的买量大户,市面上超过1/4的游戏广告都是传奇。

统计数据来自DataEye《2023国内游戏效果广告白皮书》
只是这些广告通常不再依赖于用明星吸引眼球,甚至就连“别再玩假传奇了”这样的短剧都已经过时,现在更多的是将广告包装成热闹的直播间,主播一边激情指挥“万人同屏”的攻城战,一边对刷到这条视频的观众们鼓动着:“就差你了!立刻下载游戏,什么钱都不用充!你来了我们就能打下来!”
有些直播间还会挂上“赢/输一场,直播发一W”的标语,要是真有观众下载了游戏试图去影响战局,则通常连主播在哪个服务器都找不着,又或者直到最后才意识到:主播也没说究竟发的“一W”究竟是什么东西。
从当初的“在线回收秒到账”到现在的“输一场抽1W”,传奇类游戏的宣传逻辑并没有发生什么改变,区别是不再高调地利用明星脸来广撒网。
这般转变的背后,则是传奇类游戏的日子确实没从前那么好过了。
2023年,贪玩游戏的控制实体中旭未来在香港上市,依据其前几天披露的全年业绩公告,中旭未来上市首年营业收入65.1亿元,较2022年下滑了26.1%,主要原因便是由于网络游戏发行业务的收入下降,并称“我们的游戏产品面临激烈的市场竞争”,毛利率逐年下跌。

公告还提到,公司这一年的营销推广开支较前年减少了31.0%,原因包括收入减少、缺乏新产品,且在尝试完全利用AI取代人力来制定营销策略,更加看重推广行为对于用户注册和付费数据的直接影响。
一边是激烈的市场竞争导致收入下滑,另一边则是仍得投入买量费用来争夺市场存量——早几年这些传奇请明星打广告还可能真是因为“钱多到没处花”,不在意实际宣传效果,但如今,变现和转型已经成了他们的当务之急,不得不更加重视公司现有的每一项资产。
之前提到贪玩游戏曾试图注册“渣渣辉”商标被驳回,但贪玩并没有完全放弃这件事,后来他们还是成功申请到了“渣渣灰”这个商标。
有些出人意料的是,之后贪玩并没有像大家预期中那样再拿着“渣渣灰”去搞一些碰瓷营销,倒是真的将其发展为公司的一项实体业务——一系列方便米粉。
传奇本身或许不会从游戏行业消失,但做传奇的人还是会被淘汰——看来起来这些企业也并非不明白这样的道理。
四、结语
“明星代言传奇”的时代大概是过去了,但坏消息是,大家仍旧得忍受“我不玩了不玩了”的广告被一次次推到朋友圈,以及打开任何App一手抖就会跳转到微信小游戏。
你不明白到底是什么人在玩这类贴片广告小游戏,就像你当初也想不通究竟是谁还在玩传奇。
几年之前,大家还在嘲笑着各种传奇的广告,觉得这种土味套路迟早被淘汰,现实是他们确实走上了衰退的道路,但替代他们的并不全是更好玩的游戏,还有更能洗脑、更会买量的产品。
很多事情变了,又好像什么都没变。不知如今专门在B站搜土味广告来看的人们,六年前是否也曾在贪玩蓝月的直播间里等待古天乐。
本文来自微信公众号:游戏研究社 (ID:yysaag),作者:Lushark
相关推荐
请明星代言游戏是个技术活
宝格丽道歉后,代言明星集体沉默:背后原因令人深思
明星代言P2P翻车:我拿你当偶像,你却把我当韭菜
郑爽「代孕弃养」殃及Prada,商家找明星代言该如何避坑?
明星IP再度加持,助力巨星传奇新零售领域新突破
巨星传奇IPO,周杰伦、刘畊宏靠微商卖魔胴咖啡?
刘德华为华为非凡大师代言,网友:就是要告诉美国我们敢于非凡
瑞幸咖啡小鹿茶撤去明星海报 汤唯刘昊然肖战结束代言?
明星做微商,躺赢?
不仅霸屏跨年晚会,商业代言也被虚拟人拿捏了
网址: 传奇都请不动明星代言了? http://www.xishuta.cn/newsview113986.html
推荐科技快讯
- 1问界商标转让释放信号:赛力斯 95792
- 2报告:抖音海外版下载量突破1 25736
- 3人类唯一的出路:变成人工智能 25175
- 4人类唯一的出路: 变成人工智 24611
- 5移动办公如何高效?谷歌研究了 24309
- 6华为 nova14深度评测: 13155
- 7滴滴出行被投诉价格操纵,网约 11888
- 82023年起,银行存取款迎来 10774
- 9五一来了,大数据杀熟又想来, 9794
- 10手机中存在一个监听开关,你关 9519
