苹果隔空投送(AirDrop)新专利获批,利用Li-Fi实现高效数据传输
IT之家 1 月 10 日消息,未来 iPhone 之间的通信可以不再依赖蓝牙和 Wi-Fi,根据最新获批的技术专利,苹果正考虑让隔空投送(AirDrop)使用 Li-Fi 传输数据。

苹果曾在 Mac 中使用红外线(IR)发射器 / 接收器,理论上可用于任何短距离数据交换。
但在实际应用中,红外线往往被用于 Siri Remote 等遥控器,因为红外线传输速度较慢,而且设备之间必须相互精确对准。
而苹果公司近日获得了一项名为《用于便携式电子设备的定向自由空间光通信系统中的光学结构》技术专利,虽然在专利中并未提及 Li-Fi 字眼,但从专利描述来看,就是利用这个光通信系统,改善数据传输。
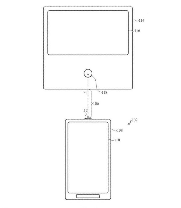
苹果公司表示,只要两台设备距离很近,且处于相互对准的状态,光通信要比传统的 Wi-Fi 或者蓝牙更安全,更快速。
而且相比较 Wi-Fi、NFC 和蓝牙等传统设备到设备数据通信协议,Li-Fi 可以提高数据传输速率(从每秒数 GB 到每秒数 TB)、提高数据传输隐私性和提高数据传输安全性。

尽管苹果公司在整项专利中只使用了两次“Phone”一词,但可以推定这项技术是为 iPhone 设计的。
苹果公司表示,除了手机、平板电脑、笔记本电脑和台式机之外,该专利还可适用于航空、航海、潜水艇或陆地车辆控制设备或网络设备。
发布于:山东
相关推荐
苹果隔空投送(AirDrop)新专利获批,利用Li-Fi实现高效数据传输
最前线 | Google推出Nearby Share,杠上苹果AirDrop
年轻人把AirDrop玩成了相亲软件
苹果的AirDrop,为什么越来越难用了?
去掉耳机和充电器,以后数据线苹果也不会送了
iPhone 12采用新的WiFi标准或是为了与苹果智能眼镜兼容
苹果U1芯片登上苹果头戴耳机,AirPods Studio将正反随便戴
清华系团队创业,「明华智讯」用Li-Fi支持室内定位和物联网数据传输
苹果iOS 17可自动屏蔽不请自来的裸照,并发出“敏感内容警告”
你相信光吗?Li-Fi技术揭秘:打开灯就能上网
网址: 苹果隔空投送(AirDrop)新专利获批,利用Li-Fi实现高效数据传输 http://www.xishuta.cn/newsview104523.html
推荐科技快讯
- 1问界商标转让释放信号:赛力斯 95792
- 2报告:抖音海外版下载量突破1 25736
- 3人类唯一的出路:变成人工智能 25175
- 4人类唯一的出路: 变成人工智 24611
- 5移动办公如何高效?谷歌研究了 24309
- 6华为 nova14深度评测: 13155
- 7滴滴出行被投诉价格操纵,网约 11888
- 82023年起,银行存取款迎来 10774
- 9五一来了,大数据杀熟又想来, 9794
- 10手机中存在一个监听开关,你关 9519
