信息安全服务商上讯信息终止上市辅导,两次获得软银中国资本投资
编者按:本文来自微信公众号“IPO早知道”(ID:ipozaozhidao),作者 Uncle C,36氪经授权发布。

据IPO早知道消息,上海上讯信息技术股份有限公司于近日递交终止辅导工作报告,辅导机构为为中信建投。
上讯信息曾于2014年和中信建投签订辅导协议,近日公司称由于对原发行上市计划作出调整,终止上市辅导工作。
上讯信息成立于2010年,是一家IT智能安全运维与数据治理等领域服务提供商。可提供信息安全咨询及评估、数据安全产品(DS)、合规与审计产品(CA)、终端一体化安全产品(ETS)、网关安全产品(NGS)。
主要服务于金融、能源、公共运输、互联网、公共事业、政府、制造业、教育、通信等众多行业,拥有遍布全国各地的20个本地化技术服务机构,可覆盖31个省市地区以及港澳地区。
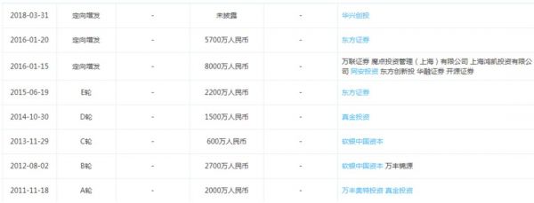
据天眼查显示,2011年至今上讯信息完成了E轮融资并进行三次定向增发,其中在2012和2013年的B轮以及C轮的融资中,都出现了软银中国资本的身影。

2016年-2018年和2019上半年,上讯信息的营业收入分别为1.24亿、1.27亿、1.47亿和6023.2万元;净利润分别为-1424.74万、-3373.7万、-6514.4万和-2410.3万元。
目前公司研发投入占比高达总收入30%以上,已经在西安、上海、北京设立研发中心,并与哈尔滨工程大学成立“保密技术与信息系统安全联合实验室”,自主研发产品陆续转化形成核心知识产权,已形成数百项专利。2019年,被评为“上海市专利工作试点企业”
上讯信息曾多次成为进博会的安保支持单位,并获得获网络安保贡献奖,成为国家网络安全发展中不可或缺的主力军;同时参与的若干国家标准制定工作,已有两项国标定稿颁布。
去年上讯信息加入华为鲲鹏计划,将得到华为的培训支持、技术支持、市场营销支持、业务支持等。华为云计划表示将帮助超过100家伙伴完成基于鲲鹏云服务的开发、应用移植,让伙伴通过华为云市场实现5亿元以上销售收入。
相关推荐
信息安全服务商上讯信息终止上市辅导,两次获得软银中国资本投资
专注自主研发数据治理和IT安全运维产品,「上讯信息」为企业提供信息安全服务
京东数科科创板上市生变:已与中信证券、华菁证券签署终止辅导协议
出海日报 | Grab获软银14.6亿美元投资;高盛拟1.73亿美元投资“印度版头条”Dailyhunt
软银投资WeWork亏损477亿元,创始人诺伊曼起诉软银
36氪独家|掌门教育获超4亿美元融资,投资方为软银愿景基金、元生资本、加拿大养老基金投资公司等
软银中国:整体看好中国创投行业,在继续加大投资
最前线丨“东南亚版滴滴”Grab又拿到投资,这次依旧是老朋友软银出钱
最前线 | 软银计划第三次投资滴滴,金额为16亿美元
出海日报 | “阿拉伯支付宝” WPay获得软银中国投资;拉美独角兽Rappi宣布进军哥斯达黎加
网址: 信息安全服务商上讯信息终止上市辅导,两次获得软银中国资本投资 http://www.xishuta.cn/zhidaoview7795.html
推荐专业知识
- 136氪首发 | 瞄准企业“流 3930
- 2失联37天的私募大佬现身,但 3220
- 3是时候看到全球新商业版图了! 2809
- 436氪首发 | 「微脉」获1 2759
- 5流浪地球是大刘在电力系统上班 2708
- 6招商知识:商业市场前期调研及 2698
- 7Grab真开始做财富管理了 2610
- 8中国离硬科幻电影时代还有多远 2328
- 9创投周报 Vol.24 | 2186
- 10微医集团近日完成新一轮股权质 2181
