这家公司,被称为「特斯拉打印机」
编者按:本文来自微信公众号“极客汽车”(ID:GeekCar),作者:米其林,36氪经授权发布。

提到特斯拉,不仅在电动车领域是大家关注的焦点,在股市也堪比「财富密码」。每一笔特斯拉的投资,每一家新供应商的曝光,都引发大家对某家企业甚至某个行业的追捧。A 股中由特斯拉上海超级工厂的供应商组成的「特斯拉板块」,更是被看作未来发展的机遇而引人注目。今天我们来看一家近期被特斯拉「带飞」的企业——力劲科技。
两个月前,力劲科技的股价还不到 1 港币,随着 model Y 在国内的上市,如今这家公司的市值已经涨了近 10 倍。 这家企业究竟是干什么的?
与新能源汽车常被关注的电池、芯片、自动驾驶领域相比,力劲科技的主营业务显得有些低调,那就是压铸机业务。作为全球压铸机行业的龙头,它们的产品虽然低调,但在 Model Y 车型的生产中的贡献,可一点都不小。
有了「特斯拉打印机」,提升产能不是梦
特斯拉推出的新款车型 Model Y 中,一大亮眼的改革就是后车身的一体压铸工艺。
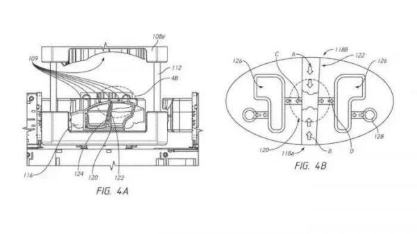
根据特斯拉官方信息,Model Y 采用了铝铸工艺,将车身后部包括防撞梁的部分一体成型,70 个零件减少到 4 个,进而最后降为 1 个。帮助特斯拉实现这个功能的,正是特斯拉与力劲科技子公司 IDRA 联合研发的 6000T 压铸机。

在传统汽车的白车身制造中,需要将不同厚度的规格钢板切割成不同形状,冲压成型后得到许多小部件,再将各部件由人工或机器人焊接到一起,组成完整的白车身。而在特斯拉的一体压铸工艺下,高压气体将金属溶液(通常是铝合金溶液)压入复杂的模具内,定型后即可一次得到复杂的车身部件。将几十个小部件一次成型,取代了小部件切割板材、冲压、焊接的步骤,不仅提升了部件的刚性,生产线的自动化程度和生产效率也自然提升。
目前,特斯拉的弗里蒙特工厂、上海超级工厂,以及正在建设中的柏林超级工厂,都采购了 IDRA 这种巨型超级压铸设备。根据特斯拉早前申请的压铸机专利显示,特斯拉计划最终车身只有 5 块压铸件组成,底盘只有 3 块压铸件。试想一下,一辆车的车身+底盘,只有 8 块压铸件构成,难怪不少人把 IDRA 压铸机称作「特斯拉打印机」了。

目前,Model Y 生产线上巨型压铸机的使用,已经取代了 300 个用于冲压、焊接的机器人,使上海超级工厂里 Model Y 的生产达到 2 分钟/辆。特斯拉声称 2021 年的产能已经达到 105 万辆/年,这其中,少不了像巨型压铸机一样提升生产效率的「秘密武器」的帮助。

铝铸件,汽车的老朋友了
虽然特斯拉的一体化压铸车身给大家带来了惊喜,不过铝铸件和压铸工艺,在汽车里并不是新尝试。随着汽车轻量化要求的提升,铝合金铸件的使用量也在逐年增长。1990 年时,每辆车上只有 50 公斤铝合金材料,2020 年单车铝用量达到 190kg,翻了近 4 倍。从力劲科技的合作伙伴上,也能看到铝铸件在汽车中的普及:通用、宝马、克莱斯勒、奔驰、奥迪,以及国内的一汽、二汽等,都在使用 IDRA 的压铸机,汽车业务占力劲科技 65%的份额。
不过,与特斯拉的压铸车身不同,目前铝铸件普遍使用在变速箱壳体、发动机罩盖、油底壳以及轮毂上,通常部件尺寸较小,形状复杂程度不高,后期维修更换相对容易。
将 70 个零件合成 1、2 个部件,如此大的铝铸件的使用,特斯拉还真是「第一个吃螃蟹的人」。

也正因如此,对于车身铸造件后期维修成本的质疑纷至沓来。
比如:车身一体化后,磕了碰了怎么修?难道整个车身都要更换?
虽然特斯拉的畅想很大胆,不过 Model Y 只选择了后地板这个小区域来尝试,也是出于安全性的考虑。这个区域位于车身内部,通常是发动机或者动力电池包放置的位置,很少会发生直接碰撞。试想一下,如果一辆车的电池包都撞坏了,就算是传统冲压车身,也要回厂大修了吧。
「汽车打印机」的普及或还为时尚早
特斯拉的带货能力毋庸置疑,比如 2012 年推出的极简大屏和去物理按键设计,如今几乎成了座舱的标配。这次的一体压铸车身是否会引领未来车身制造的潮流呢?
马斯克对未来的展望是「如同生产玩具车一样来生产特斯拉产品」。可实际上,「汽车打印机」的实现还有很远的距离。
通过巨型压铸机得到的铝铸件固然可以提高汽车生产的自动化程度、提升生产效率、实现车身的轻量化,相应的车身刚性也会提升,但是在实际生产中可能面临的问题,几乎比优点还多。
与汽车零部件 PPM(百万分之几)的故障率相比,铸造件产品一致性的把控一直是难点。如何解决压铸机中压入金属液体所需的高压气体的残留,避免合金中的气泡;如何保证各处合金件各处壁厚的一致性;如何避免合金件冷缩带来的缺陷等问题,都使高压铸造件的报废率很高,一致性较差。

对于特斯拉这样一家「不拘小节」的车企,消费者似乎更宽容,技术的创新也许比细节的打磨更重要。但是对于更多的传统车企来说,汽车标准化、一致化的准则下,成熟、可控的细节,相对稳健的选择,可能比抢先使用「一体化车身」更重要。
2019 年,特斯拉申报了关于「新型铝合金材料」的专利,其中显示 Model Y 将与 SpaceX 共用一种新型铝合金材料,强度更高,导电性更强。也许这是特斯拉解决压铸件质量控制的「秘密武器」?
相比于质量的控制,大型压铸机的推广还不得不考虑成本问题。特斯拉目前使用的 IDRA6000T 压铸机,单台设备约 600 万欧元,加上压铸周边设备,一套约 800 万欧元。在生产不同的铸造件时,新的模具开模开需要额外的费用和时间。
2020 年,Model 3 全球销量超过 36 万台,Model Y 显然也是以年销量几十万台为目标打造的。单一车型如此大的产量,给了巨型压铸机发挥优势的空间,无需重新开模,将生产效率和成本优化到极致。

对于传统车企来说,如果贸然抛弃原有的生产线而引入上不算成熟的巨型压铸机,显然并不划算;对于造车新势力来说,在需求和产量都没上去的情况下,大笔投资引入巨型压铸机,不仅做不到降本增效,反而有可能被拖入深渊。
当特斯拉把一体铸造车身这条路趟熟,大型铸造件的质量控制、成本控制以及售后维修问题的解决方案得到验证后,会有越来越多的车企选择一体化铸造车身这条路。
最后
在工业 4.0 时代,高度集成化和自动化的生产线所打造的智能工厂,是汽车制造商乃至制造行业的追求。力劲科技与特斯拉联手打造的车身一体压铸机,无疑为汽车生产的变革带来了一个新的选择。
同样地,特斯拉对于压铸车身的尝试,也让资本看到了力劲科技以及压铸机行业的更多可能性。目前,特斯拉已经采购了 15 台 IDRA 6000T 巨型压铸机。随着产能的提升和压铸车身在特斯拉车型上的推广,压铸机迎来的可能是高达百亿的行业空间。
不过,这种预期目前已经在力劲科技的估值上有所体现,未来的走向,还需要更多「汽车打印机」的普及来支撑。
相关推荐
这家公司,被称为「特斯拉打印机」
在线教育火了,打印机的春天到了?
家用打印机被网课“拔苗助长”?
潮科技 | 金属3D打印机制造商「Titomic」拿下2550万澳元订单,为全球国防供应商供货
数据公司特斯拉
要成为全球性供电公司?特斯拉发布全新产品
融资92亿美元,叫板特斯拉,这家公司凭什么?
苏宁48亿买下家乐福中国;可口可乐绿雪碧瓶要变透明;3D彩妆打印机Mink面世 | 一周消费新闻Vol.40
市值超过丰田,特斯拉真比这家老牌汽车巨头价值更高?
定位于家庭中的教育场景,「小白学习盒子」要改造传统打印机市场
网址: 这家公司,被称为「特斯拉打印机」 http://www.xishuta.cn/zhidaoview17579.html
推荐专业知识
- 136氪首发 | 瞄准企业“流 3930
- 2失联37天的私募大佬现身,但 3220
- 3是时候看到全球新商业版图了! 2809
- 436氪首发 | 「微脉」获1 2759
- 5流浪地球是大刘在电力系统上班 2708
- 6招商知识:商业市场前期调研及 2698
- 7Grab真开始做财富管理了 2610
- 8中国离硬科幻电影时代还有多远 2328
- 9创投周报 Vol.24 | 2186
- 10微医集团近日完成新一轮股权质 2181
