自动驾驶拿掉安全员,科幻大片现实上演还有多久?
编者按:本文来自微信公众号“车云”(ID:cheyunwang),作者:杨璐,36氪经授权发布。
无人汽车、自动驾驶……人们都知道它存在,但大多数人还没用过甚至没见过,自动驾驶何时能走进日常生活,近日Waymo报告的发布似乎将这个愿望拉近了一些。
Waymo在首份关于其自动驾驶汽车在亚利桑那州凤凰城的测试情况的报告中披露,自从首次在凤凰城测试其自动驾驶技术以来,Waymo汽车总共行驶了610万英里(约合982万公里),其中6.5万英里(约合10.5万公里)是在无人驾驶的情况下完成的。此外,从2019年到2020年的前9个月,Waymo的车辆发生了18起小型事故以及29起险些相撞事故。

waymo安全保障图解
Waymo作为自动驾驶的领头羊,一举一动备受行业关注。这份报告说明了自动驾驶当前的应用形势,事故的发生类型及频率。一个专业领域玩家能够把它缺憾的一面展示出来,意味着距离可以弥补这个缺憾不远了。
无人驾驶场景应用,资本有热情技术有难度
作为自动驾驶研究的领头羊,Waymo在尚不复杂的路况测试中仍发生了多起事故,这可能也是自动驾驶普及最大的难点,即安全性。而且在不同的场景化落地过程中,对自动驾驶的要求亦有不同。
自动驾驶技术分为六个级别L0-L5(无自动化、驾驶支援、部分自动化、有条件自动化、高度自动化、完全自动化),中国目前的无人车技术刚来到L4级别,Waymo也处在L4阶段。根据普华永道的一项调研报告显示,第一批L3级自动驾驶汽车预计将在2022/2023年推出,第一批L4级自动驾驶汽车预计将在2025年投入使用。
所以在未来3-5年的时间,国内谁有机会在此赛道先发制人?事实上,安全在不同的应用模式中有不同的定义,而自动驾驶企业的“专攻”领域还略有差别,比如正在L4级别中的几家自动驾驶企业与服务商:驭势科技集中为大出行与大物流提供解决方案;小马智行主推自动驾驶打车服务;纵目科技则专攻高级汽车辅助驾驶产品与技术;相比之下,Apollo更加全面一些,毕竟百度是国内最早投身自动驾驶研究的企业。
目前看来,物流配送、港口码头、矿山矿场、无人出租车等是应用较为广泛的场景。在物流配送方面,驭势科技称已在香港国际机场“拿掉安全员”,批量投入完全自动驾驶物流车,进入常态化运输工作。当然,机场环境较为复杂,路面包括工作人员、其他车辆以及专门设计的单车道等,对完全自动驾驶物流车是个考验,因此技术上要确保万无一失需要完备的安全测试。

对于此类担忧,驭势科技相关负责人对车云网表示,“和香港国际机场携手运营无人驾驶物流车,从测试部署、运营测试再到正式运营合作2年多,2019年12月正式开启常态化运输,疫情期间亦未曾停工,期间未出现过因无人驾驶系统故障带来的任何失灵以至停工的情况。”不过,驭势科技的去安全员无人驾驶技术主要在机场、厂区、园区等商业运营中普及,属于L4级别,根据国际惯例,L5级和L4级的唯一差别在于场景是否受限。在特定场景下,驭势科技在无人驾驶运输的商业运营中实现了“移除安全员”,即在无人车运行中完全不需要人类接管和操作。
港口码头与机场的运输需求与环境相似。前不久,辰韬资本旗下智驾基金发布的一份港口自动驾驶赛道研究报告详述了港口自动驾驶领域的发展前景,自动驾驶技术在港口运输的应用具有较大的市场空间。

辰韬资本智驾基金合伙人萧伊婷表示,“投资港口自动驾驶的原因之一在于其商业模式的清晰,第二个重要原因是港口无人集卡由于底盘相同、场景类似、软硬件方案一致、产品化和工程化技术类同,因此可以较容易的走向半开放、开放区域。随着港口自动驾驶技术的成熟和落地,无人驾驶集卡可以更快的向干线物流延伸,未来整个市场可以拓展至万亿级别。”
不过,港口自动驾驶落地的难度也不小,除了与机场相似的常规问题外,还有如厘米级的精准停位、大型设备的识别与交互、金属对无线信号传输的干扰等,这些都需要技术的进一步突破,完全落地依然还需一段时间。
尤其今年以来,受疫情影响,货运枢纽的无人化作业变得更加重要。全国政协委员胡剑江认为,近年来,我国在无人驾驶领域的研究和探索不断深入,但是对无人驾驶在物流领域的运用探索和实践还相对滞后,相关配套方面也还需要更大的突破。相关部门应加快出台专门政策支持“无人驾驶货车”运用于物流的研究,提升企业创新动力。
无人出租车赛道风头正劲
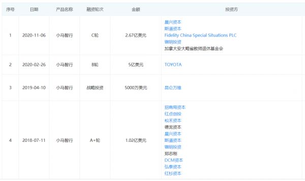
如果说机场、港口等的无人驾驶运输过于专业化,那么无人驾驶出租车可就与每个人息息相关,这也是大家最为期待的领域。目前国内无人出租车尚在在区域测试与运营的阶段,但已经成了资本的宠儿。今年以来,已有多家该领域企业获得融资。公开资料显示,5月13日,Waymo获7.5亿美元追加投资,首次融资总金额超过30亿美元;5月29日,日本软银集团牵头向滴滴自动驾驶子公司投资超5亿美元;11月6日,自动驾驶独角兽企业小马智行宣布获得2.67亿美元的C轮融资。

资本看好自动驾驶出租车,其市场价值不言而喻。今年国家发改委首次明确新型基础设施的范围,指出将5G、物联网、工业互联网、卫星互联网、人工智能、云计算、区块链等信息基础设施纳入“新基建”。受多方因素影响,今年或是Robotaxi的爆发季。
Robotaxi的探索起始于2018年,对外全开放运营Robotaxi服务较早的是小马智行和文远知行,发展至今似乎达到一个小高潮。多方汇聚该赛道,开启新一轮的PK,2020年4月27日,高德宣布接入AutoX无人运营车队;2020年6月,滴滴在上海正式开放Robotaxi运营,用户在滴滴出行App中报名审核后,可在上海嘉定自动驾驶测试路段范围内呼叫自动驾驶汽车;今年8月,大众汽车集团宣布,旗下自动驾驶出行服务试点项目奕秒(ezia)正式在安徽合肥启动,这成为了大众在中国落地的首个Robotaxi项目;紧接着东风汽车公司宣布,将联合文远知行、元戎启行、驭势科技、AutoX等自动驾驶企业,在武汉开发区建立全国最大规模的Robotaxi车队。8月28日,百度又官宣其自动驾驶出租车(Robotaxi)和自动驾驶公交车(Robobus)将在广州上路。10月,百度Apollo Go在北京全面上线,设有10余个自动驾驶出租车上下车站点。

看似无人出租赛道一片向好,但也有不一样的声音。近日戴姆勒数字化转型部门负责人Sascha Pallenberg的个人推特上称“2020年我们不会拥有100万辆自动驾驶出租车是有原因的”他认为,如今自动驾驶行业还有几方面的困难,包括技术不成熟、价格昂贵。
以无人出租试乘人的反映来看,国内尚处于测试与体验的阶段,目前的无人驾驶出租车采取的还是“点对点”运行的模式,乘客的上车点和下车点,都必须在系统规定好的站点内选择,不能跨区运行,因此也并不是真正意义上的打车。
实现全面开放的无人出租车,最先要打破安全隐患。在Waymo的报告中,着重提到的事故发生率,说明企业层面、监管层面以及民众对于安全性的重视程度还是第一位的,所以出于安全等考虑,在全球范围内Robotaxi的测试仍然面临场景限制,且大多数仍需配备安全员。接下来,相继拿掉安全员是自动驾驶演进步骤中的关键一步。中国电动汽车百人会预测,2022年将出现完全自动驾驶车辆,2025年将实现完全自动驾驶车辆的量产,2028年所有的运营车辆将实现无安全员。
车云小结
Waymo首次将自动驾驶的安全与事故现状剖析出来,具有积极的意义,让科技由虚幻变清晰,让大众从未知到已知。
国内的自动驾驶场景也相应落地,但仍在可控的范围内与特定的场景下运行,距离真正的自动驾驶还有很长一段路,在资本与政策的支持下,自动驾驶企业既要保证安全,又要加速商用步伐,肩负重担的自动驾驶还有多久可以走进生活、走进社会?
相关推荐
自动驾驶拿掉安全员,科幻大片现实上演还有多久?
干掉安全员,Robotaxi的下一站是哪里?
再创历史:谷歌Waymo拿掉人类司机,无人出租服务向公众开放
市场规模超万亿,无人驾驶出租车是下一个风口吗?
Uber安全员担责,掩盖自动驾驶的追责困境
2020年,科幻向上,现实向下:沉淀、整合、抓痛点
除了无人出租车,自动驾驶还能在哪些场景自我造血?
「文远知行」发布自动驾驶出租车Robo-Taxi试运营报告,首月完成8396个出行订单
驭势科技CEO吴甘沙:明年年底前实现1000台“去安全员”的无人物流车常态化运营 | 自动驾驶36人
自动驾驶,巨头们的一场持久战
网址: 自动驾驶拿掉安全员,科幻大片现实上演还有多久? http://www.xishuta.cn/zhidaoview14656.html
推荐专业知识
- 136氪首发 | 瞄准企业“流 3930
- 2失联37天的私募大佬现身,但 3220
- 3是时候看到全球新商业版图了! 2809
- 436氪首发 | 「微脉」获1 2759
- 5流浪地球是大刘在电力系统上班 2708
- 6招商知识:商业市场前期调研及 2698
- 7Grab真开始做财富管理了 2610
- 8中国离硬科幻电影时代还有多远 2328
- 9创投周报 Vol.24 | 2186
- 10微医集团近日完成新一轮股权质 2181
