字节跳动“染指”本地生活?

图片来源@视觉中国
钛媒体注:本文来自于微信公众号投中网(ID:China-Venture),作者 | 雪颖,编辑丨李晓丽,钛媒体经授权发布。
向来在文娱科技板块布局字节跳动,破天荒地豪掷数千万投资了一家餐饮公司,还是一家“火锅店”。字节跳动这是要正式进军餐饮业,还是另有所图?
5月28日,懒熊火锅宣布完成数千万人民币的融资,投资方正是字节跳动。天眼查数据显示,懒熊火锅最大股东高飞持有42.5%的股份。字节跳动旗下的量子跃动科技有限公司持股15%,为懒熊火锅第四大股东。

备注:山西懒熊火锅超市管理有限公司股权穿透图
对此,投中网向字节跳动方面求证,对方回应称:不评论正常的财务投资。
字节跳动这笔投资意图为何?这是字节进军本地生活、探索新零售的前哨,还是主战场之外的一枚闲棋冷子,亦或出于其他考量?又为什么是这家坐落在山西的火锅项目?
不管是投资领域还是投资地域,似乎都超出了我们对字节跳动的既往认知。
懒熊火锅,这个投资标的实际情况如何,投中网在融资消息发出后,第一时间找到了太原当地的加盟商聊了聊。
一、懒熊火锅加盟商:前期投入几十万,半年后已回本
懒熊火锅虽然叫火锅,但其实是一家便利店。
它是一家集火锅食材、中餐成品、半成品、烤肉、精酿啤酒、生鲜食材于一体的火锅中餐连锁生鲜便利店。虽然字节跳动投资记录中懒熊火锅公司主体刚刚创立1年多,但资料显示,懒熊火锅其实已经存在16年了。
2004年,懒熊火锅刚创立之时,还只是一家只有五张桌子的小火锅店,到了2020年它的开店数已经扩张到了500家。
才刚宣布第一笔外部融资,懒熊火锅已经官宣了未来上市的计划:在天眼查的VIP认证资料里,懒熊供应链将“谋求在2025年上市”。
刚融资就要上市,懒熊火锅这是哪里来的勇气?
一位在太原加盟懒熊火锅的店主曹女士向投中网介绍了她的开店经历。曹女士是在2019年下半年加盟的懒熊火锅,加盟后生意很火红。
曹女士反馈,疫情期间,店里每天的流水能达到一万,疫情后降到了两三千左右。
曹女士表示,类似懒熊火锅这样的火锅便利超市在太原特别多,她曾在懒熊火锅和锅圈食汇之间也做过比较,最后选择了懒熊火锅,原因是整个店面更加亮堂,显得高大上。
在加盟懒熊火锅后,店面选址由曹女士决策,其他的装修、送货、收银都可以交给懒熊火锅,也可以在其提供的系统中可以自主订货,大部分菜品都能比堂食便宜一半。
投中网还了解到,懒熊火锅店内可以购买生鲜、火锅底料、火锅器具、米面粮油等商品,几十平米即可开店,2-3人即可经营,产品可以进行调换,依靠其供应可以实现数百种商品的配送和调换。
如今,曹女士加盟已半年多,前期投入的几十万成本目前已收回。
这么看来,字节跳动投资懒熊火锅似乎并非是无心插柳。尤其,懒熊火锅更为强调的是自己的供应链优势。其官方介绍显示,山西懒熊火锅超市管理有限公司成立于2007年7月,定位是一家专注经营火锅全产业链的餐饮企业,公司于2014 年投入资金一千万元建设火锅底料生产配送基地,旗下的食品公司已一次性通过SC审验,郑州全国供应链基地也将于2020正式投入使用。
二、字节跳动染指本地生活?
作为中国人最爱的吃食之一,火锅是消费领域的投资人重点关注的领域。不止是字节跳动,各家基金也有出手。
2月,食材供应链企业锅圈宣布完成5000万美元B轮融资,资由IDG资本领投,嘉御基金、不惑创投跟投。食材方面锅圈采用自研,提供超过400种火锅食材,以冻品为主,也包括成品菜和半成品菜。
3月,锅连锁品牌巴奴毛肚火锅宣布已获得近亿元人民币战略投资,由番茄资本独家投资。
5月,自热火锅品牌“莫小仙”宣布完成数千万元A轮融资,由金鼎资本独家投资,由青桐资本担任独家财务顾问。融资将主要用于线下渠道拓展、全产业链优化、品牌打造等业务,意在打造新生代专业的国民自热火锅品牌。
火锅的火热,也受到了疫情的催生。
“疫情期间带来的新消费场景,刷新了人们对火锅行业的认知。”
3月16日,阿里本地生活服务公司副总裁王景峰在饿了么商家大会上表示,疫情期间,火锅外卖的客单价是150元,远高于传统外卖品类。根据《中国餐饮报告2019》显示,2018年,火锅成为12个餐饮品类中,消费订单量占比最高的品类,占比高达20.3%。
另有资料显示,火锅业净利率约为11%,在餐饮业中处于居于首位,未来三年的市场空间或将超过7000亿。“某企业信息查询平台”数据显示,仅仅2020年1月31日到3月10日的短短40天内,全国新增了1519家火锅企业。
三、字节跳动投资一切?
看好火锅市场并不奇怪,投资方是字节跳动却耐人寻味。
一位关注消费领域的投资人告诉投中网,懒熊火锅在他眼中属于攒起来的项目,主要是某些投资人和创业者认为这个领域有机会。在这赛道中,懒熊排名第二、第一是锅圈,本质是供应链公司。
但这位投资经理自己并不考虑投资,他认为这个行业壁垒不够突出,官方配送的都是冻肉等产品,生鲜蔬菜等需要门店自配,货损率并不高,运营难度也不大。
至于字节跳动为什么投懒熊,该投资人认为这或许只是字节跳动的一次纯财务投资。
即便是投了一家赛道内排名第二的选手,本次投资数额也高达数千万人民币,参考量子跃动历年的投资标,这是除了中创视讯之外数额最高的一次投资。
确实,从投资版图来看,这次投资对于字节跳动来说确实很不主流。
字节跳动的投资主要分为三条线:
第一条是围绕其核心业务展开,重点在信息资讯、社交、文娱传媒等领域;
第二条线是拓展业务,重点在教育、游戏、金融、企业服务等领域;
第三条是从战略层面考量的财务投资。
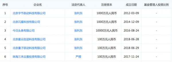
字节跳动旗下有多家管理基金,其五家法定代表人是二号人物张利东,一家法定代表人是严授。
回顾字节跳动的投资历程,自2014年底开始,字节跳动相继投资了图虫网、花熊、新榜、财新世界说、30秒懂车、每天读点故事、东方IC、快看漫画、新智元、机器之心等内容产品。

备注:字节跳动下的管理基金 数据来源:“某企业信息查询平台”
2015年下半年开始,头条布局广告业务,其投资的广告营销服务代理商有微聚信息、今日互联、金红花、灵豹广告等。
从2017年开始,字节跳动的投资版图开始延伸至海外,投资印度新闻聚合平台Dailyhunt,美国移动短视频创作者社区Flipagram,印尼的新闻推荐系统BABE、收购了美国Flipagram,收购了成立于中国主营美国市场的APP Music.ly,并同时从猎豹移动手中收购了新闻分享平台NewsRepublic。
字节跳动还在不断加码教育和游戏,字节跳动收购了AI游戏研发商北京深极智能科技有限公司,从三七互娱手上买来了上海墨鹍,曾推出过IP手游《择天记》、《全民无双》等作品。
字节跳动还买下了上禾网络,这家手游开放商的主要作品有《极限对决》、《如懿传》,并具备海外游戏的运营能力。


制图:投中网 数据来源:“某企业信息查询平台”
虽然字节跳动在投资上出手阔绰,但是绝大多数都围绕三条核心的条线展开。量子跃动近30个投资标的中,懒熊火锅是唯一一个涉及本地生活和消费赛道的项目,而这本是美团和阿里巴巴的强势领域。
3月12日,字节跳动成立八周年,张一鸣宣布组织全面升级,宣布字节跳动全球员工将达到10万人,他将重点关注如何更好地改进超大型全球化组织的管理、科技公司如何创造更多的社会价值以及思考和规划教育等新战略方向。
当字节跳动开始投资火锅,它又一次拓展了新边界。(投中网作者Ellie、林开浩对本文亦有贡献。)
相关推荐
字节跳动“染指”本地生活?
字节跳动数千万投资火锅超市,加盟商称投资几十万半年已回本
通过巧妙制度安排 字节跳动保住对TikTok美国绝对控制权
字节跳动出海史,张一鸣如何在全球跳动字节?
字节跳动“海淘”全球人才
字节跳动印度出海“计”
Helena Lersch谈字节跳动东南亚发展:“我们的旅程才刚刚开始”
美团财报里的“本地生活消费复苏”
字节跳动为什么一直在招人?
字节跳动吃掉一切
网址: 字节跳动“染指”本地生活? http://www.xishuta.cn/zhidaoview10376.html
推荐专业知识
- 136氪首发 | 瞄准企业“流 3930
- 2失联37天的私募大佬现身,但 3220
- 3是时候看到全球新商业版图了! 2809
- 436氪首发 | 「微脉」获1 2759
- 5流浪地球是大刘在电力系统上班 2708
- 6招商知识:商业市场前期调研及 2698
- 7Grab真开始做财富管理了 2610
- 8中国离硬科幻电影时代还有多远 2328
- 9创投周报 Vol.24 | 2186
- 10微医集团近日完成新一轮股权质 2181
