名创优品的灰色金融生意:现金贷高炮利率400%,还开了一家催收学院
编者按:本文来自微信公众号“互金商业评论”(ID:hujinshangping),36氪经授权发布。
近日,“十元店”名创优品传出IPO的消息。成立6年来,这家主打廉价日用消费品的连锁店开店超过3600家,年销售额达到170亿元。但是,在其神话般的扩张背后,创始人叶国富精心设计的灰色金融链条正在暴露出巨大风险。
“看不懂我们的人,就像十年前你看不懂阿里巴巴一样。”2016年,初中毕业的叶国富站在创业黑马社群大会上,自信的隔空“教育”线下零售的一众大佬。
叶国富自有骄傲的资本。在短短3年时间里,他将一家名为“名创优品”的十元店,发展到2000家自营和加盟店,年销售额近100亿。
到2018年底,“名创优品”的店铺数量已经达到3600家,销售额170亿。
以一家店铺平均200万元初始投入成本计算,“名创优品”如果全部以自有资金投资,至少需要70亿元人民币。
但叶国富既没有借钱,也没有融资(仅去年下半年接受了腾讯与高瓴资本的10亿元战略投资)。他依托“名创优品”设计了一个复杂又庞大的资金盘,借助P2P平台、现金贷高炮、押金资金池等构成一个资金闭环。
但是,这一闭环能够存在的基础是名创优品能持续为数千名加盟商创造合理利润。一旦风头过去,名创优品的加盟店陷入大面积亏损,加盟商撤资,借贷违约,极有可能引发叶国富的资金盘分崩离析。而叶国富闯入现金贷灰色地带并经营催收业务,则为其本人和名创优品带来巨大的法律风险。
加盟商沉淀资金超过20亿
公开信息显示,成立于2013年的名创优品发展迅速,到2018年底已在全球开店超过3600家,年销售额170亿。
名创优品的病毒式扩张速度令人瞩目。2013年,名创优品开店仅27家;2014年,开店数量猛增至373家;2015年又增至1075家;2016年底达到2000家,当年销售额97亿元。
在这个过程中,名创优品所依赖的模式是“加盟与合作”,加盟商承担承担品牌使用费、门店租金、装修费和首笔铺货的货款,名创优品则负责门店营运和员工招聘及商品配送。在这一模式中,加盟商相当于LP投资人,只出资不需要管理,名创优品相当于管理人(GP)。迄今为止,名创优品的直营和合作店占比4成,加盟店占比6成。
加盟商要投入多少成本呢?根据名创优品公布信息,以单个店铺为例,加盟商需要缴纳品牌使用费8万元(每年缴纳)、货币保证金75万元,货品保证金是首批配货和后续每次入货的抵押金,免去加盟商的订货烦恼,店铺装修费35万。合作期限至少3年。在合作期内,加盟商还要承担店铺租金、水电费、员工工资、工商税务等。

因此,加盟商初次投入至少要200万资金,仅交给名创优品的押金就有100万-120万,仅此一项,2000多家加盟店就为名创优品沉淀资金20亿以上。这20多亿的资金没有任何监管措施,名创优品既可以用于开设自营店,也可以用于对外放贷(后面详细讲述)。
目前,名创优品自营与合作店数量大约1400家,如果按自营与合作店5:5比例计算,名创优品至少需要投入自有资金21亿元。这恰好接近叶国富从加盟商手中收取的加加盟费和保证金。
在行业欣欣向荣,加盟商都能赚钱的时候,没有人会关心沉淀保证金的去向以及安全。一旦加盟品牌走下坡路,加盟商普遍亏损时,加盟费就会面临“挤兑”,这时候才是考验品牌商资金链条的时刻。
1/3店铺陷入亏损,加盟商沦为肉鸡

名创优品的加盟商赚钱吗?其真实回报率有多少呢?巨大的初始成本压力下,为何还有众多加盟商选择名创优品?
这就不得不提到名创优品的收益结算模式。按照双方协议,加盟商每天分享前一天营业额的38%(食品、饮料33%)现金作为收益,名创优品分享62%的现金收益。
三和大神去工地搬砖才能享受的日结现金的待遇,被叶国富别出心裁的应用到线下零售加盟领域,竟然收到了奇效。
名创优品创立之初,其模式确实有独到之处,早期加盟商沾了品牌红利的光,还是赚钱的。但随着快速扩张与市场竞争者的增多,名创优品后期加盟商不得不面临亏损风险。
据投中网报道,名创优品的工作人员曾透露,10%的店铺处于亏损状态,原因是选址不理想和租金过高。而另有媒体曾报道曾,根据测算,名创优品约三分之一的加盟店处于亏损状态。
真实情况如何呢,我们完全可以根据公开数据测算一下加盟商的投资回报率。
截至2018年底,名创优品3600家店实现了170亿元的收入,平均单店年收入472万元,月均收入39万元,日均收入1.3万元。而截至2016年底,名创优品2000家店实现收入97亿元,平均单店年收入485万元。这说明,随着名创优品店铺数量的快速增长,其年均收入出现了下滑,单店运营效率并没有得到提升。
按日均1.3万元收入计算,按照名创优品和加盟商62:38的分成比例,加盟商年均收入为180万元。再来看看加盟商的成本,店铺方面,名创优品大多选址在市区繁华地段的大型商场内,150-200平方米的店铺租金少则10万每月,多则20几万,按最低10万计算,每年租金支出120万。4-5名店员每年成本15万-20万。水电费每年1.5万;工商税费按15%的税率计算,至少27万元;还有加盟费每年8万元;计算下来,加盟商每年固定开支171万-176万。营收支出抵消后,加盟商白忙一年。
如果再算上第一年支出的一百多万的押金成本,加盟商实际是亏损的。
实际上,按照加盟商的押金和开支计算,每年的资金投入接近300万元,按10%的年化收益率计算,店铺每年净利润至少30万元才有投资价值。倒推计算可知,单店年均收入至少要600万元,加盟商才能获得10%以上的利润率。这一年均收入金额比目前名创优品的实际数据高近30%。
按年均收入600万元计算,日均营业额需要达到1.67万元,按每天正常营业10个小时计算,每小时要实现营业收入1670元。根据名创优品披露的客单价30元计算,每小时需要有55名顾客,平均每分钟一个人买单!除了常年排队的网红店以外,恐怕没有哪家店铺能达到这样的顾客密集度。
当然,要提高单店营业收入,除了增加客户数量外,也可以通过提高客单价解决。但名创优品70%以上的商品都是10元单价,这个短期内似乎也难以改变。而且商品价格提高,客群数量必然会受到影响。从这个意义上来说,名创优品门店的收入似乎撞到了天花板,加盟商沦为名创优品大肆扩张、吸纳巨额保证金模式下的“肉鸡”。
从现实看,名创优品的发展现状也远远未达到叶国富曾吹过的泡泡。叶国富曾表示,到2020年全球开店6000家,一般在海外,营收破600亿。但如今,开店数量已经实现60%,但营收只实现了28%。
要在2020年实现600亿的销售,名创优品的销售收入要在接下来的两年内翻两倍,单店年均收入达到1000万,除了财务造假,商评君实在是想不出有什么可能性。

截图来自名创优品公开披露信息
曾与名创优品互撕过的诺米家居创始人陈浩曾指出,名创优品的大多数商品都是耐用品,复购率低,其店铺必须用高客单价来保证销售额。名创优品是金融玩家的游戏,开店数量的暴增反而暴露了其加盟成本越来越高、加盟商亏本倒闭、国内扩张速度骤减的多重经营风险。事实上,名创优品多数加盟商很难逃离“开业3月流水下滑,开业2年出现亏损”的怪圈。
零售外衣下的灰色金融版图
当然,对叶国富来说,名创优品“肉鸡”加盟商是否赚钱并不重要,他的财富秘密在于这一模式背后的复杂资金池闭环。
互金商业评论注意到,在叶国富的金融版图里,既有面向C端个人投资者的P2P平台作为资金端,也有向B端加盟商发放经营贷款的资产端;除此之外,叶国富还悄悄布局了现金贷业务,其现金贷高炮产品年化利率高达360%;更为诡异的是,叶国富还雄心勃勃的进军了催收业务。其互金布局之广,远远超过一般的互联网金融创业公司。与其说名创优品是一家线下零售连锁,其更像一家披着零售外皮的放贷公司。


2015年,叶国富成立了P2P网贷平台分利宝,平台运营主体为广东分利宝金服科技有限公司,注册资本2.22亿元,实缴资本5500万元。2016年1月,公司法定代表人由叶国富换成他的老部下莫劲云。分利宝是广州市普惠金融协会副会长单位、广州互联网金融协会理事单位,而叶国富本人还是广州互联网金融协会的副会长。
截至2019年5月底,分利宝累计交易总额58.45亿元,借贷余额2.95亿元;当前出借人数3209,当前借款人数401。新网银行披露信息显示,2017年8月7日,分利宝完成全量业务上线存管。从规模看,分利宝的存量规模不大,2017年待收余额最高的时候是5亿左右。
投资标的方面,分利宝平台上的融资项目都是企业融资项目,单个标的金额为100万元,期限分3个月、4个月、6个月和12个月。3个月的标的年化利率7.5%,6个月的年化利率8.5%,12个月的年化利率9.5%。
从借款人基本资料看,大部分属于名创优品的加盟商。根据此前名创优品的对外宣传文案,由于以加盟的方式开一家名创优品店投资额在200万元左右,一般的中小投资人还是有一定困难的。因此,分利宝就推出了加盟商融资服务,平均资金成本为年化18%。因此,分利宝仅从资金利差上就赚了加盟商8%以上。
互金商业评论注意到,分利宝部分借款人借款金额疑似超过了监管允许的“单个法人在单一网贷平台借款金额不得超过100万”的规定。如企业经营融资项目B1906023和B1906024项目,两者借款期限均为12个月,借款金额100万,借款人均为福清某公司,借款人月收入均为32万元,负债0元。这种高度雷同的内容难道是巧合吗?


此前,曾有媒体质疑,叶国富的分利宝平台有自融嫌疑。加盟商借助实体店或自有资产担保,通过分利宝融资开店,获得的资金用于向叶国富支付品牌加盟费以及保证金等。
本质上讲,出借人的资金通过加盟店之手回流到叶国富手中,完成了一个内部循环。部分店主更是通过这种融资方式,放大了投资杠杆,其背后的风险不言而喻。
而叶国富在此过程中,没有提供任何资金,却一鱼多吃,不仅吃了出借人与借款人之间的资金利差,还积累了20多亿的无息资金池,每年仅资金池就有一大笔无风险利润入账。
根据分利宝此前的公开宣传,分利宝已经构成一个闭环金融生态系统,其成功应用于名创优品等大型品牌连锁机构,为这类品牌机构代发12000多人的工资与报销、3000多家供应商的结算款、1000多家线下门店的结算款。
现金贷高炮年化利率达400%
通过名创优品沉淀了几十亿的加盟资金后,叶国富将触角伸向了最赚钱的领域:现金贷。这里不得不佩服叶老板,一个做10元店零售起家的老板,金融嗅觉竟然好过大批搞互金的专业人士。2015年6月,叶国富成立了广东缺钱么网络科技有限公司,2016年1月,广东缺钱么网络科技有限公司又设立了子公司广州借钱么网络科技有限公司。从时间上看,这应当是最早的一批现金贷公司了,二三四五也是2015年才转型现金贷的,拍拍贷2015年还在亏损,2016年推出现金贷产品曹操贷以后,才成功上岸。可见叶老板才是真正的互金圈老司机啊。

企查查显示,广州借钱么网络科技有限公司名下有两项软件著作权,分别是“借钱么”和“缺钱么”。其中,“缺钱么“是叶国富的拳头产品。

公开资料显示,“缺钱么”自称与多家城商行、消费金融公司达成合作,最快10分钟即可放款到帐,其申请门槛低,年满18岁,有身份证就能取。,是帮助中国数亿工薪群体、白领精英和大学生解决急周转、借钱难的小额贷款。
互金商业评论注意到,在安卓市场上下载“缺钱么“后,显示软件开发者为广东缺钱么网络科技有限公司,最后更新时间为2018年10月17日。而根据监管的要求,2017年之后,互联网金融机构严禁面向大学生开展校园贷业务。“缺钱么”为何还公然将大学生列为目标客户,令人费解。

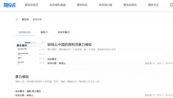
在聚投诉2018上半年投诉量≥100件的现金贷平台里,“缺钱么”也和买单侠、微博钱包、信用白条、360借条等众多机构并列进入投诉榜单中。互金商业评论搜索“缺钱么”,相关投诉贴高达699起,大多涉及高利贷、暴力催收、轰炸通讯录等情形。

例如,投诉人李先生发文称,他在“缺钱么”借款7次,最后一次借款2220元因变故出现逾期,92天后逾期费用高达2042.4元,计算下来综合年化费率高达400%!
李先生称,“缺钱么”在3个月的时间里更换了4个外包催收公司,全部暴力催收!辱骂通讯录的亲朋好友,并且将家里老人气病!
李先生在投诉中表示,他个人愿意偿还合理合法的本息费用。李先生提交的与催收人员的对话记录显示,他提出先偿还1000元本金,其余的过几天再给,但遭到催收人员拒绝。

“缺钱么”的利息到底有多高,互金商业评论查看聚投诉上几十名借款人提交的截图发现,“缺钱么”逾期一天费用为本金的1%,且累计不封顶!加上收取的砍头息和利息,综合年化费率高达400%。
如董先生2019年3月13日提交的投诉显示,他欠款1000元,逾期100天后,逾期费用1000元,平台强行从其借记卡划扣2000元后,APP借款页面显示他仍需要偿还360元。
2018年3月28日,中国互联网金融协会发布《互联网金融逾期债务催收自律公约》,对互金逾期债务催收行为进行了规范,其中明确要求,对于以利息、违约金和各种费用形式对债务人收取的综合资金成本超过国家相关法律规定的,不得对超出部分进行催收。
具体标准是什么呢?根据最高人民法院的相关法规,民间借贷年利率24%以内的受法律保护,超过36%为无效。从目前全国各地法律宣判的互金公司与借款人之间的官司看,法院仅支持互金机构收取24%以内的综合费率。
不得不提的是,“缺钱么”此前就曾因暴力催收被海南电视台曝光。
据海南电视台“直播海南”栏目2018年11月17日报道,海南儋州的符女士2016年在“缺钱么贷款平台app”上借了三千块钱,最后有两期逾期,广东缺钱么网络科技有限公司委托催收公司追索5000多元的逾期费用,催收人员不仅一天数百个电话短信轰炸符女士通讯录的亲朋好友,还向符女士的丈夫梁先生以及亲友手机上发送了PS的淫秽图片和文字。
在采访记者质疑对方这种极端催收方式是否合适时,广东缺钱么网络科技有限公司工作人员振振有词的回复称,“怎么催收不是你来决定的,你要是觉得侮辱到你可以去投诉啊。”不仅如此,该公司工作人员还扬言,只要符女士不结清逾期费用,对其通讯录的狂轰滥炸就不会结束。
从众多投诉中可以看出,“缺钱么”是一款典型的毫无风控、单纯依赖高利息覆盖高逾期的违法714产品。自诞生以来,714产品就成为互金行业众多投机分子赚快钱的工具。哪怕监管三番五次下禁令,央视315重度曝光714平台后,仍有不少投机者铤而走险,转到地下放贷。
从本质上讲,现金贷高炮产品是现金贷行业的毒瘤,扭曲了整个互金行业的价值观。就连牛津耶鲁毕业的高材生、富二代都经受不住诱惑,投身714高炮,可见对互金行业毒害之深。此外,高炮产品的大行其道,也恶化了互金企业在监管和公众舆论中的形象,加速了很多一刀切政策的出台,最终伤及的是合法合规的从业者。
互金商业评论亦注意到,聚投诉里有一部分用户借款后自始至终未尝还过贷款,也从未和平台协商偿还合法本息,这个少数群体显然是网贷老赖,对这部分用户,借款机构完全可以运用合法合规的催收及诉讼手段,并将其上报至百行征信等机构的黑名单。但对那些努力还款且主动和平台协商偿还24%以内费率的借款人,现金贷机构则不应拒绝。如果为了逼迫用户支付超出国家法定标准十几倍的利率,不惜动用暴力催收工具,显然踩了红线,触犯了法律。对此类情形,决不能简单的用一句“欠债还钱、催收有理”来解释。
转型为“三无”现金贷产品导流
互金商业评论注意到,在缺钱么APP里,广东缺钱么网络科技有限公司在2019年3月26日公布了一份“严正声明”,称有不法公司、机构和个人假借公司旗号以提供网络借贷的名义进行诈骗活动,并表示,公司已经完全停止现金借贷业务,从未授权任何第三方进行网络现金借贷。

但是,奇怪的是,直到2019年6月20日,仍有人在聚投诉上投诉称,“缺钱么”持续在进行暴力催收。可见,“缺钱么”就算不放款了,暴力催收并没有停止。
因此, “缺钱么”所谓“停止现金借贷业务,可能是该公司慑于监管政策,为躲避风头转型做导流业务。
在“缺钱么”APP内,有多个疑似高炮产品,互金商业评论点开其中一个产品,没有披露主体信息,也未披露任何放贷资质证明。
而根据规范互联网信贷的“141号文件“,“未依法取得经营放贷业务资质,任何组织和个人不得经营放贷业务”。“缺钱么”为无资质现金贷产品导流,显然违规了。

“缺钱么”疑似为现金贷高炮产品导流
此外,公开信息显示,“缺钱么”运营主体也没有互联网小贷牌照,并不具备合法放贷资质。但自“141号文”下发直到其发布公告为止,“缺钱么”一直在开展现金贷业务。
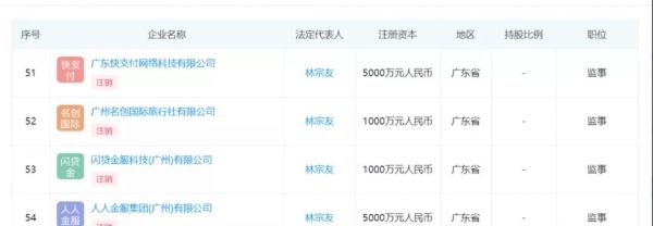
2015年,广东赛曼投资有限公司成立了人人收信用管理有限公司(以下简称“人人收”),注册资金5000万。人人收公司介绍显示,其在成立后一年多时间里,存量资产规模已达近12 亿,并在全国分公司配备专职催收员将近 200 个。

截止目前,已在北京、广州、深圳、成都、重庆等十几个城市设立了分公司,并在2016年创办了催收学院。公开信息显示,2016年3月24日,人人收获得来自老板叶国富的A轮融资。
而企查查信息显示,叶国富持有间接持有人人收97.88%的股份,为公司实际控制人。
商评君的疑问是,叶国富的人人收是否曾参与过旗下现金贷产品“缺钱么”的催收工作?
相关推荐
名创优品的灰色金融生意:现金贷高炮利率400%,还开了一家催收学院
由“714高炮”引发的现金贷监管反思
“714高炮”的后315时代:有人狂欢有人离场有人更癫狂
十大关键词复盘消费金融2019:严打套路贷、开放平台、IRR36%成主旋律
现金贷江湖,“谁”套路了“谁”?
315曝光的“714高炮”是什么?这些平台你要躲开
名创优品这家中国“杂货店”的出海生意
贷款超市乱象禁而不绝,北京摸排超利贷风险
IPO开盘大涨22%,但名创优品的故事越来越不好讲
现金贷出海俄罗斯:年化利率547%,钱却不好赚
网址: 名创优品的灰色金融生意:现金贷高炮利率400%,还开了一家催收学院 http://www.xishuta.cn/newsview6976.html
推荐科技快讯
- 1问界商标转让释放信号:赛力斯 95792
- 2报告:抖音海外版下载量突破1 25736
- 3人类唯一的出路:变成人工智能 25175
- 4人类唯一的出路: 变成人工智 24611
- 5移动办公如何高效?谷歌研究了 24309
- 6华为 nova14深度评测: 13155
- 7滴滴出行被投诉价格操纵,网约 11888
- 82023年起,银行存取款迎来 10774
- 9五一来了,大数据杀熟又想来, 9794
- 10手机中存在一个监听开关,你关 9519
