自动驾驶L4,还没做完选择题
“一家公司的进展快与慢,就得看产品与商业应用之间的距离,这是自动驾驶下半场唯一衡量标准。”自动驾驶独角兽公司小马智行的创始人楼天城曾在采访中表示。
一位投资人曾向谈擎说AI提到过其投资自动驾驶赛道的三个主要指标:技术、可行性和前景。
“在19年之前,L4的Robotaxi一直都是最热的”这位投资人向我们表示,“因为这条路线在维度上避开了主机厂的壁垒,前景较为广阔。资本越看好,技术就越多往这边涌,前几年这个路线上,前景、技术和资本形成了一个正循环。”
2018年,摩根士坦利的一份报告显示,布局L4 Robotaxi自动驾驶的Waymo在当年估值已经达到1750亿美元,前些年赛道上一系列独角兽企业正是崛起于这个前景广阔且资本密集的路线。
而根据投资者网站PitchBook的数据,今年Waymo最新估值约为300亿美元,这一数字相较于3年前,已经缩水超1400亿。如今的L4路线最让业内人士和投资人们抓耳挠腮的,恐怕是这三个主要指标的短板效应开始出现,即可行性的瓶颈凸显,这就导致了赛道上几年来积聚的肥厚“泡沫”,于19年后开始出现破裂。
01、“战略”调整
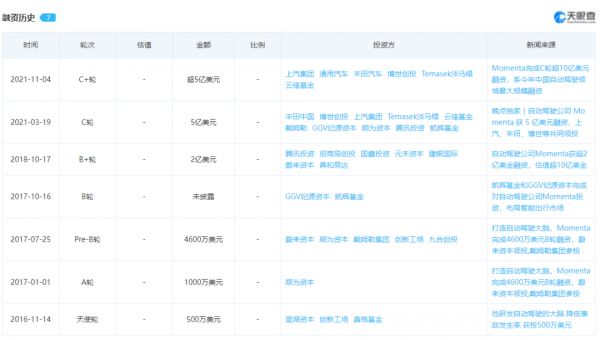
从天眼查数据统计当前小马智行、文远知行、Momenta这三家本土L4路线独角兽近年来的融资数据,能够一定程度上直观地看出赛道的泡沫消解现象:
Momenta自18年10月B+轮融资,后续两年多未获得新融资;文远知行自19年1月A+轮融资后,接近两年未获得新融资;相较于前两者,有楼天城和彭军两位业内明星创始人加持的小马智行虽融资节奏较为稳定,但今年也仅在年初得到了一轮1亿美元的融资。
然而相较于小马智行,在融资历程约两年的沉寂后,Momenta和文远知行似乎是迎来了“第二春”,谈擎说AI认为,这或许与两者分别于2020年出现的战略调整存在一定关系。

(天眼查数据:Momenta融资历史)

(天眼查数据:文远知行融资历史)
囿于L4路线的瓶颈凸显,2020年,Momenta定下了“飞轮+两条腿”的布局模式,不再“死磕”L4完全自动驾驶,而是把L2切入的ADAS业务兼顾;文远知行的战略调整,则可从20年末宇通集团的B轮融资窥见端倪,在此轮融资后,文远知行除了Robotaxi业务之外,开始切入新场景,跟宇通研发无人驾驶小巴(Mini Robobus)。
而另一边的小马智行并非慢上对手半拍,据《晚点LatePost》报道,同样是在2020年,小马智行开始加大对卡车自动驾驶的投入,核心团队逐渐成形:小马智行创始成员之一刘博聪负责感知技术、孙浩文负责国内规划与控制、贺星负责卡车车队管理等物流运营系统。同期,小马智行成立美国卡车部门,潘震皓负责全球卡车自动驾驶技术研发。
只不过小马智行的卡车业务并没有长久,《晚点LatePost》报道,小马智行在近几个月连续遭遇上市计划搁置、重要业务调整和关键技术人员离职。9 月调整后,国内卡车路测仍在进行,但美国卡车路测已暂停。
谈擎说AI认为,直到如今,Robotaxi广阔的市场空间也是客观存在的,虽然偶有成果落地,但当前无疑面临着商业化可行性的瓶颈,这对于资本和独角兽们而言,都是一个暂时还看不到具体有多么深的“无底洞”。
也因此,技术路线和场景路线,似乎成为了Momenta们摆脱尴尬的一剂解药,当前业内普遍认为从这两个新选择切入,将会比Robotaxi更快商业化,这一点我们同样可以从Momenta和文远知行近年来的融资反馈看出。
为了一个共同目的,Momenta和文远知行已经分别做了一道选择题,打算进攻接下来的新题型,而小马智行虽在20年就已经做出选择,却在今天又“抹掉”了自己的答案,打算重新思考。
不难发现,技术和场景这两道选择题,不仅是当下L4自动驾驶赛道与资本间微妙关系的表征,同时也反映了独角兽玩家们正在逐步迈入深水区探索和博弈,在这场“争当首个吃蟹人”的游戏里,技术和场景的“第二春”,又有多大潜力呢?
02、技术路线:循序渐进还是一步到位?
今年4月,时任华为智能驾驶产品部部长苏箐公开表示:“(华为)打死都不会做Robotaxi,现阶段做Robotaxi的企业都得完蛋。Robotaxi是结果而不是商业目标,中国市场打车体验已经很好,自动驾驶并不会让这个体验更好。”
三年前资本眼中的香饽饽,如今却在苏箐看来,仅仅是一个“得完蛋”的产物。某自动驾驶初创企业项目经理刘畅(化名)认为,“当前赛道面临的,是商业价值和技术价值的错位,确实在19年之前,大家都过于看重技术和前景,而忽略了构建商业落地体系。”
“带头的Waymo、百度、国内现在比较头部的小马(智行)、文远(知行),基本模式都是技术上直接爬L4最高峰Robotaxi,数据上自己建车队路测,一直走到了现在的Robotaxi试运营,下一步是规模化落地。”刘畅表示,“(例子)不太恰当,但这有点像九十年代的出租车公司,刚创业就开始琢磨做一个‘滴滴打车’,前景有,PC互联网也有,但移动终端、政策、法规摆在那,还要多久?确实没人敢保证。”
资本的回归理性加之规模化落地艰难,Momenta的“两条腿”战略就显得顺理成章,一边是L2自动辅助驾驶,一边是L4完全自动驾驶,前者可行性板长前景板短,而后者刚好相反互补。但做L4的切入L2细分赛道双线并进,看似能从高技术壁垒“降维打击”,其实也存在着两方面的困难:
首先是L2细分赛道并不冷清,虽然前些年资本集聚L4细分赛道,但这并不意味着从L2起步的玩家就不存在。因为较低的技术门槛,对于无需融资,有能力自己“造血”的车企们而言,无疑是一个优质打法。特斯拉、蔚小理们已经在此布局多时。
具体来看,车企通过技术壁垒较低的L2赛道切入,这既能保证技术快速上车提升产品力,同时递进式的研发模型也符合其产品换代规律,每一步落地都能快速规模化,这点能力无疑是技术垂直企业们的天然短板。
其次,有专业人士预测,未来自动驾驶的恶战,将会在数据战场拉开序幕。对于自动驾驶研发而言,Waymo们自建车队路测和车企们的整车售卖的本质其实是相同的,就是为自身提供一个庞大的数据池。
这就意味着,Waymo们的路测车队即使规模再大,在数据获取上,也会很难匹敌像特斯拉影子模式这样的获取数据技术工具,毕竟当前特斯拉在路上的车辆与自动驾驶垂直技术公司相比,完全不在一个量级。
但毫无疑问,无论是特斯拉还是蔚小理,当前都还不太愿意把自研技术“分享”给竞争对手们,与此同时,也并非所有车企当前都拥有自研L2的能力,这就给到了“两条腿”走路的Momenta商业化的可能性。
与上汽、丰田业已开展合作,近期又获得通用汽车的最新融资,不难发现,在资本已经对 Robotaxi的故事没有了太大耐心的今天,Momenta的脚踏实地似乎是比诗和远方在短期内更有说服力。
03、ODD场景路线:故事不停的“发泡剂”
在L4商业化这一问题上,Momenta选择了调整技术路线,将L2提供给车企落地,另一边的文远知行、小马智行的选择则是调整场景路线,不把L4场景All In Robotaxi,这里就需要引入一个自动驾驶L4的ODD概念。
ODD概念来自于美国汽车工程师学会,旨在为短期内无人驾驶全面普及难度巨大的问题提供一个解法。通俗一点讲,主要就是在无法完全达到随心所欲的无人驾驶之前,自动驾驶技术需要被一个特定场景限制来运作,以尽可能消除无法应对的不确定性。
场景不同,对无人驾驶泊车、超车、跟车、让行等等的一系列参与交通的要素要求就会改变,比如清洁环卫、矿区、景区、干线物流等都是ODD中的部分场景,大多数独角兽企业专注的Robotaxi(自动驾驶出租车)同样仅仅是其中一个场景,只不过出租车的运行区域之广,道路上所面临的不确定性之多,无疑让Robotaxi成为了L4里面的最高难度挑战。
“当前的独角兽们想熬到Robotaxi能商业化那一天,除非有资本再给输个几年血,但除了亲儿子,哪个投资人愿意跟无底洞往死里耗?”文章开篇的投资人表示,“百度曾提过L4一个很有意思的观点,‘攀登珠峰,沿途下蛋’,独角兽们想熬下去,已经到了要继续下蛋的时候了。”
诚如斯言,在Robotaxi的故事吸引力越来越弱之际,文远知行、小马智行的打法其实就像是百度所说的“攀登珠峰,沿路下蛋”。小马智行联合创始人李衡宇曾公开表示,小马智行可以做到把80%的乘用车自动驾驶技术用到卡车上。
结果就是在攀登L4的途中,除了Robotaxi,文远知行还下了个Mini Robobus“蛋”,还在今年七月全资收购自动驾驶货运企业牧月科技,酝酿下一枚“蛋”。小马智行则在2020年开始加大对无人卡车方向的研发投入,下了个卡车“蛋”,只不过如今小马智行的这枚蛋看来似乎是要夭折了。
谈擎说AI认为,对于文远知行而言,货运和巴士客运,均是相较于Robotaxi场景的复杂多变,封闭性更强的场景。这会使得制约无人驾驶安全性的不确定因素减少,从而更快落地。随后就可以通过线路扩张来逐步加大运营区域,这有点类似于飞机开通新航线。
随着20年末新投资的注入,文远知行“熬”到Robotaxi技术成熟那一天自然就拥有了更多的筹码。
至于小马智行,虽然如今我们尚且不能认定其收缩卡车业务就是一个失误,但可以肯定的是,随着泡沫消解,小马智行在这条攀登珠峰路上,要么是找到一个新的“发泡剂”,要么就得自己开始有一定的造血能力。
在“攀登珠峰”路上,小马智行创始人楼天城在接受《晚点Late Post》采访时,曾被问到:“你怎么能确定现在去的是真正的珠峰?”
楼天城表示,我没办法确定这条路是去珠峰的路,但如果我们的目标真的是去珠峰,那我们真正证明这条路是否对的唯一做法就是去到珠峰。
我们也期待这位攀峰者登顶那一刻的到来。
本文来自微信公众号“谈擎说AI”(ID:Mr-dushe),作者:郑开车,36氪经授权发布。
相关推荐
自动驾驶L4,还没做完选择题
5G加持,L4上路,自动驾驶真能说走就走?
图森未来:L4自动驾驶第一股
我们跟着长安,试验了L4级自动驾驶汽车
没有驾驶舱和方向盘,宇通L4级自动驾驶公交上路试运行
打一辆自动驾驶的滴滴:中美两地测试 瞄准L4级别
广汽最新定点中国激光雷达,要量产L4级别自动驾驶?
最前线|大众成立自动驾驶公司,专注于L4 级无人驾驶商用落地
研发L4级自动驾驶全栈解决方案,「元戎启行」与东风合作Robo-Taxi
36氪首发 |「智行者科技」获数亿人民币C+轮融资,加速组建L4级自动驾驶车队
网址: 自动驾驶L4,还没做完选择题 http://www.xishuta.cn/newsview54442.html
推荐科技快讯
- 1问界商标转让释放信号:赛力斯 95792
- 2报告:抖音海外版下载量突破1 25736
- 3人类唯一的出路:变成人工智能 25175
- 4人类唯一的出路: 变成人工智 24611
- 5移动办公如何高效?谷歌研究了 24309
- 6华为 nova14深度评测: 13155
- 7滴滴出行被投诉价格操纵,网约 11888
- 82023年起,银行存取款迎来 10774
- 9五一来了,大数据杀熟又想来, 9794
- 10手机中存在一个监听开关,你关 9519
