直播观众可以踢玩家出局,索尼这个专利没搞错吧
伴随着带有社交属性的网络游戏在千禧年后风靡全球,不同的玩家得以在同一片虚拟世界之中畅游。然而,有人的地方就有江湖,由此也有了纷争,而在这个时候,言语的冲突乃至网络暴力自然就接踵而至。
面对这样的情形,玩家要么就选择以暴制暴、要么就只能忍气吞声地退出游戏,而某些贴心的厂商,例如腾讯就在游戏中提供了踢人服务,玩家只需花钱购买会员就能让不对付的人“消失”。如今在游戏直播火热之时,索尼也效仿腾讯,注册了一个名为“电子游戏观察者投票剔除玩家”的专利,可以让直播的观众通过投票或付费的方式在所观看的游戏中“踢人”。
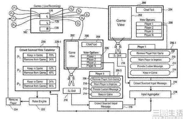
根据索尼方面在这一专利中展示的内容显示,观众在观看游戏直播时可以访问一个菜单,让他们通过投票来决定“将玩家从游戏中移除”、“警告玩家让其改进”、“提供自定义信息”,以及“留在游戏中”这些选项。如果“移除”投票的总数达到某个阈值,那么这个玩家就将被从游戏中移除。索尼方面在这份专利中还表示,“这种方法还可以包括将玩家移出游戏画面,并向其他玩家或观众提供视觉线索,让他们知道为什么这位玩家会被从游戏中移除。”

并且为了避免观众乱投票,索尼其实也准备了后手。其规定不同的观众所拥有的投票权重不同,并设定了一个基于观众游戏水平的权重系统,而影响权重的因素则包括观看时间、评分,以及所获得的成就等。当然,就像腾讯旗下游戏《穿越火线》中有会员“踢人”一样,索尼的这一专利也提供了观众在不满投票的情况下,可以花钱“踢人”的选项,也就是“玩家移除选项”,通过这里观众可以选择“支付固定的价格”或是“支付百分比固定价格”来氪金“踢人”。
事实上,互动性是游戏直播行业得以超越传统游戏视频,受到更多玩家青睐的关键。早在2014年,一位澳大利亚程序员在海外直播平台Twitch开设了一个名为“Twitch Plays Pokémon”的直播间,观众进入直播间后即可在聊天栏输入指令例如“上、下、左、右、A、B、Start”,就会转化成相应的操作。最终,这一行为艺术在在Twitch的同时收看人数最高时达到了11.21万,全程累计观看次数更是取得了5500万次的成绩,并获得了吉尼斯世界纪录认可的“最多人参与的单人网络游戏”纪录。

云流化应用技术、也就是将原来在电脑端实现的软件操作直接放到云端服务器,使得在网页端流畅使用大型程序成为了可能,而基于这一技术,以主播与观众为核心,就能够利用弹幕和礼物效果来影响游戏直播的进程。考虑到索尼如今正在电竞领域积极发力,在春季收购了北美游戏格斗比赛EVO后,此前又被曝出准备给PS5增加电竞功能。

据悉,索尼构想了一套PS5的锦标赛系统,通过PlayStation Network允许玩家在不使用第三方软件的情况下,轻松地设置在线比赛。再加上刚刚曝光的这一专利,外界认为,索尼可能是希望以PS5作为平台,打造一个属于自己的电竞生态圈,玩家既可以用PS5来组织比赛,也能用PS5来观看比赛,甚至还能在观赛的过程中影响游戏的进程。
这一设计理念其实与谷歌云游戏项目颇为类似,也就是观众可以通过YouTuber中的视频内容直接加入到游戏中。对于电竞项目来说,直播观赛无疑是整个产业的重要环节,但这种观赛体验通常是单向的,观众只能接受到选手在场上的表现,却并不能影响比赛过程和结果。

要知道在传统体育项目,例如足球和篮球赛事中,观众加油和喝倒彩则是比赛中的一个有机组成部分,加油可以鼓舞球队的士气,喝倒彩也能在精神上打击对方。因此索尼在这一专利中,所提供的“将玩家从游戏中移除”、“警告玩家让其改进”等功能,显然就是给了观众传递情绪的一个窗口。
不过索尼方面这一想法与目前游戏圈正在尝试的互动游戏并不一样,这一专利是基于负反馈来设计,其实与目前主流的直播互动设计理念大为不同。开创了“直播打赏”这一当下直播行业核心商业模式的YY创始人李学凌,曾经有过一段经典的论述,“打赏是什么?就是我给你钱,我很高兴,我没有觉得自己损失了什么。因为我喜欢你,我才会打赏你”。观众在观看直播时为主播精彩的操作而打赏礼物,是非常常见的情况,这种基于正反馈的逻辑让观众收获了情绪价值,而主播则得到了真金白银。
但对于游戏来说,负反馈设计则是非常常见的,因为游戏中的负反馈背后是可预见的正反馈。但问题在于,流媒体直播是公共环境,利用负反馈来驱动观众的行为很容易就会导致攻击行为的发生。例如,针对直播中某位玩家的表现,不同的观众可能会有不同的看法,这就很容易就会造成观众之间互相攻讦。

当然,或许各大直播平台对于观众之间的攻讦会乐见其成,毕竟观众之间的互动也会大幅度提升热度,而在负反馈驱动下,观众也更有可能做出不理智的决策。例如当绝大多数观众希望投票“踢掉”的选手如果正好是你喜欢的,那么这时候你选择氪金来进行反制,想必就会是大概率事件了。
【本文图片来自网络】
本文来自微信公众号“三易生活”(ID:IT-3eLife),作者:三易菌,36氪经授权发布。
相关推荐
直播观众可以踢玩家出局,索尼这个专利没搞错吧
索尼新专利公开:PS5手柄或将支持无线充电
陆正耀的反击:瑞幸将重组董事会 要踢黎辉刘二海出局
越来越“保守”的索尼,还能满足下一代玩家吗?
2020 年,索尼PS5扔了掉光驱
别指望游戏主机可以拯救玩家的显卡危机
LG彻底退出手机圈,往后要守着专利过日子?
熊猫直播从生到死:沉默的王校长 离去的众生相
LG智能手机跌落神坛,仅靠专利生存就能一劳永逸?
当AI开始“踢脏球”,你还敢信任强化学习吗?
网址: 直播观众可以踢玩家出局,索尼这个专利没搞错吧 http://www.xishuta.cn/newsview53380.html
推荐科技快讯
- 1问界商标转让释放信号:赛力斯 95792
- 2报告:抖音海外版下载量突破1 25736
- 3人类唯一的出路:变成人工智能 25175
- 4人类唯一的出路: 变成人工智 24611
- 5移动办公如何高效?谷歌研究了 24309
- 6华为 nova14深度评测: 13155
- 7滴滴出行被投诉价格操纵,网约 11888
- 82023年起,银行存取款迎来 10774
- 9五一来了,大数据杀熟又想来, 9794
- 10手机中存在一个监听开关,你关 9519
