离开腾讯后,55岁金融老炮做出一个IPO:市值430亿
编者按:本文来自微信公众号“投资界”(ID:pedaily2012),作者:刘博 张继文,36氪经授权发布。

这是一门什么样的冷门生意?联易融身后出现了一众VC/PE机构的身影——腾讯、中信资本、正心谷资本、新加坡政府投资公司(GIC)、渣打银行、BAI资本、德同资本等。
投资界获悉,今日(4月9日),联易融科技集团(下称“联易融”)成功在香港交易所主板挂牌,成为首家上市的中国供应链金融科技SaaS企业。上市首日,发行价为17.58港元/股,开涨近10%,报19.32港元,开盘市值约437亿港元。
在联易融的背后,是一位60后金融老炮的创业故事。创始人宋群曾在摩根大通银行、汇丰银行等金融机构任职,具有极为深厚的金融背景。2016年,年近半百的宋群却选择创业,一头扎进供应链金融领域。在这个冷门的行业里,宋群将公司做到了一年进账10个亿。
创业五年,联易融身后出现了一众VC/PE机构的身影——腾讯、中信资本、正心谷资本、新加坡政府投资公司(GIC)、渣打银行、BAI资本、德同资本等。伴随着IPO,联易融基石投资人阵容浮出水面:贝莱德(BlackRock)、富达国际(Fidelity)、Janus Henderson基金、安大略省教师退休金计划(OTPP)、红杉(Sequoia) 基金、EDB Investments,均为国际知名顶级投资机构。
60后金融老兵,离开腾讯创业:做出市值430亿
联易融背后的掌舵人,是一位60后金融老兵。
翻看联易融创始人宋群的履历,他在资本市场、资产证券化、商业银行及交易银行方面都有着丰富的工作经验。宋群曾经任职摩根大通银行为香港机构信托服务部的副总裁。2003年8月,宋群加入了汇丰银行,任职公司信托及贷款代理服务的全球主管,直至2009年。
离开汇丰银行后,宋群开启了自己由职业经理人向城市商业银行行长转型的阶段,担任了珠海华润银行首任行长。该银行前身为成立于1996年12月的珠海市商业银行,后在2009年4月由珠海市政府、华润股份有限公司与珠海市商业银行重组成功。这段工作经历,为宋群日后创业奠定了坚实的基础。
2015年,宋群的角色再次悄然转变。在当年举办的金融合作伙伴高峰论坛上,宋群以腾讯支付基础平台和金融应用线顾问身份出席。但加入互联网巨头,并非宋群职业生涯的最终归宿,在腾讯工作了一年之后,他决心投身于金融科技创业。
宋群曾在媒体采访中表示,自己虽然在大机构工作过,但做的都是创业的这些事儿,他更希望,“能够看到一个小的产品或者小的条线经过我们的努力,在几年时间之内有一个迅猛发展。”

2016年2月,宋群于深圳正式创立联易融。但创业绝非易事,2017年初因为监管的变化,联易融当时产品依托的底层架构受到挑战,因此业务发展受挫。“那个时候眼前一片黑,部分团队成员对方向和生存都产生了怀疑,有人离开去传统的业务,觉得太创新的东西,监管方向太难把控。”宋群曾回忆。
在这个决定发展方向的关键时刻,宋群与团队抵挡住了其他金融业务方向的诱惑,重新复盘战略后得出结论:商业模式依然是将资金对接到资产,只是资金来源不再依托于一种模式。
这次及时调整也带来了联易融业务的大爆发,同步上线了供应链资产服务云平台,并在2018年6月,迭代升级为第四代供应链金融平台,从而可以实现基于数据的AI智能化处理。
在此之后,联易融实现了快速增长。公司的供应链金融科技解决方案处理的交易总额从2018年的293亿元增长到2019年的826亿元,实现了182%的增长,继而又增长到2020年的1638亿元,同比2019年增长98.3%。
今天,联易融在港交所成功挂牌上市。此次IPO,联易融发行价为17.58港元/股,开盘高涨9.90%,报19.32港元/股。以开盘价计算,其市值高达437亿港元。55岁的宋群也终于实现了自己5年前的希冀——将一个小产品,打造成了供应链金融领域的庞然大物。
鲜少人关注,这里如何做出一家上市公司?
深耕于供应链金融领域,联易融靠什么撑起一个IPO?
官网显示,联易融致力于通过科技和创新来重新定义和改造供应链金融,成为全球领先的供应链金融科技解决方案提供商。其聚焦于ABCD(AI、区块链、云计算、大数据)等先进技术在供应链生态的应用,以线上化、场景化、数据化的方式提供创新供应链金融科技解决方案。
具体而言,联易融的解决方案包括两大类,供应链金融科技解决方案和新兴解决方案。前者是基于核心企业的信用状况、实现供应链支付和金融流程数字化的整套云原生科技解决方案,而后者则是对前者的丰富和补充。
自2016年成立以来,联易融已服务340多家核心企业,其中包括25%以上的中国百强企业,并与超过200家金融机构合作。
而根据灼识咨询数据,联易融在2020年处理的供应链金融交易金额达1638亿元人民币,在中国供应链金融科技解决方案提供商中排名第一,市场份额为20.6%。
与此同时,联易融近年来的总收入及收益也实现了迅猛发展。招股书显示,2018年、2019年与2020年全年,联易融实现营业收入分别为3.83亿元、7亿元、10.29亿元。其中,供应链金融科技解决方案成为其营收的重中之重。2020年,该业务产生总收入及收益为9.2亿元,占同年总收入及收益的90%。

与营收对应的是,联易融仍面临着持续亏损的问题。招股书披露,2018年、2019年与2020年全年,联易融亏损分别为14.1亿元、10.82亿元、7.15亿元。以此计算,联易融三个报告期合计亏损超过30亿元。
对于巨额亏损的原因,联易融在招股书中解释称,主要是由于公司业务增长和业务前景的改善带动了可赎回可转换优先股及可转换贷款的公允价值增加。若未来公司无法产生足够收入或有效管理成本及费用,未来可能继续亏损。
此外,联易融依赖大客户的风险也不容忽视。2018年、2019年、2020年,联易融前五大客户的收入及收益分别占各年总收入及收益的69.0%、47.6%及34.7%,而按收入及收益计的单一最大客户分别占其同年总收入及收益的28.7%、20.4%及12.8%。
可以发现,在供应链金融领域已经取得一定优势地位的联易融,仍面临着不小的挑战。虽然供应链金融科技领域市场集中度相对较高,但份额相差不大。在其身后,蚂蚁金服、京东科技等巨头也正在持续发力。
背后VC/PE阵容浮现 腾讯为第一大机构股东
随着联易融上市,背后豪华的投资方阵容也浮出水面。
上市之前,联易融的基石投资者云集了包括贝莱德(BlackRock)、富达国际(Fidelity)、Janus Henderson基金、安大略省教师退休金计划(OTPP)、红杉(Sequoia)等国际长线资金,现有股东还包括腾讯、中信资本、正心谷资本、新加坡政府投资公司(GIC)、渣打银行、BAI资本、招商局创投、创维、泛海投资、普洛斯、微光创投、德同资本等国内外优秀大型企业和基金。其中,腾讯为第一大机构股东。
联易融跟腾讯渊源颇深。2015年,联易融还未创办,腾讯总裁刘炽平出席以“连接合作”为主题的金融合作伙伴高峰论坛上,宋群曾以腾讯支付基础平台和金融应用线顾问身份出席。
2016年,联易融成立起,便与腾讯展开战略合作,提供企业级、基于云端计算和数字化的供应链金融服务。除了业务合作以外,腾讯还给予资金支持。
2016年7月,联易融宣布完成A轮融资,腾讯旗下林芝利创信息技术有限公司入局;2017年,联易融宣布完成近2亿元人民币B轮融资,又一次看到了腾讯的身影。此外,腾讯公司副总裁、腾讯金融科技业务负责人林海峰还担任联易融的非执行董事。
同在2016年,正心谷资本也关注到了联易融。“2016年联易融刚刚成立之际,资本都在追逐更为性感的消费信贷、P2P与区块链,而我们却独辟蹊径,连投多轮To B的联易融。”正心谷资本董事总经理赵永生表示。
此后,正心谷资本连续4轮加注。“我们也看过十多家做供应链领域的创业公司,不同于传统的供应链和保理融资的模式,联易融自诞生起就致力于用科技手段,为供应链上的中小微企业,为金融机构参与供应链业务进行赋能。”赵永生说,他们相信联易融的商业模式更加清晰,成本更加高效,并没有在乎多少投资回报。
赵永生补充道:“联易融创始团队对于产业和金融的理解力非常深刻,他们与时俱进、前瞻布局的战略能力也是业内少见。同时,战略保持定力,公司和团队心无旁骛,专注做好一件事。”
渣打首次在中国投了这样一家公司 这个冷门行业隐隐爆发
随着A轮融资完成,联易融引起了更多投资机构的注意。
2016年12月,现任BAI资本董事总经理赵鹏岚在深圳的储能大厦里见到了联易融创始人宋群。一开始,宋群并没介绍自己的项目,而是直截了当地问赵鹏岚:“你怎么看小微金融?”
在这之前,赵鹏岚关注供应链金融2年了,看了不下20个项目,常常与朋友探讨供应链金融。赵鹏岚对中小微金融的认知让在金融深耕多年的宋群颇为放心。同时,赵鹏岚在与宋群谈完的那一刻就下决定拿下这个项目,马上给到了宋群领投的TS(投资意向书),并安排BAI资本创始及管理合伙人龙宇见面拜访。
彼时联易融正在推进B轮融资,老股东几乎瓜分完额度。但BAI资本仍参与了B轮融资。“投资了B轮之后,BAI资本又给了我们一笔无息可转债,最后促成他们又投资了C轮。”宋群回忆。
作为联易融最早的财务VC投资机构,BAI资本创始及管理合伙人龙宇向投资界表示:“联易融是第一个把中国的金融科技SaaS做成真命题的公司,它运用AI、大数据、区块链等新技术助力,让供应链金融切实解决了中小企业融资贵、融资难这个巨大的命题,并保障金融风险整体可控,提升了整个社会的资金运行效率。从B轮开始,多次加仓,一路见证联易融成长为行业的首创者、先行者和领军者。”
与此同时,德同资本也于2017年和2018年两次投资了联易融。2020年,联易融又一次引入一位重磅投资人——2020年1月10日,联易融宣布完成C+轮融资,战略投资方为渣打银行。这是渣打银行首次在中国投资供应链金融科技平台,也是联易融的首家全球银行投资者。
渣打银行大中华及北亚地区行政总裁洪丕正表示,“从全球趋势来看,企业客户越来越需要通过高效的、值得信赖的数字化平台来满足自身在供应链金融方面的需求。渣打对联易融的战略投资不仅能让我们更好地提升客户所在生态圈的产融结合效应,同时也有助于满足中国实体经济对于资金流的相关需求。”
本次IPO,联易融又引入了6名基石投资者,包括BlackRock基金(贝莱德)、富达国际、Janus Henderson基金、安大略省教师(加拿大最大的单一专业退休金计划)、红杉基金及EDB Investments。合共认购总额约3.65亿美元(约28.34亿港元),按发行中间价计,占全球发售股份总数的36.22%。
作为联易融的基石投资者,红杉中国合伙人刘星表示:“此次支持联易融,是红杉中国长期投资价值理念的又一次体现。相信联易融上市后,将进一步引领供应链金融行业迈向全链路数字化,开启行业发展的新篇章,不断通过数字科技的创新应用,为各行各业实体经济中的大、中、小企业提供更优质的服务。”

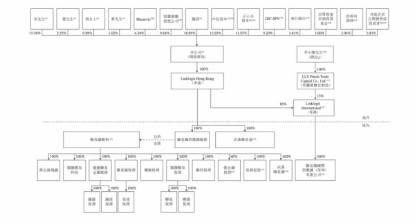
如今,联易融背后股东阵容盛大。根据招股书,IPO前,股权方面,截至报告期末,腾讯持股比例为18.89%、中信资本持股12.03%、正心谷持股11.92%、GIC(新加坡政府投资公司)持股9.2%、渣打银行(香港)持股3.61%、BAI资本持股3.6%,招商局创投持股3.04%。

此外,联易融创始人、董事长兼CEO宋群直接持有该公司15.36%股份。按照开盘市值437亿港元计算,宋群身家约为67亿港元。
回首创业经历,宋群忍不住感叹:“联易融正式在香港联交所主板挂牌上市,是公司发展历程中一个重要的里程碑。”而过去五年,中国供应链金融这一冷门行业也开始渐渐为人熟知,走入大众视野。
相关推荐
离开腾讯后,55岁金融老炮做出一个IPO:市值430亿
离开阿里后,两位80后校友IPO敲钟:市值900亿
近马云富,远老罗生
红杉坐镇,58岁教授做出一个IPO:市值700亿
55岁复旦学子掌舵,又一家芯片公司奔赴IPO
从高估值到IPO后市值腰斩,美国独角兽 “流血上市”后何去何从?
前VOGUE中国版主编张宇加盟红杉中国,为什么行业老炮儿都来做投资了?
唐德往事:一个女星和一个影视老炮的史诗
知料 | 55岁的马云要卸任,掌舵者什么时候交棒才算明智
又一对80后校友即将IPO敲钟:出身阿里系,做出200亿
网址: 离开腾讯后,55岁金融老炮做出一个IPO:市值430亿 http://www.xishuta.cn/newsview41482.html
推荐科技快讯
- 1问界商标转让释放信号:赛力斯 95792
- 2报告:抖音海外版下载量突破1 25736
- 3人类唯一的出路:变成人工智能 25175
- 4人类唯一的出路: 变成人工智 24611
- 5移动办公如何高效?谷歌研究了 24309
- 6华为 nova14深度评测: 13155
- 7滴滴出行被投诉价格操纵,网约 11888
- 82023年起,银行存取款迎来 10774
- 9五一来了,大数据杀熟又想来, 9794
- 10手机中存在一个监听开关,你关 9519
