薇娅夫妇,悄悄成立一家创投公司
编者按:本文来自微信公众号“投资界”(ID:pedaily2012),作者:任倩 周佳丽,36氪经授权发布。
薇娅夫妇悄悄做起了VC。
投资界获悉,天眼查显示,1月28日,青岛谦喵私募基金管理有限公司成立,经营范围包括私募股权投资基金管理、创业投资基金管理服务等。该公司由谦寻(杭州)控股有限责任公司100%持股,其疑似实际控制人为董海锋。
外界对董海锋这一名字颇为陌生,但提到“第一女主播”薇娅就再熟悉不过了,而董海锋正是薇娅的丈夫。夫妻二人白手起家,从2003年以6000块启动资金在北京批发市场开服装店,后来辗转于西安、广州等城市,直到2016年遇到最大转机——入驻淘宝直播,创造了一个个电商直播界的神话。
走出直播间,这对夫妇的商业版图仍在不断扩张。伴随着私募基金公司的成立,夫妻二人终于涉足创投行业。而这并非个例——越来越多电商主播在实现财富自由后都踏入投资界,此前辛巴、李佳琦等主播们都曾多次出手投资,甚至还入股上市公司。围绕在主播间的资本游戏才刚刚开始兴起。
坐拥14家公司后,薇娅夫妇悄悄成立一家创投公司
这一次,薇娅夫妇盯上了创投。
天眼查显示,1月28日,青岛谦喵私募基金管理有限公司成立,注册资本1000万人民币,法定代表人为赵冉,经营范围包括私募股权投资基金管理、创业投资基金管理服务等。不过,投资界查阅中国基金业协会私募基金备案情况发现,青岛谦喵私募基金管理有限公司目前还未备案。
通过股权穿透发现,该公司由谦寻(杭州)控股有限责任公司100%持股,其疑似实控人为薇娅丈夫董海锋,共持股53.3%。

谦寻控股大有来头。这家公司2019年10月成立,是新内容电商直播机构,经营范围不仅包括服装、化妆品、网红业务等,还囊括广播、电视、电影、互联网等跨多个行业。公司实控人同样是董海锋,二号人物则是薇娅的弟弟黄韬,此外早在2019年就已投资的君联资本也出现在董事名单中。
在谦寻控股成立之前,董海锋主要通过杭州谦寻电子商务有限公司运作。杭州谦寻电子商务2016年11月成立,由谦与文化投资创立入驻淘宝直播平台。公司主营淘宝直播,不仅拥有薇娅、楚菲楚然twins、小侨等几十位超人气主播达人,还有类似林依轮、李响、李静、高露等明星主播。
而真正让谦寻一炮而红的时刻是2019年双11,薇娅以45078万的热度排名巅峰主播第一,谦寻以总粉丝量2205.5万位列直播机构第一,当晚引导成交额高达36亿,引爆全网。
可以说,谦寻电子商务是薇娅夫妇事业真正起飞的开始,继而以“薇娅背后的机构”被大众所熟知的谦寻一路发展到短视频、红人孵化、整合营销等领域。薇娅虽未直接持股,却是谦寻背后的大功臣。
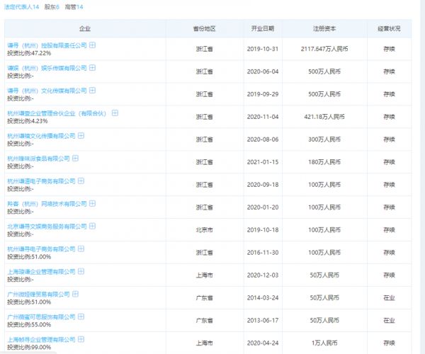
事实上,在薇娅夫妇首次出手成立创投机构之前,夫妻二人早已悄悄布局了庞大的商业版图。除了谦寻控股和杭州谦寻电子商务,董海锋还是旗下12家公司的法人,而这些公司中的大多数都集中在2019年及之后注册成立。

就在最近三个月,薇娅夫妇又密集成立了3家公司,分别为杭州谦壹企业管理合伙企业(有限合伙)、上海琅谦企业管理有限公司、杭州锋味派食品有限公司。其中杭州谦壹主营企业管理和咨询,披露的股东共有12位,黄韬持股51.53%为最大股东,薇娅持股5.03%为第五大股东,董海锋为第六大股东,持股比例为4.23%。
而杭州锋味派食品有限公司的成立,意味着薇娅夫妇跨界进军食品领域。薇娅此前已经拥有服饰、饰品等自有品牌,此次成立食品公司将其商业版图再次拓宽。
一年带货200亿,中国“最有钱”女主播的成名史
如果没有薇娅,谦寻这家不知名的小公司或许不会走进大众视野。薇娅的升级打怪之路,可以用“疯狂”来形容。
薇娅本名黄薇,1985年出生于安徽一个经商之家,她之前做过歌手、模特,2003年开始在北京的批发市场卖服装,生意原本有声有色。2008年,不安于现状的薇娅和丈夫董海锋搬到西安,一口气开了10家服装店,试图将生意做大。
2012年电商兴起,实体店遭遇冲击,两人瞅准时机来到广州,转型开淘宝店。为了摸清电商玩法,薇娅走了不少弯路。2014年“双11”,店里一款服装爆火,创造了1000多万的销售额,她急于卖出大单,却因供应链跟不上亏了数百万元,为此还卖掉了广州两套房。
不过也正是那次双十一,让薇娅看到了电商的巨大爆发力。2016年,薇娅正式入驻淘宝直播。在董海锋的支持下,薇娅凭借自己的努力名气越来越大,成为了直播带货头部网红。那一年,她包揽了淘宝直播盛典最受粉丝追捧主播,而借势直播,薇娅的淘宝鞋店和服装店都飞速成长,2016年销售额接近3亿。
2017年10月10日,5小时创造7000万销售记录,薇娅一战成名,赶超当时淘宝第一主播张大奕的2000万记录。2018年3月,淘宝发布达人收入排行榜,32岁的薇娅以年收入3000万居榜首。随后,她的直播记录被自己不断刷新。2019年双11期间,引导交易额超过30亿,再次创造电商主播界的神话。
2020年以来,薇娅更加势不可挡。4月,薇娅在直播间卖火箭,4000万一发的“快舟一号运载火箭”发射服务,上架被秒抢。在一次湖北的公益卖货活动中,薇娅和老牌国产车企东风汽车合作了一把,在500万人的直播间用时7分钟便卖完了1750辆车。此外,她把直播间搬到了样板房里去,通过直播卖房;她还帮袁隆平推广水稻,1分钟就卖出86万斤。
统计数据显示,2020年,薇娅带货总成交额达202.08亿元,在淘宝直播带货红人榜中排名第一,李佳琦排名第二,2020年带货总成交额为129.22亿元。
薇娅不仅是谦寻的招牌主播,也是老板。在董海锋眼中,很多主播都需要团队推着往前走,但薇娅不是,“她是遥遥领先的,拉着团队跟着她一起跑。”
近20年打拼,薇娅与董海锋一路逆袭、互相成就。一个有意思的细节是,董海锋舞蹈出身,当年他还只是林依轮身边一个不起眼的伴舞,如今摇身一变成了老板,还签下了林依轮成了他公司的艺人。如此反转,令人惊叹。
走出直播间,他们投出一个个庞大版图
直播间外,电商主播们的造富神话仍在继续。
从主播背后的公司看,李佳琦所属的贵州美腕网络科技有限公司共投资8家公司,薇娅所属的谦寻控股达12家,辛巴则成立了投资公司,由投资公司完成对外投资。
去年9月,一则公告揭开了一位电商主播的神秘投资版图。9月16日,起步股份公告称,公司股东拟以9.162元/股的价格,协议转让给辛选投资、张晓双各5%股份,总对价4.32亿元。公告一出,起步股份股价连续两天涨停,市值暴涨10亿。
辛选投资大有来头。天眼查显示,辛选投资成立于2020年4月23日,注册资本1亿元,公司大股东为辛有志,也就是彼时仍在风口之上的“快手一哥”辛巴,总持股比例95%,同时担任公司执行董事兼总经理;而张晓双则为辛选投资的联合创始人兼供应链负责人。这意味着,通过这笔投资,“辛巴系”持有起步股份10%股权,成为后者第二大股东。
这笔投资始于2020年6月,此时封号一个多月的辛巴复出创下三个多小时斩获8亿元销售纪录。一边是儿童服饰公司,一边是电商主播,外界纷纷好奇双方为何促成这场合作?起步股份负责人称,这场投资并不是一个简单的资本动作,双方是看中了直播带货与实体结合带来的想象空间。
辛选投资的资本版图不止于此。2020年10月,辛选投资还通过股权转让形式获得盛讯达子公司盛讯云商49%的股权,至此,盛讯云商成为盛讯达与辛选合资的子公司,辛巴则担任子公司的董事长。投资界了解到,盛讯达以游戏起家,此番运作后,双方将展开跨界深度合作。
但因燕窝造假事件,辛巴的帝国开始崩塌。经过一个多月的发酵后,这一事件得到官方判决:辛巴个人账号被快手官方封停60天,辛巴家族等27名电商主播封停账号15天。同时,市场监管部门也对辛巴开出90万元罚单。
更多主播加入到了投资战队。据投资界不完全梳理,薇娅直接或间接投资了21家公司;李佳琦则通过投资来实现自己打造美妆品牌的梦想,以个人投资了近10家公司,其中5家公司的控股比例达到了100%,涉及品牌策划、传媒工作室、电子商务、化妆品、网络科技以及管理咨询。可以看到,主播的投资版图都没有绕开电商直播生态。
直播间里,电商带货掀起了一片疯狂浪潮,创造了一系列财富神话。不知不觉中,这批超级头部主播间的较量已经延伸至直播间外,他们企图用赚来的真金白银投出自己的一片江山。
相关推荐
薇娅夫妇,悄悄成立一家创投公司
这家VC悄悄投了薇娅丈夫的公司
“带货女王”薇娅,要进创投圈了
日入20亿,华为悄悄成立一家创投公司
携程闯入VC圈:悄悄成立一家创投公司
薇娅最好是AI
小县城,造“薇娅”
红杉中国和星巴克成立一家创投公司
薇娅李佳琦们身后的“打工人”:网红吃肉,我们喝汤
直播带货主播的演化:薇娅向左,李佳琦向右
网址: 薇娅夫妇,悄悄成立一家创投公司 http://www.xishuta.cn/newsview37977.html
推荐科技快讯
- 1问界商标转让释放信号:赛力斯 95792
- 2报告:抖音海外版下载量突破1 25736
- 3人类唯一的出路:变成人工智能 25175
- 4人类唯一的出路: 变成人工智 24611
- 5移动办公如何高效?谷歌研究了 24309
- 6华为 nova14深度评测: 13155
- 7滴滴出行被投诉价格操纵,网约 11888
- 82023年起,银行存取款迎来 10774
- 9五一来了,大数据杀熟又想来, 9794
- 10手机中存在一个监听开关,你关 9519
