极米IPO申请过会背后:研发费用率不足5%、产品质量成投诉重灾区
编者按:本文来自微信公众号“蓝鲸TMT”(ID:ilanjingtmt),作者:齐智颖,36氪经授权发布。
自赴科创板IPO申请获受理以来,极米科技的IPO进展并不顺利,市场上曾有声音质疑其科创属性、专利问题及核心技术能力,且其曾与优酷发生版权纠纷,与光峰科技发生专利纠纷。而极米科技近年来的研发费用率均不足5%,有关其产品的质量投诉问题成为重灾区。
近日,证监会在官方微信公众号表示,成都极米科技股份有限公司(下称“极米科技”)的科创板首次公开发行股票注册申请已过会。
自2020年5月8日赴科创板IPO申请获受理以来,极米科技的IPO进展并不顺利,市场上曾有声音质疑其科创属性、专利问题及核心技术能力,此前曾与优酷发生版权纠纷,与光峰科技发生专利纠纷。
而极米科技近年来的研发费用率均不足5%,有关其产品的质量投诉问题成为重灾区。尽管随着销量增长,极米科技的业绩水涨船高,但至今极米仍无法实现“5年内颠覆传统电视”的愿景。
业内人士表示,近年来中国投影设备市场发展迅速,消费级市场成为第一大细分市场,而自主研发科技公司的进入可能会加剧市场竞争。与此同时,极米科技坦承,液晶平板电视的大屏化、技术成熟后硬件成本价格的下降导致产品销售价格的下降,其产品存在降价可能,这会大幅影响其净利润。
近三年未获融资,IPO注册申请生效延期近2个月
公开信息显示,极米科技成立于2013年,主营业务为智能投影产品的研发、生产及销售,同时向消费者提供围绕智能投影的配件产品及互联网增值服务。
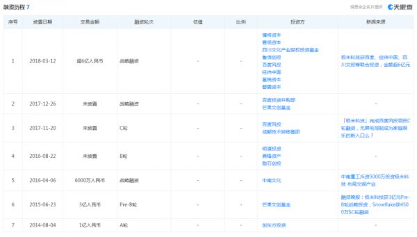
天眼查信息显示,极米科技在启动IPO之前进行了7轮融资,投资方不乏百度风投、芒果文创基金、经纬中国等知名投资方。然而,值得注意的是,极米科技最后一轮融资仍停留在2018年3月,距今已有近3年时间。

2020年5月,极米科技启动科创板IPO,计划发行不超过1250万股股份,发行后总股本不超过5000万股,拟募集资金12亿元,用于智能投影与激光电视系列产品研发升级及产业化项目、光机研发中心建设项目、企业信息化系统建设项目、补充流动资金。
上交所官网显示,极米科技科创板IPO在2020年5月8日获得受理,6月1日进入已问询状态,9月底获得上会通过。同年11月13日,极米科技向证监会提交注册申请。
然而,极米科技的上市之路并不顺遂,市场上曾有声音质疑极米科技的科创属性、专利问题及业务能力。
此外,极米科技还在近期收到证监会的警示函,原因系极米科技在申请首次公开发行股票并上市过程中,存在未按监管要求清理并披露相关对赌协议事项的情况。同时,证监会对中金公司以及保荐代表人赵言、黄钦出具警示函,系其未勤勉尽责督促发行人(极米科技)按照监管要求清理相关对赌协议并履行披露义务,未主动就对赌协议是否符合相关监管要求发表专项核查意见。
对此,极米科技在问询回复中表示,发行人股东之间的对赌条款符合相关要求,发行人与其全体发起人股东不存在其他形式的利益安排。极米科技称,发行人不作为对赌协议当事人;对赌协议不存在可能导致公司控制权变化的约定;对赌协议不与市值挂钩;对赌协议不存在严重影响发行人持续经营能力或者其他严重影响投资者权益的情形;对赌协议的权利人承诺遵守相关法律法规及监管规则关于对赌协议的相关规定。
《科创板首次公开发行股票注册管理办法(试行)》规定,中国证监会在20个工作日内对发行人的注册申请作出同意注册或者不予注册的决定。然而极米科技的注册申请直到2021年1月26日才生效,较正常流程迟到近2个月之久。
所获补贴占据利润较大比例,产品存销售降价风险
极米科技的主要产品及服务包括智能投影产品、投影相关配件及互联网增值服务。其中,智能投影产品主要包括智能微投系列、激光电视系列和创新产品系列。极米科技在招股书中表示,其专注于智能投影领域,构建了以整机、算法及软件系统为核心的战略发展模式。
在业绩方面,据披露,2017年、2018年、2019年、2020年上半年,极米科技营收分别为9.99亿元、16.59亿元、21.16亿元、11.44亿元;净利润分别为1449.38万元、951.72万元、9340.48万元、9729.96万元。预计2020年营收约为27.57亿元,同比增长30.27%;净利润约2.64亿元,同比增长182.92%;扣非净利润约2.46亿元,同比增长167.81%。
值得注意的是,2017-2019年极米科技获得的相关补贴分别占利润总额的49.95%、1884.85%、36.57%。若去除补贴,极米科技在2018年将产生巨额亏损。
在销量方面,2017年、2018年、2019年、2020年上半年,极米科技的智能投影产品销量分别为34.16万台、54.53万台、68.99万台、35.36万台。其中,2017年至2019年的年均复合增速为42.11%,实现快速增长。在市场占有率方面,据IDC数据显示,2018年、2019年、2020年上半年,极米科技在国内投影设备市场的出货量位居市场份额为13.2%、14.6%、22.2%。
随着销量增长,极米在业内也越发高调。在2016年3月的品牌战略发布会上,极米科技推出三款无屏电视H1、T1和T2,公司创始人兼CEO钟波叫板液晶电视称“五年后,无屏电视将颠覆传统电视”。
一年以后的2017年7月,极米又发布了三款激光无屏电视新品,包括120英寸4K双色激光无屏电视T1、100英寸1080P激光无屏电视A1 Pro和A1,钟波在发布会上不忘再谈“颠覆”,称“3年半,有可能我们就会完成颠覆目标”。
而至今,极米科技显然尚未完成其所谓的“颠覆”。资深产业经济观察家梁振鹏表示,钟波将投影机等同于电视属于混淆概念,投影机永远无法替代电视,“激光投影机亮度不够,与电视的画质、色彩、色域无法比拟,而且尺寸大了以后,屏幕颗粒感明显。投影机适用人群为年轻租房人群与商用人群。”
近年来中国投影设备市场发展迅速,消费级市场成为第一大细分市场。极米科技在招股书中坦承,众多现有大型公司、国内自主创新品牌公司在该领域的产品研发和渠道拓展方面的大量投入,加剧了市场竞争。
此外,极米科技表示,液晶平板电视的大屏化、技术成熟后硬件成本价格的下降将导致产品销售价格的下降,亦将对其产品的竞争力产生冲击。若未来其产品存在降价可能,根据公司敏感性分析结果,以2019年为基准,假设其他条件不变,当销售价格下降1%,对应净利润下降约22.66%。
因专利等问题遭起诉,出资2500万与光峰科技和解
早在2020年6月2日,科创板首批上市公司光峰科技便发布公告称,其控股子公司峰米科技就与极米科技的专利侵权纠纷向法院提起诉讼,认为极米科技旗下两款明星智能投影产品Z6和Z6X所采用的相关技术方案涉及侵权峰米科技所拥有的“高亮度激发方法及基于光波长转换的发光装置”技术专利。
彼时,极米科技刚刚进入IPO申请问询阶段,针对光峰科技的诉讼,极米迅速提起了反诉。
一个月后,光峰科技发布公告称,对极米科技的16项发明专利向国家知识产权局提出无效宣告请求。截至2020年7月27日,极米科技已收到10份《无效宣告请求受理通知书》,国家知识产权局对光峰科技提出的其中10项发明专利权之无效宣告请求准予受理。
峰米科技向天津市第三中级人民法院起诉,请求判令极米科技立即停止侵权行为,即停止制造、销售、许诺销售侵害涉案专利权的Z6系列型号投影仪,并立即销毁专用于制造被诉侵权产品的模具和设备,销毁库存侵权产品;请求判令极米视界天津第二分公司立即停止销售、许诺销售被诉侵权产品;请求判令两被告赔偿原告经济损失4500万元以及维权合理支出共计100万元,合计4600万元人民币;请求判令两被告承担本案的全部诉讼费用。
光峰科技与极米科技的诉讼车轮战经过几轮以后,最终以和解告终。2020年9月2日,光峰科技发布公告称双方已正式签订专利许可协议和战略合作协议。而和解的代价便是极米科技付出了真金白银。
光峰科技同意授权极米科技实施指定专利,极米科技分五年向公司支付专利许可使用费合计2500万元;极米科技将借助光峰科技研发技术力量研发其激光超短焦投影产品,优先从光峰科技采购一定金额的核心部件产品,战略合作期为5.5年,一次性支付NRE费用500万元。
极米科技在问询回复中称,极米科技与峰米科技及光峰科技于2020年8月31日签署《和解协议》、《战略合作协议》和《专利许可协议》。法院已裁定准许峰米科技撤回起诉。
除了专利问题,极米科技也曾多次因版权等问题被起诉。2020年7月14日,优酷起诉极米科技侵害作品信息网络传播权。而早在2018年,优酷就因版权侵权问题起诉过极米科技,此案最终以极米科技向优酷赔偿140万元告终。
研发费用率不足5%远低于同行,产品质量问题成投诉重灾区
而在专利问题背后,隐藏着极米科技的研发投入不足等问题。
据招股书披露,2017年、2018年、2019年和2020年上半年,极米科技的研发费用分别为3305.08万元、6300.17万元、8106.09万元和5164.57万元,占营业收入比例分别为3.31%、3.80%、3.83%和4.52%。而同期同行可比上市公司研发费用率均值分别为5.95%、5.94%、6.13%和7.15%,极米科技较可比同行的平均研发费用率相距甚远。
根据证监会发布的《科创属性评价指引(试行)》、《科创板企业发行上市申报及推荐暂行规定》,申请在科创板上市的公司需满足指标:最近3年研发投入占当期营业收入5%以上,或最近3年研发投入金额累计在6000万元以上。
按照累计研发投入计算,极米科技2017年至2019年累计研发费用为1.77亿元,超过科创板规定的6000万元。然而,极米科技未达到科创板“研发占比不少于主营业务收入5%”门槛。这也是市场质疑极米科技是否符合科创属性的原因。
针对这一质疑,极米科技曾对多家媒体回复称,从主营业务、研发投入、技术创新成果等方面,其与科创板的科创属性较为契合。
不过,仍有多名行业内人士对记者表示,极米科技正面临着核心技术匮乏的问题。
招股书信息显示,极米目前在境内外已获授权专利282项,包括16项发明专利、126项实用新型专利和140项外观设计专利,实用新型专利和外观设计专利的数量远高于发明专利。
极米科技在问询回复中称,其选择应用DLP技术方案,但同时亦形成了3LCD和LCOS技术储备;其光机技术来源包括自研光机和非自研光机,2017年和2018年,极米科技的光机均为非自研光机,2019年开始自研光机。而据招股书披露,极米科技2019年自研光机自主生产的占比仅有0.05%。
对企业而言,如果研发投入不足,很可能会严重影响产品的质量。
根据国家市场监督管理总局办公厅发布的《关于2019年童车等60种产品质量国家监督抽查情况的通报》,投影机品品类中“极米”投影机产品因投影光效不合格,被列入“2019年童车等60种产品质量国家监督抽查不合格产品及企业名单”榜单中。
此外,记者注意到,在黑猫投诉上,搜索“极米”会出现到近450条结果,关于极米科技的投诉数量近78条,产品质量问题是消费者投诉重灾区。
相关推荐
极米IPO申请过会背后:研发费用率不足5%、产品质量成投诉重灾区
IPO观察|玻尿酸龙头华熙生物冲刺科创板:研发投入不足5%,核心技术系花45万收购
光峰起诉极米,背后藏着IPO公关的这些知识点
钟波的IPO煎熬:极米站上被告席,“七寸”被掐?
玖富上市背后:收费投诉渐增 曾被范冰冰告上法庭
研发投入低于5%、规模不足竞品一半 ,拆解「嘉元科技」的高利润秘密
舒华体育IPO:增收不增利、研发投入不足3%,数字化转型后劲不足
蓄电池亏电引发“趴窝”,自主品牌成重灾区,你的车中招了吗?
极米科技完成科创板上市辅导:百度为最大外部投资方,汪涵亦为股东
快递黑马“极兔”,暗战双11
网址: 极米IPO申请过会背后:研发费用率不足5%、产品质量成投诉重灾区 http://www.xishuta.cn/newsview37975.html
推荐科技快讯
- 1问界商标转让释放信号:赛力斯 95792
- 2报告:抖音海外版下载量突破1 25736
- 3人类唯一的出路:变成人工智能 25175
- 4人类唯一的出路: 变成人工智 24611
- 5移动办公如何高效?谷歌研究了 24309
- 6华为 nova14深度评测: 13155
- 7滴滴出行被投诉价格操纵,网约 11888
- 82023年起,银行存取款迎来 10774
- 9五一来了,大数据杀熟又想来, 9794
- 10手机中存在一个监听开关,你关 9519
