B站凶猛:半年涨158%,不仅投资80+公司,还做起LP
编者按:本文来自微信公众号“投中网”(ID:China-Venture),作者:冯颖星,36氪经授权发布。
牛市从天而降。
中概股的表现早已领先。各路豪杰奋勇之下,众多中概股连创新高。然而,2020年表现最好的中概股,不是美团,不是拼多多,而是备受Z世代喜爱的“小破站”哔哩哔哩。截止2020年7月10日,哔哩哔哩累积涨幅达到158%,市值最高值167亿美元,距离B站董事长兼CEO的陈睿提出“百亿美金计划”不足10个月的时间,计划早已超额完成。
B站上市之初,外界多将B站成为“披着游戏外衣的视频公司”。这是因为在很长一段时间之内,B站的营收结构里游戏都占重要组成成分,最多时甚至游戏收入占据8成左右。而今,这一营收结构正在逐渐改善,投资,已是B站的制胜法宝之一。
B站投资局:已投资82家公司,游戏产业为主
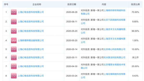
近日,二次元游戏公司哆祈哆祈(Access!)获得了B站的投资,投资比例达70%。投中网通过多种渠道追踪工商信息,发现这是B站在2020年投资的第7家公司,亦是第4家与游戏产业相关联的公司。除了Access!,另外三家分别为:掌派科技、千跃网络、绮心科技(即“米画师”)。
哆祈哆祈成立于2020年3月,到目前为止仅成立不到4个月。公司旗下有两款正在研发的产品《机动战姬:聚变》《斯露德THUDE》,均为二次元手游。虽然TapTap上有超过15万人预约《机动战姬:聚变》,不过自2018年启动以来,两年过去,该游戏仍未和玩家见面。

(B站2020年投资动态)
在这4家游戏相关的公司中,哆祈哆祈、掌派科技均为二次元手游研发商;千跃网络为网络游戏开发商;米画师则是与游戏相关的画师服务平台,解决游戏制作的美术绘画需求。
一直以来,游戏在B站的营收中,都是重要的增长极。自2018年3月B站上市伊始,游戏就在其营收中占据贡献值第一的位置。2年来,B站一直试图通过投资来改产自己的业务结构。天眼查工商追寻显示,自2013年7月开始,B站的公开投资事件已有82件。2013年的投资事件仅有天使投资二次元手机软件Manka一桩,时隔14个月后,再次投资游戏开发商艾米乐。转折点从陈睿加入B站开始。
2014年,在猎豹移动登录纽交所之前,曾是猎豹移动联合创始人的陈睿放弃了价值近1亿的期权,索性直接加入Bilibili。在陈睿的带领下的Bibibili,开启了资本布局与囊括四海并吞八荒之路。
在2014-2017年间,B站先后引进IDG资本、启明创投、掌趣科技、君联资本、腾讯、华人文化等资本的融资。并围绕自身业务线,投资了游戏、动漫、媒体等约46家公司。当前的B站,已经形成了囊括视频、直播和游戏多种业务的在线视频网站。
在这些投资中,亦分为两个阶段,2017年之前,以游戏、动漫、二次元为主,2017年后,则加大了动画制作、发行、媒体等业务的投资。按照细分领域划分的话,在这82件公开投资事件中,游戏占比最重,有近20家公司,覆盖游戏研发、制作、服务、发行。此外,近几年哔哩哔哩还投资了多家动漫内容公司。
市场信息显示,今年上半年哔哩哔哩又投资了4家与游戏相关的公司。不过,哔哩哔哩的营收结构开始趋向于多元化。除游戏之外,还包括广告、直播、会员和电商等。2020年一季度,哔哩哔哩实现总营收23亿元,同比增长68%,增速连续三个季度达到65%以上,主要得益于直播和电商收入的强劲增长。
对于B站的投资逻辑,B站负责游戏业务的副总裁张峰曾解释称,B站更看重文化属性重的公司。在这一点,与B站“为爱发电”的属性不谋而合。
市值破百亿,B站做LP
B站除却自己直投业务之外,此外还承担了LP的功能属性。工商信息显示,作为LP,B站还分别投资了苏州优格华欣(优格资本)与君联嘉志股权投资两支基金,投资比例分别为18.69%与7.99%。

(B站对外投资基金)
优格资本主要投向文化娱乐产业、教育、VR技术等行业,投资案例有在教育行业做VR内容的公司格如灵、VR游戏开发商威魔纪元等;君联嘉志则以君联资本为主要出资方(出资64.18%),B站出资1252万元,暂未检索到相关投资记录。
而今的B站,已经不是2009年为了给A站宕机而做备胎的“小破站”了。2018年3月28日B站在美上市之时,发行价为11.5美元,市值32亿美元。一年多后,陈睿提出“百亿市值计划”,并在接受媒体采访时表示,“长期来看,在中国低于100亿美金这个体量的内容平台都将被淘汰,一百亿美金意味着公司收入至少要100亿人民币一年。我提的不是一个‘目标’,而是我过不了这根线我会死。”彼时,B站市值仅有45亿美元。
这个“目标”提出不足一年,哔哩哔哩的市值犹如乘了火箭一般。2020年4月9日,B站宣布获得索尼4亿美金战略投资,索尼旗下有诸多游戏、动漫、音乐领域的知名IP,未来将与B站展开深入合作。这一利好消息,最终推动B站市值再度冲顶。2020年4月17日,哔哩哔哩股票收盘价29.00美元,市值100.2亿美元,终于实现了百亿美金市值,陈睿的“小目标”一举实现。两个月后,曾经的“小破站”已经成了市值达167亿的庞然大物。
股价累计涨幅超300%,或二次赴港上市
B站11年了,尽管“市值达百亿美金”的目标在正式提出后短短一年的时间即实现,但到底如何去定义B站依旧是一个至今很难去回答、甚至未来一段时间B站自己也很难作出解答的话题。站在投资方哔哩哔哩的角度来看,二次元社区、视频网站抑或是游戏公司目前都已无法去狭隘地定义B站。
毕竟,如何汇聚最多的Z时代、成为年轻人最集中的兴趣社区,才是B站希望达成的最终形态,这自然需要更多内容、业态和场景去支撑。这或也预示着,哔哩哔哩今年截至目前已投的四个项目:哆祈哆祈、千跃网络、掌派科技和米画师,某种程度上只是B站对外布局的野心。
此外,据路透社报道,两位知情人士称,在美上市3年后的哔哩哔哩或将赴港二次上市。哔哩哔哩已经与投资银行就二次上市的事初步磋商,计划赴港出售5%至10%股份,以集团目前市值约167亿美元(约1294亿港元)计,相当64.7亿至129.4亿港元的规模。
根据上市规则,以新制在港第二上市的公司,需在另一个符合条件的交易所至少有两个财政年度的良好监管合规纪录。截至2020年7月10日,哔哩哔哩股价为46.78美元,上市以来的累计涨幅超过300%。根据港交所第二上市的资格要求,哔哩哔哩刚好符合规则。
报道指出,由于磋商仍属起步阶段,目前仍未清楚公司集资额。对此,哔哩哔哩并未回应。
相关推荐
B站凶猛:半年涨158%,不仅投资80+公司,还做起LP
这一次,华为悄悄做起LP
B站凶猛:市值一夜大涨75亿
B站美股开盘涨6.18% 此前宣布获索尼4亿美元战略投资
都去 B 站做 UP 主了,然后呢?
我对B站的一点个人建议:不仅要“出圈”,也要“入圈”
索尼为什么要花 4 亿美金,去拉 B 站的手?
半年涨粉80万,我如何成为B站优质UP主 | 超级观点
腾讯「凶猛」
《后浪》刷爆朋友圈 B站周一股价涨5.53% 今年涨超42%
网址: B站凶猛:半年涨158%,不仅投资80+公司,还做起LP http://www.xishuta.cn/newsview26669.html
推荐科技快讯
- 1问界商标转让释放信号:赛力斯 95792
- 2报告:抖音海外版下载量突破1 25736
- 3人类唯一的出路:变成人工智能 25175
- 4人类唯一的出路: 变成人工智 24611
- 5移动办公如何高效?谷歌研究了 24309
- 6华为 nova14深度评测: 13155
- 7滴滴出行被投诉价格操纵,网约 11888
- 82023年起,银行存取款迎来 10774
- 9五一来了,大数据杀熟又想来, 9794
- 10手机中存在一个监听开关,你关 9519
