声网Agora计划赴美上市:实时云服务为开发者带来什么
原标题:独家 | 声网Agora计划赴美上市:实时云服务为开发者带来了什么?
据IPO早知道独家消息,云通信服务商声网Agora.io计划赴美上市,趣头条原CFO王静波已加入声网担任CFO并牵头上市事宜。
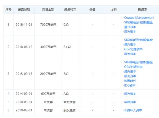
声网Agora.io由前YY语音CTO赵斌在硅谷创立,总部位于硅谷,在上海、北京、广州、班加罗尔、东京设有分布式协同团队。公司投资人中包括了全球科技股对冲基金Coatue Management、SIG海纳亚洲、晨兴资本、GGV纪源资本、IDG资本和顺为资本等。
来源:天眼查 自研RTC技术低成本解决实时音频互动
声网是目前全球唯一规模最大软件定义实时网,专为双向实时音视频互动而设计,所以其RTC技术是独创且领先的,低时延(只有毫秒级)、双向实时这些关键的对用户体验的改善几乎决定了企业对声网服务的采购决策。
声网成立6年来无全网事故,日均分钟数达到8亿。公司积累了为国内外许多巨头企业、流量平台服务的经验,在突增流量、高并发上有各种应急措施和紧急备案。在疫情期间,声网Agora.io 公布了其日均实时音视频通话分钟数达到15.6亿。
获得与运营商专线相近的质量,声网SD-RTN所需成本却大幅减少。Sprint提供的专线服务成本大概是600美元左右1Mbps,大概是人民币4000元。公共互联网1兆大概是专线1%的成本。无论是用户还是开发者,都会受益于此。
公司至今在全球200多个国家和地区拥有超过20亿的SDK安装量,服务了全球超20万开发者。
声网已经将最核心的RTC技术赋能到社交直播、教育、游戏、金融、医疗、企业协作等10余个行业,100余种应用场景。80%以上的社交泛娱乐企业和70%以上的在线教育企业均采用声网提供的实时音视频解决方案。吸引的稳定客户越多,公司的云平台的盈利能力越强,才越有可能把建立云平台投入的成本摊薄。
Agora云平台:API的信仰
声网在2016年将自己的实时云服务打包成一个极简API,成为了真正的PaaS服务商。原因在于开发者只需要30分钟集成Agora SDK,就可在应用内构建实时音视频互动等场景。
流量平台要实现与用户灵活的互动需要自己购买服务器、存储设备、数据库运行应用,需要工程师编写程序,启动后还需花费软硬件运维的成本,声网在解决这些成本的同时还提供了首创的技术。据测算,开发者直接集成这一SDK,比自研节省成本至少50%,缩短开发周期至少150天,同时还可获得7*24小时运维服务。
声网更注重强调PaaS层,作为“被集成者”为开发者服务,这意味着它会赋能开发者或纯SaaS厂商,帮助厂商打磨更好更适用其场景的产品。声网自己也有了不断扩大的PaaS生态,意味着其应用场景可以越来越多样。
Agora RTC开发者社区(来源:官网) 美股SaaS:投资者看中高确定性
美股中有全球最多的SaaS业务上市公司,投资者如何评判高价值的公司?
以2019年6月的情况做对比。2019年在美股牛市推动下,美股SaaS估值一度到达历史高位。Zoom(ZM.O)、云安全公司Zascaler(ZS.O)、身份识别与管理解决方案服务商Okta(OKTA.O)、生命科学SaaS服务商VeevaSystems(VEEV.N)、企业项目管理工具服务商Atlassian(TEAM.O)的EV/Revenue前瞻倍数(公司价值/未来12个月前瞻收入,美股SaaS主流估值方法之一)位列榜首,均超过20倍,其中Zoom前瞻倍数为44.1倍。
来源:红点中国 未来12个月收入是主观的预测,但前瞻倍数可说明资本市场和业务市场对公司前景的判断。
再看以上几家公司,它们除了有足够大的市场(无论是横向通吃的还是垂直的市场)以外,投资者还希望看到的是,SaaS服务商的产品能抓住的市场足够确定。留存率、复购率都是为了持续验证SaaS服务能锁定多少未来的收入。能够锁定的越多,估值越高。
Zoom的研发费用率10%在SaaS企业中不高,但在获取视频通讯市场的前期,Zoom很好地满足了一定量企业的高效沟通缺口,客群大部分是中小企业。这个时期收入有更大确定性,或者说客户对其产品有更大渴求为Zoom贡献了领先于其他企业的估值倍数。
从去年4月上市至美股5月28日(美东)收盘,Zoom股价涨幅148.93%。疫情期间,截至5月28日(美东)收盘的4个月内,其股价涨幅86.57%。(后台回复“招股书”获取2020年热门IPO公司招股书)
相关推荐
声网Agora计划赴美上市:实时云服务为开发者带来什么
全球实时互动云第一股上市,声网的下一步是「实时互联网」
专注实时音视频,「声网 Agora」为在线教育提供A+PaaS解决方案
“卖水者”声网市销率直逼Zoom,中国企业服务迎来春天?
声网发行首日收涨152.5%,“卖水者”们迎来春天?
IPO观察 | 全球云通讯大热,但声网Agora想要成为下一个Twilio的前路仍漫漫
声网赵斌:实时音视频将服务并改变每个人的生活
声网敲钟,雷军系“云”收获再下一城
Light Talk x 声网Agora:真正的机会都是远见者用极大的热情和耐心等来的
声网(API)上市首日股价翻番之后,你还需要关注哪些问题?
网址: 声网Agora计划赴美上市:实时云服务为开发者带来什么 http://www.xishuta.cn/newsview24223.html
推荐科技快讯
- 1问界商标转让释放信号:赛力斯 95792
- 2报告:抖音海外版下载量突破1 25736
- 3人类唯一的出路:变成人工智能 25175
- 4人类唯一的出路: 变成人工智 24611
- 5移动办公如何高效?谷歌研究了 24309
- 6华为 nova14深度评测: 13155
- 7滴滴出行被投诉价格操纵,网约 11888
- 82023年起,银行存取款迎来 10774
- 9五一来了,大数据杀熟又想来, 9794
- 10手机中存在一个监听开关,你关 9519
