新专利显示苹果AR头盔或智能眼镜或能自动解锁iPhone
编者按:本文来自腾讯科技,36氪经授权发布。

据外媒报道,苹果希望其用户能够更方便快捷地连续解锁多个设备,它最新申请的专利显示,苹果AR或VR头盔或智能眼镜的身份验证可以自动解锁用户在附近的其他设备。
当用户手头有多台设备时,他们遇到的问题之一是需要对每一台设备进行身份验证。例如,一个人可能不得不在一天内多次解锁iPhone、iPad、Apple Watch、Mac和其他计算设备。
虽然苹果试图减少访问一些设备所需的时间,比如让用户使用Face ID和Touch ID来身份验证,但这个过程仍然需要一些时间才能完成。苹果认为,解决这个问题的一个办法可能是“就近认证”,这是苹果此前就已提出的一个概念。如果用户的Apple Watch已经验证解锁,那么其在附近的Mac电脑也就可以自动解锁。
在美国专利商标局周四公布的一份题为“认证设备辅助用户认证”(Authenticated Device Assisted User Authentication)的专利申请中,苹果公司提议将这一想法扩展到其他设备中,从而允许用户已认证的设备自动解锁其附近的另一个设备。
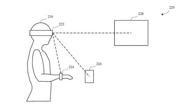
在苹果的专利中,经过认证的设备可能是“智能头盔”,如智能眼镜和AR或VR头盔。在用户手动解锁智能眼镜和AR或VR头盔后,智能眼镜和AR或VR头盔就可以自动解锁用户在附近的其他设备,从而让用户访问周围设备中的某些功能。

附近的设备,如iPhone或iPad,默认情况下可能处于锁定状态,通常在没有身份验证的情况下是无法访问的。用户佩戴的智能头盔可以对周围的锁定设备启动“就近认证”功能,从而确定用户的意图,并发送认证数据到锁定设备,以解锁它们。
根据锁定设备的配置,身份验证数据可用于解锁它,也可以用于在不解锁的情况下让用户使用有限的功能。
虽然远近距离和意图可以通过多种方式来确定,但苹果的专利建议让智能头盔使用图像传感器,这些传感器能够发现锁定的设备,并确定其相对于用户的位置,以便进行意图分析。意图分析可以通过使用其他传感器来实现,比如使用超宽带无线电。
根据其检测到的用户意图,智能头盔可能会向解锁的设备发送第二次身份验证信息,告诉它重新锁定。这样做可以防止设备超长时间处于解锁状态,从而帮助确保用户数据的安全,也有助于纠正这样的误判情况:智能头盔解锁了它认为用户可能会使用的锁定设备,但用户最终并没有使用该设备。
苹果每周都会提交大量的专利申请,尽管专利的存在表明了公司研发的兴趣领域,但它们并不保证未来会有使用这一概念的产品或服务出现。
此次的专利申请书中列出了它的发明者是弗莱彻-罗斯科普夫( Fletcher R. Rothkopf)、阿伦-哈图尼安(Arlen M. Hartounian)、格兰特-穆利肯(Grant H. Mulliken)和詹姆斯-范戴克(James W. VanDyke)。
苹果的AR和VR头盔传言已久,然而苹果一直没有推出这样的设备。但是,这并没有阻止这样的设备出现在苹果的许多不同的专利中,比如苹果在2月份申请的一项智能头盔专利,它不需要外部标记就能判断用户是否正在移动。
此外,苹果还有与隐藏式头盔摄像头、可拆卸耳机和全息成像等有关的专利申请。(腾讯科技审校/乐学)
相关推荐
新专利显示苹果AR头盔或智能眼镜或能自动解锁iPhone
苹果新专利:用AR头盔或智能眼镜就能自动解锁iPhone
苹果新专利曝光:智能眼镜或使用激光测距和智能手套
iPhone 12采用新的WiFi标准或是为了与苹果智能眼镜兼容
最前线 | 苹果AR眼镜要来了吗?
AR的杀手级设备是什么?苹果:没眼镜啥事 就是iPhone
下一个十年,AR眼镜取代不了智能手机
硅谷早知道第三季丨S3E36:泄密还是公关? 苹果预计 2020 年发布 AR 眼镜
深度揭秘苹果AR眼镜,狼来了
iOS代码再“泄密”:苹果仍在研发AR眼镜
网址: 新专利显示苹果AR头盔或智能眼镜或能自动解锁iPhone http://www.xishuta.cn/newsview18340.html
推荐科技快讯
- 1问界商标转让释放信号:赛力斯 95792
- 2报告:抖音海外版下载量突破1 25736
- 3人类唯一的出路:变成人工智能 25175
- 4人类唯一的出路: 变成人工智 24611
- 5移动办公如何高效?谷歌研究了 24309
- 6华为 nova14深度评测: 13155
- 7滴滴出行被投诉价格操纵,网约 11888
- 82023年起,银行存取款迎来 10774
- 9五一来了,大数据杀熟又想来, 9794
- 10手机中存在一个监听开关,你关 9519
