折叠屏iPhone时间点敲定?iPhone Air2、Air3完整路线图首次流出
哈喽,你好!我是原呵呵,点点关注吧,更多精彩内容等着你
有业内分析师近期根据供应链动向整理了一份报告,虽然没有得到苹果官方确认,但这类信息往往来自产业链内部,对未来产品方向具有一定参考价值。

报告显示,苹果未来几年准备推出多款全新的 iPhone,其中最受关注的莫过于传闻已久的可折叠机型,同时还有一款名为 iPhone Air 2 的新品出现在规划中。
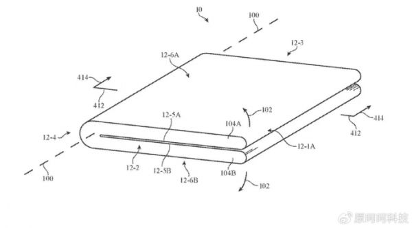
关于折叠屏 iPhone,这次的爆料给出了相当明确的时间点:苹果可能会在 2026 年下半年正式发布这款设备。

比较特别的是,这款折叠机似乎会放弃 Face ID,而改用一颗 2400 万像素的屏下前置镜头。参数中还出现了第二颗同规格的 2400 万像素自拍摄像头,外界普遍推测应当是为折叠外屏准备的。
至于后置相机,曝光的资料显示将采用 双 48MP 组合,其中包含超广角镜头,但并未配置长焦模组。对于 iPhone 来说,这样的相机规格算是偏基础,不过考虑到折叠机型对机身厚度和结构的严格限制,苹果做出精简设计也并不令人意外。
Air有什么
有消息称,苹果正在悄悄推进一条新的产品线,而“iPhone Air”正是其中的一部分。根据业内分析师最新整理的供应链动态,苹果似乎已经把这款主打“超薄设计”的机型当作长期规划来打造。

报告中不仅提到了 iPhone Air 2,甚至连 iPhone Air 3 的发布时间窗口也被提前曝光,显示苹果对这条产品线并没有因为市场反馈而退缩。
尽管近来不少讨论指出,初代 iPhone Air 的市场表现并不算亮眼,甚至被拿来与销量平平的 iPhone 16 Plus 相提并论,但这种反馈看起来似乎没有动摇苹果的方向。这家公司显然仍认为超薄机型有自己的受众与定位,因此没有考虑砍掉这个系列,而是按照原定节奏继续迭代。

根据这份分析师报告,苹果打算在 2026 年推出 iPhone Air 2,随后在 2027 年 接着发布 iPhone Air 3。也就是说,这条产品线会继续保持一年一更的节奏,与主线 iPhone 系列保持相对一致的更新频率。
相机规格方面,爆料内容显示第二代与第三代依旧会坚持 单颗 4800 万像素主摄 的方案。对于如今动辄三摄、四摄的旗舰手机来说,这样的配置确实不算豪华。

但从设计角度来看,iPhone Air 的重点本来就不在堆料,而是在维持机身极致纤薄的同时保持基本的成像表现。换句话说,苹果似乎选择继续为机身厚度让位,而不是在镜头模组上进一步扩展空间。
此外,报告还提到苹果会对 iPhone 18 系列的发布时间进行些许调整。此前偶尔传出的说法如今看起来更有根据:iPhone 18 家族中的 iPhone 18e 被推迟到 2027年才会登场,而其他常规款机型仍然会按照往年惯例,在2026年9月与公众见面。苹果显然是在重新调整自己的产品节奏,让各条线之间有更清晰的定位与区隔。

总体来看,如果这些信息属实,苹果未来几年的 iPhone 产品线将比现在更“多层次化”:折叠机走创新路线、Air 强调轻薄、主线继续稳打稳扎,而入门款则有可能被重新安排时间表。
这会让消费者在选择时拥有更细分化的选项,也显示苹果正在重新布局未来几年不同形态 iPhone 的位置。
喜欢本文的朋友记得打赏哦,也别忘了转发、点赞、评论和关注哦
发布于:广东
相关推荐
折叠屏iPhone时间点敲定?iPhone Air2、Air3完整路线图首次流出
苹果2027年规划曝光:iPhone Air 2续命成功,20周年版要干掉刘海?
折叠屏 iPhone 发布时间曝光,苹果急了?
折叠屏 iPhone 首次曝光,双屏模式来了
苹果第一款折叠屏,不是iPhone?
全面屏 iPhone、折叠屏 iPhone,哪个会先来?
折叠屏 iPhone,悬了?
折叠屏iPhone将采用屏下摄像头?灵动岛没了!
苹果首款折叠屏iPhone参数敲定,2026年或重塑市场格局
传苹果爆改iPhone发布节奏,首款折叠屏终于要来了
网址: 折叠屏iPhone时间点敲定?iPhone Air2、Air3完整路线图首次流出 http://www.xishuta.cn/newsview144483.html
推荐科技快讯
- 1问界商标转让释放信号:赛力斯 95792
- 2报告:抖音海外版下载量突破1 25736
- 3人类唯一的出路:变成人工智能 25175
- 4人类唯一的出路: 变成人工智 24611
- 5移动办公如何高效?谷歌研究了 24309
- 6华为 nova14深度评测: 13155
- 7滴滴出行被投诉价格操纵,网约 11888
- 82023年起,银行存取款迎来 10774
- 9五一来了,大数据杀熟又想来, 9794
- 10手机中存在一个监听开关,你关 9519
