特斯拉 Cybertruck 为什么没有雨刷?
编者按:本文来自微信公众号“TopMove”(ID:topmove2020),撰文:于本一 ,36氪经授权发布。
「喜欢的人疯狂膜拜,不喜欢的人连多看一眼都不会」,这可能是目前特斯拉产品中评论两极分化最严重的一款车型。但这一点都不影响它的销量,发布会后的 120 小时,Cybertruck 的预定量已经超过了 25 万,而且绝大多数都是高配车型。

Musk 发推「炫耀」Cybertruck 的预定量达到 25 万台 | Twitter 截图
哪怕是发布会上闹了乌龙,顶着两个赛博朋克风格裂纹一站到底的赛博卡车依然深得粉丝的追捧。对此 Musk 还专门发推炫耀说,「免费、花钱的广告我们都没做」,口气中掩饰不住对这台设计超前的皮卡产品的喜爱。但冷静下来再细瞅两眼,你可能会觉得 Cybertruck 就像是仓促中就被拽上了舞台。
Cybertruck 好像科幻的太狠,而缺少一些「量产装置」,例如转向灯、外后视镜等等。而且大家不觉得那面斜得有些过于笔直的风挡缺点什么东西吗?对!Cybertruck 连个雨刮器都没配,难道下点雨就要让Cybertruck 从科幻跌落到现实了?

特斯拉给出的 Cybertruck 内饰渲染图 | 官方供图
可能是听到了坊间的质疑,11 月 26 号特斯拉竟然公开了一项专利——「激光雨刮器」。它的目的是通过激光实现自动清理风挡灰尘的作用。是的!我绝对没有开玩笑!继为自动雨刮创造了一个新的神经网络「Deep Rain」之后,Musk 又开始考虑用激光取代雨刮这种传统的汽车设计了。
今年早些时候,特斯拉提交了一份专利申请,名称是「脉冲激光清晰车玻璃制品上的污渍和光伏发电组件」。舌头不利索的都能被这个名字唬住,简而言之就是可以用激光清洗汽车玻璃,只不过它的应用范围不只是风挡而已。


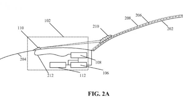
特斯拉「激光雨刷」专利图 | 官方文件
根据这项专利发明人,特斯拉专家 Phiroze Dalal 提供的介绍称,该专利涉及的清洁系统包括一套能够发射激光束的组件,它能够覆盖汽车玻璃的一定区域,探测电路能够监测在该区域是否聚集了灰尘,并根据结果对激光束发射器的参数进行自动调节,以保证其有充分的曝光量将灰尘处理干净。
从公开的专利图不难发现,该系统组件可能安装的位置是在车辆前备箱下方靠近前挡风玻璃的区域,前备箱上会设计两个出口,类似传统雨刮系统的出水口,只不过这里喷射的不是玻璃水而是激光罢了。


网友 Victor Tangermann 以及电动汽车媒体 Electrek 制作的假想图 | 网络
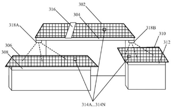
特斯拉官方还解释称,除了可以用作清理风挡上的灰尘外,它还可以自动清理掉那些影响到 Autopilot 系统摄像头视野的脏东西。此外,特斯拉还考虑将这套系统用于清理放置于屋顶的太阳能电池帆板。

除了用作清理汽车玻璃外,这套系统还可以用于清理太阳能电池帆板 | 官方文件
一般来说,包括特斯拉在内的很多汽车公司,每年都会提交若干技术专利,但绝大多数最终销声匿迹,并不会出现在量产车型上。从现有信息来看,给特斯拉车型装上这样的激光清理系统似乎不是件难事,但至于是否能替代传统的雨刮器,目前还没有任何实质性的定论。
所以,Cybertruck 因为坚硬的外部材料、过于抢眼的科幻设计、简洁的线条,甚至是最后「one more thing」环节出现的 Cyberquad ATV 全地形车完全打懵了观众的注意力,才会让大家完全忽略掉对一些常规设计的关注。
不管怎么说,Cybertruck 在营销上是史无前例的成功,成功赚到流量的同时也再次把皮卡粉丝这波消费者的钱包掏了个空。还有两年的时间,Cybertruck 还有时间进一步完善到量产状态。作为 Musk 口中自己迄今为止最喜欢的产品之一,希望最终下线时它真的是一辆酷到爆同时兼具实用性的纯电动皮卡。
所以,Cybertruck 到底为啥没有雨刮?Cybertruck 量产版会不会妥协?我们也「母鸡」呀!!!
相关推荐
特斯拉 Cybertruck 为什么没有雨刷?
硅谷早知道第三季丨S3E39:当马斯克把科幻战车变成现实,有人看到了当年乔布斯的样子
赛博朋克 + 皮卡 + 特斯拉 = 要上火星的 Cybertruck
特斯拉Cybertruck预订量据估计或达50万 加州贡献最大
特斯拉电动皮卡CyberTruck的预订量已经超过50万辆
为什么要坚持长线做多特斯拉?
为什么特斯拉Q2业绩能超预期?
特斯拉下一站——皮卡,赛博朋克
氪星晚报 | 特斯拉发布首款电动皮卡Cybertruck;微软获向华为软件出口许可;美团点评股价破100港元关口
焦点分析丨特斯拉的皮卡酷极了,但并不完美
网址: 特斯拉 Cybertruck 为什么没有雨刷? http://www.xishuta.cn/newsview13860.html
推荐科技快讯
- 1问界商标转让释放信号:赛力斯 95792
- 2报告:抖音海外版下载量突破1 25736
- 3人类唯一的出路:变成人工智能 25175
- 4人类唯一的出路: 变成人工智 24611
- 5移动办公如何高效?谷歌研究了 24309
- 6华为 nova14深度评测: 13155
- 7滴滴出行被投诉价格操纵,网约 11888
- 82023年起,银行存取款迎来 10774
- 9五一来了,大数据杀熟又想来, 9794
- 10手机中存在一个监听开关,你关 9519
