陪着P系列到Pura走过这么多年,我其实是有点激动的
来源: 时间:2025年06月06日 13:14
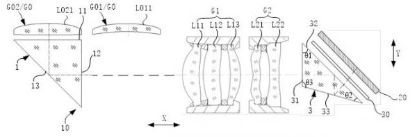
陪着P系列到Pura走过这么多年,我其实是有点激动的。可能大家不清楚这种#华为曝光一底双长焦专利#意味着什么。这是全球手机行业首次,把两个镜头集成到了一个模组中+共用一个CMOS大底+CMOS大底还斜置+用更大的传感器来接收光路信息。这里面的任何一个要素都有人做过有人提过,但是没有人能整合、没人敢这么做。为什么?因为贵、难、费力不讨好。这个被称为“一底双长焦”的影像方案大概率就是用在即将发布的华为Pura 80系列上了,而且是双长焦用,两个长焦的画质都会很好而且一致性更高,或达成史上最强长焦。移动影像王者的名号此刻都不重要了,王冠已天成。#曝Pura80最新长焦光路专利#






发布于:浙江
相关推荐
突然!华为官宣P系列品牌升级为Pura,重新定义移动影像
选华为Mate70系列还是等华为Pura 80系列?五点理由,望周知
从华为Mate60 Pro换到华为Pura 70 Pro,体验是变好,还是降低?
为什么劝大家选华为Mate70而不是等华为Pura 80?五点原因,望周知
面对“激动的大多数”,还可能找回事实吗?
看刚刚华为发布会,才在发布华为Pura 70 Ultra,有点恍惚
华为新机开卖,为何名字却从P换成了Pura?
双旗舰战略回归?华为Pura 70开售即热销
为啥华为Pura70系国产化率都这么高了,价格还是下不来?
华为Pura系列正式上市,技术到底哪里领先?为什么说是王者归来?
网址: 陪着P系列到Pura走过这么多年,我其实是有点激动的 http://www.xishuta.cn/newsview137004.html
推荐科技快讯
- 1问界商标转让释放信号:赛力斯 95792
- 2报告:抖音海外版下载量突破1 25736
- 3人类唯一的出路:变成人工智能 25175
- 4人类唯一的出路: 变成人工智 24611
- 5移动办公如何高效?谷歌研究了 24309
- 6华为 nova14深度评测: 13155
- 7滴滴出行被投诉价格操纵,网约 11888
- 82023年起,银行存取款迎来 10774
- 9五一来了,大数据杀熟又想来, 9794
- 10手机中存在一个监听开关,你关 9519
科技快讯热点排名
科技快讯热点
