苹果获折叠屏手机专利:采用外折设计、分段式铰链
来源:IT之家
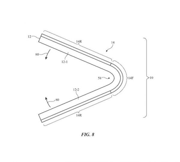
1 月 28 日消息,据 PatentlyApple 报道,今日美国专利商标局正式授予苹果一项专利,主要涉及一种“外折式”折叠屏智能手机设计,重点在于其分段式铰链结构。该专利还涵盖了具有可滚动和 / 或可滑动显示屏的智能手机设计。

IT之家注意到,根据专利描述,苹果的折叠屏设备采用柔性显示屏(如 OLED 屏幕),并由可折叠的设备外壳支撑。设备外壳的第一部分和第二部分通过铰链结构连接,柔性显示屏覆盖外壳的第一部分、铰链结构以及第二部分。铰链结构的设计包括齿轮、皮带等同步运动结构,以确保设备在折叠时显示屏的平滑弯曲。此外,铰链结构中的移动部件(如连杆)围绕虚拟枢轴点旋转,这些枢轴点位于铰链结构外部,有助于减少显示屏在弯曲时的应力,从而保护像素和其他脆弱层。
专利还提到,铰链结构可能包括滑动铰链销支撑板,以确保设备折叠时铰链部件能够平滑地围绕外壳的曲面移动。显示屏的弯曲部分在折叠时可以靠在铰链结构的外表面上,进一步提升设备的耐用性。
值得注意的是,尽管专利中主要描述了“外折式”设计,但苹果的折叠屏专利大多倾向于“内折式”设计。这意味着苹果未来可能推出多种折叠形式的设备,包括智能手机、平板电脑、笔记本电脑甚至电视等。此外,专利还提到可滑动和可滚动的显示屏设计,进一步扩展了苹果在可扩展显示设备领域的可能性。



相关推荐
苹果获折叠屏手机专利:采用外折设计、分段式铰链
苹果获折叠屏铰链设计专利,折叠屏iPhone最早2026年面世
折叠屏矩阵,华为手机的赤壁战
传音抢发概念机,苹果欲同台竞技,华为三折叠屏手机胜算几何?
苹果这个新专利,要让折叠屏iPhone能“落地成盒”
因屏幕未能通过测试,苹果折叠屏手机项目停摆,或跟铰链技术有关
最前线 |苹果折叠屏专利曝光:或解决可折叠屏折痕问题
折叠屏火拼,谁执牛耳?
折叠屏手机“出道”两年了,我还是买不起
华为手机的门面,全靠折叠屏撑着?
网址: 苹果获折叠屏手机专利:采用外折设计、分段式铰链 http://www.xishuta.cn/newsview132102.html
推荐科技快讯
- 1问界商标转让释放信号:赛力斯 95792
- 2报告:抖音海外版下载量突破1 25736
- 3人类唯一的出路:变成人工智能 25175
- 4人类唯一的出路: 变成人工智 24611
- 5移动办公如何高效?谷歌研究了 24309
- 6华为 nova14深度评测: 13155
- 7滴滴出行被投诉价格操纵,网约 11888
- 82023年起,银行存取款迎来 10774
- 9五一来了,大数据杀熟又想来, 9794
- 10手机中存在一个监听开关,你关 9519
