国内行业率先发布:南芯科技推出面向储能市场的80V高压双向升降压充电芯片SC8808
在新冠疫情流行并结束后,户外活动开始蓬勃发展,露营、自驾游等户外休闲方式的兴起进一步推动了户外电源需求的快速增长。作为全球主要的户外电源生产和消费国,我国出货量占全球的90%以上,储能市场规模前景非常广阔。

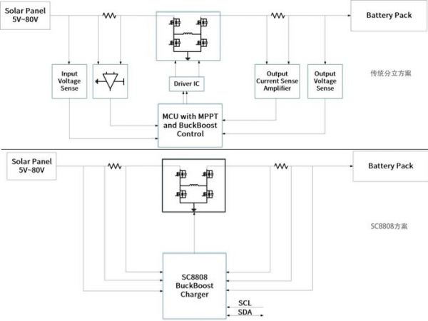
在储能市场常见的充电方案中,多数采用分立器件和 MCU 控制,系统开发周期长且外围电路复杂。南芯科技近期宣布推出面向储能市场的80V高效同步双向升降压充电芯片SC8808,该芯片具备超高集成设计,无需额外的驱动芯片和运放等组件,可实现高效且集成度超高的充放电系统。
南芯SC8808
高压支持,满足多种储能需求

SC8808是南芯最新推出的面向储能市场的新型充电芯片,这款芯片具备高效同步双向升降压功能,支持高达80V的充电电压,可为锂离子电池和磷酸铁锂电池组等储能应用提供出色的支持,其应用场景不仅局限于储能设备,还包括电动工具、电动自行车以及拓展坞等对高功率需求较大的设备。
灵活控制,精准调节

SC8808 具备4.5V至80V的宽输入电压范围和双向工作模式,在放电模式下可满足 PD3.1 EPR全范围输出标准。通过内部寄存器调压,芯片能够灵活输出5V至48V的电压,且支持 PPS 和 EPR AVS 标准。通过I2C接口,工程师可以简单设置芯片的充放电模式,并对充电电流、电压等多项参数进行精细调节。此外,芯片还支持输入限流和限压功能,能够适应不同电源保护需求,确保使用安全。
在大功率应用场景下,SC8808通过低至2mΩ的采样电阻,支持最高50A的充放电电流,并以±3%的充电电流精度和±0.5%的充电电压精度,确保电池的稳定性与寿命。
集成MPPT算法,优化光伏应用性能
这款芯片不仅支持通过 I2C 调节各项参数,还提供 standalone 离线配置功能,工程师可利用外部电阻设置输入和输出电流限制、充放电电压以及80kHz至480kHz的可调开关频率。此外,SC8808还集成了升降压控制和MPPT算法,尤其适用于光伏等户外电源应用,有效提升了终端产品的开发和调试效率。
高集成度,超高峰值效率,克服传统分立方案局限

传统分立方案与SC8808方案对比

SC8808方案实际应用展示
相较于传统分立控制方案,SC8808 可以帮助工程师搭建体积更小、成本更低的充放电系统。芯片高度集成的控制逻辑和算法使外围电路变得更加简洁,无需分立方案中的 MCU、驱动芯片、电压/电流运放、比较器等诸多器件就可以实现高效完善的充放电系统。
SC8808芯片集成了升降压控制和MPPT算法,同时配备11位高精度ADC,用于电压、电流和NTC热敏电阻的检测,实现对电池组温度的精准监控。内置的MPPT算法使其无需额外的MCU即可追踪太阳能板的最大功率点,具备丰富的调试接口和灵活的驱动配置。该芯片支持外部10V或内部VCC供电,可根据不同应用场景优化驱动损耗。单颗芯片即可实现高达1200W的功率输出,峰值效率高达98%。
全方位保护,多模式充电管理
SC8808支持在-40℃至125℃的温度范围内工作,具备全方位保护功能,包括输入过压、电池过压、输入过流等多项保护。相比数字方案,SC8808支持逐周期检测电流检测,能有效避免电流倒灌和电压失控,为储能系统的稳定运行提供保障。此外,芯片内置完善的电池充电管理机制,支持多种充电模式,有效提高了电池的寿命和安全性。
充电头网总结
南芯科技推出的SC8808充电芯片支持80V高压、双向升降压和多种保护机制,集成MPPT算法,可在光伏应用中实现高效的太阳能利用,并通过内置的精确电流与电压监测,提升电池系统的稳定性和寿命。相比传统的分立器件方案,这款芯片简化了外围电路设计,缩短了开发周期,大幅优化了成本与体积,可助力工程师更高效地构建可靠的储能充放电系统,满足了从储能设备到高功率工具等多种应用需求,展示出极高的灵活性和兼容性。
南芯科技现已建立起包含开关充电芯片、电荷泵充电芯片、线性充电芯片、无线充电芯片和 SoC 充电芯片在内的充电管理产品家族。其中,开关充电芯片提供升压、降压、升降压三种架构,可以对单节和多节电池进行充电和控制。新推出的 SC8808 进一步将输入电压提升至 80V,大幅提升可充电的电池组数量,为更多充电场景提供高效安全的支持与保护。
展会预告
上海南芯半导体科技股份有限公司参加充电头网主办的2025(春季)亚洲充电展,展位号位于A区A29,3月28日欢迎莅临展会现场交流、洽谈。
发布于:广东
相关推荐
国内行业率先发布:南芯科技推出面向储能市场的80V高压双向升降压充电芯片SC8808
亚洲充电展圆满落幕,水芯电子可重构数字电源方案备受关注!
需求爆发市场规模超万亿,一文梳理电化学储能产业链 | 行业观察
更低损耗,高效输出,南芯科技SC8002再获小米快充采用
高压快充激活碳化硅芯片市场,国内厂商大举分食产业链蛋糕
36氪首发 |「链宇科技」完成天使轮融资,打造全气候双向充电系统,将电动汽车变为储能单元
移动储能科技公司「EcoFlow」完成数千万元A+轮融资,将继续推进全球市场布局
国产芯片进一步渗透手机市场,这些手机均内置国产快充芯片
无线充电,又行了?
钛媒体科股早知道:行业巨头发布行业大模型产品,有望成为垂直GPT率先落地的场景
网址: 国内行业率先发布:南芯科技推出面向储能市场的80V高压双向升降压充电芯片SC8808 http://www.xishuta.cn/newsview129223.html
推荐科技快讯
- 1问界商标转让释放信号:赛力斯 95792
- 2报告:抖音海外版下载量突破1 25736
- 3人类唯一的出路:变成人工智能 25175
- 4人类唯一的出路: 变成人工智 24611
- 5移动办公如何高效?谷歌研究了 24309
- 6华为 nova14深度评测: 13155
- 7滴滴出行被投诉价格操纵,网约 11888
- 82023年起,银行存取款迎来 10774
- 9五一来了,大数据杀熟又想来, 9794
- 10手机中存在一个监听开关,你关 9519
