想象照进现实:苹果专利探索VR投影仪,未来家庭娱乐新选择
来源: 时间:2024年10月17日 09:51
【想象照进现实:#苹果专利探索VR投影仪#,未来家庭娱乐新选择】科技媒体 Patently Apple 于 10 月 15 日发布博文,报道称苹果公司获得了一项投影仪专利,用户不需要佩戴头显的情况下,能够在桌子、墙壁等表面显示混合增强现实(AR)和虚拟现实(VR)内容。
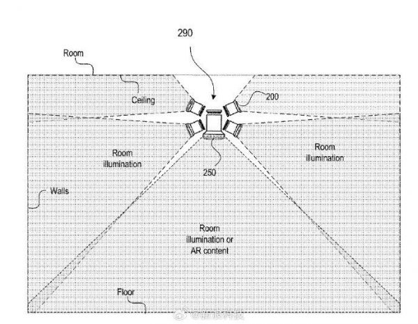
根据苹果公司专利描述,其构想的投影仪系统可以包括一个定制的灯泡,内置投影仪,能够将 AR 内容投射到桌面、墙壁及整个房间。
该投影仪可以显示低分辨率和高分辨率的内容,高分辨率内容可能包括操作系统界面、视频会议图像等,而低分辨率内容则可能是简单的情绪增强图像,如树影或动物图像,从而提供多样化的视觉体验。
该系统不仅提供房间照明,还能在地板、墙壁和天花板上投影高低分辨率的 AR 和虚拟现实(VR)图像。
该投影仪系统具备电动功能,能够自动调整方向,以便在不同表面上投影内容,智能地增强房间内的特定物体,结合投影内容,增强用户体验。(IT之家)






发布于:北京
相关推荐
想象照进现实:苹果专利探索VR投影仪,未来家庭娱乐新选择
突破屏幕的边界,AR/VR还能否将虚拟照进现实?
家用投影仪困在娱乐后方
家庭装修电视与投影仪如何选择
透过专利与收购,苹果到底要做什么样的AR/VR?
苹果 AR 投影仪新专利:可应用于 Mac,支持语音、手势隔空交互
苹果VR手套专利曝光,就长这样?
苹果VR/AR新专利:用神经网络模拟全身动作,让VR无线传输更快
苹果元宇宙发力泛娱乐,谁是最大受益者?
投影仪怎么还没取代电视?
网址: 想象照进现实:苹果专利探索VR投影仪,未来家庭娱乐新选择 http://www.xishuta.cn/newsview126771.html
推荐科技快讯
- 1问界商标转让释放信号:赛力斯 95792
- 2报告:抖音海外版下载量突破1 25736
- 3人类唯一的出路:变成人工智能 25175
- 4人类唯一的出路: 变成人工智 24611
- 5移动办公如何高效?谷歌研究了 24309
- 6华为 nova14深度评测: 13155
- 7滴滴出行被投诉价格操纵,网约 11888
- 82023年起,银行存取款迎来 10774
- 9五一来了,大数据杀熟又想来, 9794
- 10手机中存在一个监听开关,你关 9519
科技快讯热点排名
科技快讯热点
