通过尊湃通讯窃取华为芯片技术?小米公司辟谣
12月25日消息,近日,小米公司因为其参与投资的尊湃通讯科技(南京)有限公司因涉嫌非法获取华为公司芯片技术信息而多人被捕一事被推上了舆论的风口浪尖。
对此,12月24日,小米在官方微博发布《关于针对我司投资业务相关谣言的声明》称,近日有大量关于某芯片公司与小米相关的谣言和不实报道在网上流传。对于这些不负责任、完全失实的信息,小米已经完成取证并上报有关部门。
小米表示,小米集团旗下投资公司瀚星创业投资有限公司,于2022年参与某芯片公司融资,此举为正常得不能再正常的财务投资行为。作为该公司的众多股东之一,小米既不是最早的投资者,也不是投资规模最大的投资者,更不是在数轮融资中起主导地位的投资者。
同时,小米强调,其既不参与该芯片公司的直接管理和运营,更与该公司没有任何知识产权或技术合作。
尊湃通讯涉嫌非法获取华为芯片技术,14人被捕
据上海市公安局经济犯罪侦查总队官微此前披露的消息显示,近期,在公安部的指挥部署下,在江苏警方的大力配合下,上海警方成功侦破一起侵犯芯片技术商业秘密案,抓获犯罪嫌疑人14名,查扣存储侵权芯片技术的服务器7台。
经查,2021年2月,权利公司原高管张某、刘某等人为牟取非法利益,在离职后设立某科技公司,以支付高薪、股权利诱等方式,诱导多名原权利公司研发人员跳槽至其公司,并指使这些人员在离职前通过摘抄、截屏等方式非法获取权利公司芯片技术信息,抄袭并运用于张某公司设计的同类型芯片上,企图以此非法牟利。

经鉴定,侵权芯片技术有40个技术点与权利公司商业秘密的密点具有90%以上同一性,构成实质性相同。
今年4月19日,上海警方在江苏警方的大力配合下,在沪苏两地开展集中收网行动,成功抓获包括张某、刘某等人在内的14名涉案公司核心成员,在侵权芯片投入量产前及时予以查处。目前,张某、刘某等4名主要犯罪嫌疑人已因涉嫌侵犯商业秘密罪被警方依法执行逮捕,其余10名犯罪嫌疑人已被依法取保候审。
虽然上海市公安局经济犯罪侦查总队官微并未透露具体的相关公司信息,披露的图片也做了打码处理,但是根据事后相关媒体以及相关企业的官方的披露的图片来看,涉事公司正是尊湃通讯科技(南京)有限公司,被被侵犯的权利公司则是华为海思半导体。
以下为尊湃通讯融资时配图:
以下为华为海思芯片原图:
显然,从上图与官方披露的侵权芯片和权利公司芯片一致。
资料显示,尊湃通讯科技(南京)有限公司成立于2021年3月,注册于南京江北新区,上海尊湃通讯技术有限公司是其全资子公司,在北京、深圳、苏州还有分公司。尊湃通讯聚焦于Wi-Fi芯片,主要是Wi-Fi 6芯片,分别应用于路由器、网关(光猫/CABLE MODEM/DSL等)的AP(Access Point),手机、平板和电视等终端。
根据尊湃通讯公布的融资信息显示,在该公司成立2个月后,2021年5月,就完成由高榕资本领投、江北佳康科技跟投的近亿人民币天使轮融资;2022年5月,尊湃通讯超募完成数亿人民币Pre-A轮融资,由小米集团、湖杉资本、天际资本、嘉御资本等等投资方参与。
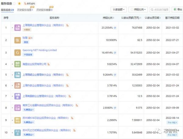
从股权结构来看,尊湃通讯的股权比较分散,最大股东为上海琨昊企业管理合伙企业(有限合伙),持股23.2554%;公司董事长兼总经理张琨为第二大股东,持股18.9069%;Gaorong NET Holding Limited为第三大股东,持股16.4914%;小米子公司瀚星创业投资有限公司为其第四大股东,持股9.8234%。

事情引发小米公司负面舆情
由于小米公司参与了对尊湃通讯的投诉,因此在事件发酵后,引发了网络上很多网友对于“小米可能通过该投资公司窃取华为芯片技术”的质疑。
值得注意的是,就在不久前的12月12日,小米公司还通过旗下官方微博@小米公司发言人 发布《关于余承东先生不实言论的声明》,怒怼华为常务董事、终端BG CEO、智能汽车解决方案BU董事长余承东,称其无端针对小米公司「龙骨转轴」技术发布不实言论(称小米的“龙骨转轴”技术抄袭华为“双旋水滴铰链”技术),与事实严重不符。
此事在近期也是引发了小米粉丝和华为粉丝在网上的评论战。上一波的舆情尚未平息,此次小米投资的尊湃通讯侵权华为海思事件,再度引爆了新的舆情,使得小米公司不得出面澄清。
小米公司声明全文如下:

编辑:芯智讯-浪客剑
发布于:广东
相关推荐
通过尊湃通讯窃取华为芯片技术?小米公司辟谣
华为申请冻结尊湃通讯9500万元财产
华为芯片技术遭窃取事件持续发酵,“弯道超车”造芯时代已经结束|硅基世界
36氪首发 |「尊湃通讯」完成数亿人民币Pre-A轮融资,致力于提供全系列Wi-Fi芯片及解决方案
华为芯片技术被偷,汉奸是谁?
小米称华为芯片侵权案与自己有关,已完成取证并上报有关部门
国内芯片公司侵权 40项技术相似度超90%:14人被抓
别被带节奏!华为辟谣“可堆叠芯片”技术,14nm变不成7nm!
【硬科技周报】第19周:钙钛矿企业“协鑫光电”获数亿元B轮融资,重工业碳捕手“Carbon Clean”获1.5亿美元C轮融资
小米入股新湃传媒,后者为《陈情令》制片公司
网址: 通过尊湃通讯窃取华为芯片技术?小米公司辟谣 http://www.xishuta.cn/newsview102968.html
推荐科技快讯
- 1问界商标转让释放信号:赛力斯 95792
- 2报告:抖音海外版下载量突破1 25736
- 3人类唯一的出路:变成人工智能 25175
- 4人类唯一的出路: 变成人工智 24611
- 5移动办公如何高效?谷歌研究了 24309
- 6华为 nova14深度评测: 13155
- 7滴滴出行被投诉价格操纵,网约 11888
- 82023年起,银行存取款迎来 10774
- 9五一来了,大数据杀熟又想来, 9794
- 10手机中存在一个监听开关,你关 9519
