苹果 Vision Pro 头显新专利:佩戴者可联机游戏
IT之家 12 月 2 日消息,根据美国商标和专利局(USPTO)公示的清单,苹果公司获得了一项 Vision Pro 头显的技术专利,可以联动多台头显,从而构建卓越的联机体验。

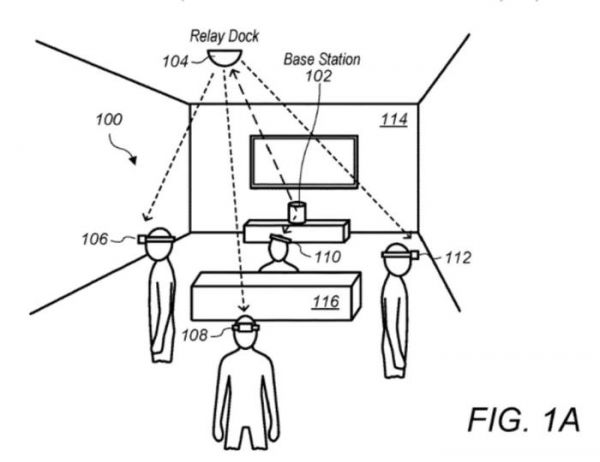
这项技术专利名称为《基于位置信息定向波形成的中继坞站和基站》,IT之家附上专利设计草图如下,可以看到每台 Vision Pro 头显配备天线阵列,可以发送和接收定向波信号,和中继坞站和基站进行通信。
天线阵列和内置传感器可以追踪 Vision Pro 头显的位置和动作,让佩戴者在虚拟现实和增强现实环境中相互交互,在游戏场景下避免互相撞击的情况下,可以实现联机体验。

以下是苹果公司的专利摘要:
无线通信系统包括一个基站和一个或多个继电器对接,并使用高频波(如毫米波)在组件之间传输定向波信号。
波束形成决策引擎利用从用户设备的一个或多个位置或运动传感器收集的位置信息来确定形成在无线通信系统组件之间传输的定向波信号的方向。
发布于:山东
相关推荐
苹果新 Vision Pro 液态透镜专利获批:要解决头显眼镜夹片痛点
库克看好 Vision Pro 头显前景,称佩戴者会感受到“顿悟时刻”
苹果指套设备专利获批:配合 Vision Pro 头显实现人机交互
苹果Vision Pro头显开启新“iPhone时刻”,一大批科技巨头坐不住了
Oculus 创始人支持苹果 Vision Pro 头显外置电池方案
Vision Pro 太贵,苹果基于 iPhone 的 VR 头显专利曝光
苹果Vision Pro,救星还是流星?
消息称苹果 Vision Pro 头显约重 454 克,配有顶带用于分担重量
NBA 赛事直播确认将引入苹果 Vision Pro 头显
MOMAX 摩米士宣布为苹果 Vision Pro 头显开发专用外接电池配件
网址: 苹果 Vision Pro 头显新专利:佩戴者可联机游戏 http://www.xishuta.cn/newsview100128.html
推荐科技快讯
- 1问界商标转让释放信号:赛力斯 95792
- 2报告:抖音海外版下载量突破1 25736
- 3人类唯一的出路:变成人工智能 25175
- 4人类唯一的出路: 变成人工智 24611
- 5移动办公如何高效?谷歌研究了 24309
- 6华为 nova14深度评测: 13155
- 7滴滴出行被投诉价格操纵,网约 11888
- 82023年起,银行存取款迎来 10774
- 9五一来了,大数据杀熟又想来, 9794
- 10手机中存在一个监听开关,你关 9519
